汽车用日光灯变换器
图示电路为一个汽车用日光灯变换器,由汽车12V电瓶为40W日光灯供电。

集成电路4047产生两个25kHz互补方波,经两对互补晶体管去激励并联的V5和V6。C7和C8用来抑制电压尖峰。由C6、变压器T1的匝数比、铁芯气隙和电感L1来控制日光灯电流,对它们加以适当调整,就能满足不同日光灯的要求。VR1用来调整工作频率。如果运用得当,电流大约为4A。
L1的铁氧体磁棒为φ9.5mm、长50mm,用φ1.5mm线绕11匝。T1初级共12匝(有中心抽头),次级绕组76匝,用φ0.75mm线分3层绕制,铁芯是FX2243,有0.4mm空气隙。(郝相孟 编译)
温度传感器与DVM的接口
图为标准的半导体温度传感器与DVM(数字电压表)之间的接口电路。DVM直接指出传感器温度的摄氏度数。

温度传感器IC1输出标称值为绝对温标每度1μA,用VR1和R1转换成绝对温度每度10mV。IC2中的主运放接成电压跟随器,以隔离R1上的传感器电压。IC2的第二个放大器将内部参考电压0.2V放大到2.73V,用来补偿273K与0℃的差异。电路的输出电压是两个运放输出之差,因而每℃等于0.01V。
温度传感器IC1可安装上一个温度探针,适于-55~+150℃之间工作。
校准方法是把探针插入沸水里(保证水不能浸入连接线),调节VR1使IC2的6脚对地电压为3.73V。再把DVM接到电路的输出端,然后调节调零电位器VR2使DVW指示到1.00V。本电路消耗电流约为0.75mA。
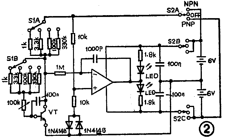
一种新颖的直读式h\(_{FE}\)测试器
图1中晶体管基极偏置取自集电极电压,调整偏置电阻R\(_{b}\)使VL= V\(_{cb}\),经推证可得出hFE=R\(_{b}\)/Rc。

图2是根据上述原理设计的h\(_{FE}\)测试电路。运放用来检测VL=V\(_{cb}\)。当调节Rb(100kΩ电位器),刚好使一个发光二极管亮而另一个不亮时,即表示V\(_{L}\)=Vcb条件已满足。二极管用来补偿被测晶体管V\(_{be}\),S1用来变换hFE的测量范围,共4档:30、100、300、1000。 R\(_{b}\)可用数字万用表欧姆档校准,也可采用带度盘的十圈电位器或十进电阻箱。三极管及运放电路中的电容器是防干扰元件,安装时应使用屏蔽线而避免交流干扰。(石青峰 编译)
