NE5532和NE5535均是美国Signetics公司生产的低噪声高速率运放IC,在Hi—Fi圈内极负盛名。许多高级音响设备都选用它们,性能极好,主观音质评价极佳,音质纯真通透,久已脍灸人口。NE5535的独到之处是其输出电路为NPN-PNP全对称互补结构,有一定的静态偏置。内电路更简洁,比已出名的NE5534(单运放)更佳。
无论是CD唱盘、卡式座、Hi-Fi录象机、前后级放大器等音响设备中的双运放均可用它们代换。代换后音质会有显著改善。曾有人把飞利浦CD-472激光唱盘里的运放集成电路LM853换成NE5532或NE5535后,欣赏弦乐时声音更加清澈。下面本文向大家介绍一些应用实例。
一、磁头放大器 电路如图1所示,由于两声道电路一样,所以只给出一个声道的电路。

由于采用了NE5532或NE5535,其音色很美,特别是高音区的清晰度,层次感令人难忘,这就是其高转换速率的功劳所在。
磁头放大器电源还可以用松下公司研制的高性能“有源伺服电源”,如图2所示,它的性能比其它稳压电路好。能使放大器增添光彩。

二、电磁式唱头均衡放大器 在图1中把反馈网络换成如图3所示的唱机RIAA均衡网络即可(也可采用有源伺服电源供电)。聆听密纹唱片节目时,表现极佳能够听出第一小提琴和第二小提琴的声音。中提琴和低音大提琴的和声格外动人,听后回味无穷,的确不是一般运放IC所能及,密纹唱片的高保真性能被表现得淋漓尽致。

三、线路放大器 该电路增益设计为10倍(20dB),把图1电路中的反馈网络换成图4电路,并把CZ换成250pF即可。由于选用NE5532或NE5535,大动态时无削顶失真。细腻处晶莹剔透。只要信号源上乘,便可甩掉线路放大器后的图示均衡器而直驳功放,资深的玩家常乐于此道。

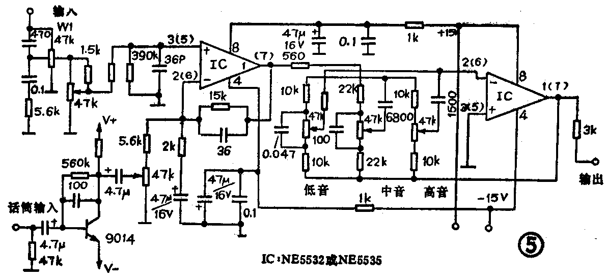
四、音调控制器 电路如图5所示(只画出一个声道),这是一种十分典型、成熟的音调电路。由等响度补偿、音量控制、预放大,平衡控制、高、中、低负反馈式音调电路等构成。由于使用了NE5532或NE5535,本机的动态范围、瞬态性能和控制效果达到了相当高的水平。

五、图示均衡器 电路如图6所示(只画出一个声道)在通常用TL082构成的图示均衡器中只要把主放大器A和模拟电感(Z)中谐振频率大于10kHz的集成块换成NE5532或NE5535,其它模拟电感仍用TL082,其音质便立即得到改善,提升高音时一点不毛,层次更丰富,定位更准确,值得一试。当然,全部换用NE5532或NE5535更好。

最后指出,究竟是用NE5532还是用NE5535这要看信号源、音箱等的级别,高级器材选NE5535较佳,中档器材选NE5532即可。
综上所述,有两种方案均可获得功能完整的高级前置放大器,方案A:采用电磁唱头均衡器加四位输入转换开关接入图5,由图2电路供电。方案B:采用电磁唱头均衡经三位输入转换开关接入20 dB(10倍)线路放大器再接入图6均衡器,亦采用图2电路供电。两种高级前置放大器均可推动任何功率放大器,效果极佳。(陈启新)