TA7698/TA7699P是日本东芝公司1983年研制的大规模电视集成电路,它的主要功能有视频放大、色信号解码和行、场振荡、激励等。由于其外围元件少,可靠性高,在日本已为东芝、胜利、日立、夏普和日电等公司广泛采用,而且也被推荐为国产两片机的优选电路。
TA7698与TA7699P的主要区别是对比度增益变化范围不同,前者为40dB,后者为14dB,而解调色差输出是后者比前者略低一些。这两种产品的改进型号TA7698AP和TA7699AP还适用于SECAM制式。下面介绍TA7698/TA7699P损坏后的两种修复方法。
1.无光、无声
碰到这种故障先检查电源电路和行扫描电路。在确定这两个电路无异常后,应重点检查行电路的120V供电电压。如果发现该电压下降到50V以下,而且行电流也明显上升,可断开其,若此时电视机有声光出现,并伴随有不同步的图象,便可断定是TA7698/TA7699P损坏。与这一故障现象有关的电路参见图1,它给出了脚所接的局部电路。此电路是采用锯齿波的AFC电路,把同步信号与经整形后的回扫脉冲作比较,用其相位差来控制行振荡电路工作。如果用万用表测试电位,发现此电位已降到0.5V以下(正常值为4.6V),就可以肯定是内部出现了开路故障。应急修理方法:断开与外围电路的连线,在与之间接一个图2所示的简易AFC控制电路,适当调整电路中的电位器W(15kΩ),使行频同步。这样,便可获得很好的光声象效果。


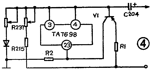
2.亮度失控并伴有满屏回扫线
这种故障应首先检查亮度通道,这部分电路如图3所示。检修时,先测试集成电路脚电位,若此电位为零伏(正常时为6.6V),则说明该集成电路内的视频电路有问题。应急修理方法:断开集成电路的③脚、④脚、脚与外围电路的连线,然后再按图4所示的电路接一个简易电平——视频放大电路。图中放大管BG1可选用PNP型硅高频小功率三极管3CG21,其电流放大倍数为100~150,R1选360Ω,R2为1.5kΩ。为了保证晶体管有合适的偏置,应将与亮度控制电位器R257相串联的电阻R215由8.2kΩ改成3.9kΩ,或者在R257上并联一只6.8kΩ的电阻。(高雨春)

