现在市场上出售各种各样的指针式石英电子闹钟,它们造型美观、走时准确、耗电省,深受消费者的欢迎。但也发现有的石英电子闹钟存在一些缺点,如闹点时闹声太轻,而且止闹不方便(要打开后盖)等,为此,本文介绍改进的方法,即在不更动走时系统的基础上,只稍动一下钟内的闹点电路,并安装一个附属装置,就可克服上述缺点。
附属装置能放大响闹声。石英钟响闹后只要在本装置前(300mm左右的范围内)挥挥手,石英钟立刻停止响闹,隔1分钟后又会响闹,再挥手它再一次停闹,直至该电路停止工作。
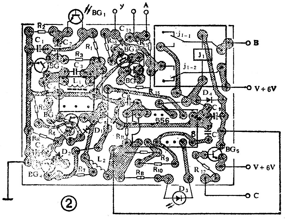
本装置的电路见图1。当电子钟走到响闹时刻,原机芯中的闹点触点K\(_{1}\)闭合(该触点接通约2分钟),BG5有基极电流且I\(_{b}\)>Ics/β,BG\(_{5}\)饱和,本电路开始工作,IC1(1/2 556)的⑤脚输出低电平(常态),继电器J\(_{1}\)吸合,j1-1J\(_{1}\)-2触点闭合,机芯中的IC的闹点音乐电路工作,闹点音乐信号经BG6、BG\(_{7}\)的放大推动扬声器发出响亮的闹声。由D3、BG\(_{1}\)组成反射式红外线光电探测头。1/2 556、R9、R\(_{1}\)0、C7组成一个频率为38kHz的振荡器,556的⑨脚输出一个38kHz的方波,使D\(_{3}\)发射出被38kHz调制的红外线。当手靠近该光电探测头时,从手表面反射回来的红外线被BG1接收放大,经BG\(_{2}\)的选频,使BG3的U\(_{c}\)上升,BG4由截止变为饱和,输出一个低电平,触发由1/2 556、R\(_{11}\)、C8组成的单稳态电路,使IC\(_{1}\)的⑤脚输出高电平(暂态),继电器J1释放,触点j\(_{1}\)-1j1-2断开,Y停止响闹。本单稳态的暂态时间约70秒,即挥手停闹后1分钟还会再一次响闹,再挥手它再次停闹直至K\(_{1}\)断开,电路停止工作。K1断开后,BG\(_{5}\)的Ib为零,流过c、e的电流即整个电路的电流仅仅是I\(_{ceo}\),由于BG5是硅管,它的I\(_{ceo}\)极小,所以平时该电路不消耗电能。


本电路中的IC\(_{1}\)采用双极型556集成电路(见图4),或者用两块NE555集成块。红外发光管用HG411型(见图5),BG1采用3DU5C型光敏三极管(见图6),如果用红外对管中的光敏二极管还需加一级放大。BG\(_{2}\)、BG3、BG\(_{4}\)、BG6如换用其他管子时应注意β≥120,BG\(_{5}\)要求采用硅管ICM≥500mA,β≥150,BG\(_{7}\)要求ICM≥200mA。继电器用JZC-21F/006型或其他工作电压为6V的小型继电器。L\(_{2}\)在1/8W电阻上用φ0.08mm漆包线绕60匝,L1在TTF-2型中频变压器的磁芯上用φ0.07mm漆包线绕400匝,并加上原磁帽,屏蔽壳,也可用电感量为5mH左右的成品电感。



本电路要安装好反射式红外线光电探测头,发光管D\(_{3}\)与受光管BG1置于同一方,平时受光管接收不到D\(_{3}\)发射的调制红外线,其他杂散的光线由于接收电路有选频作用,不会窜入,只有遇到反射物时才能接收到D3发射的调制红外线。找一块黑胶木块或其他不透光的长方体,钻两个φ6.5mm的孔,一个放置发光管,另一个放置光敏三极管,尺寸如图3所示。电路调试时先短接BG\(_{5}\)的c、e极,断开D3这时BG\(_{2}\)的UC为6V,BG\(_{3}\)的UC≤0.1V,继电器J吸合,否则应检查电路有否装错或元件是否合乎要求,然后接上D\(_{3}\),在探头前放一个物体,此时BG3的U\(_{C}\)在0.7V左右,继电器J释放,过1分钟后再吸合。再仔细调节R10或L\(_{1}\)、C4使该探头有一定的灵敏度,一般在探头前300mm左右,挥手能动作就可以了,灵敏度太高容易发生误动作。如单稳态的时间不够长可增大R\(_{11}\)或增大C8的容量,C\(_{8}\)的漏电流应选小一些为宜。最后断开短接BG5管c、e极的线,打开电子钟的机芯盖,虽然机芯有各种形式但大同小异,找出闹点触点K\(_{1}\)和闹点音乐输出晶体三极管的c极,在图1打“×”处划开印板电路,焊出四条线,从后盖的孔中穿出接上电路。把本装置放在指针式石英闹钟旁,见图7,这样一个挥手即停闹的电子钟就制成了。(周富发)

