一台苏联24英寸彩色电视机,彩色制式为SECAM制,黑白制式与我国的相同,所用的电源是220V,因此,只要将此电视机的色解码电路作些改动,使它能适应PAL制,就能正常收看。
一、电路分析
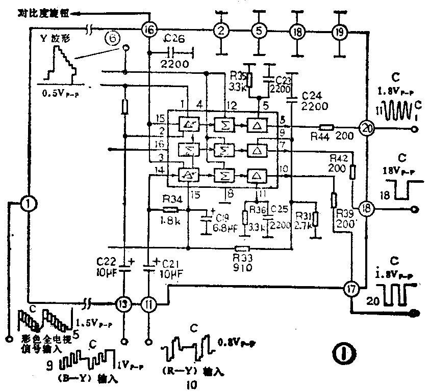
先看原机的色解码矩阵电路,如图1所示,从各点的波形可以看出,从亮度通道输出的亮度信号(见波形6)与从SECAM解调后输出的(R-Y)、(B-Y)色差信号(见波形10和波形9)共同在矩阵集成电路内混合,即可解出R、G、B三基色信号。由于原机的解码矩阵板只需要两个色差信号(由、脚送入)就可以重显彩色,因此,设想用PAL制解码电路解出的色差信号(控制其波形的幅度符合矩阵电路的需要)送入到解码矩阵板的输入端(、脚),就可以接收PAL制彩色电视信号。根据图1所示的色差信号的极性,觉得采用我国彩电中常用的由集成电路TA7193组成的PAL解码电路比较合适,这样可充分地利用原机电路上的各种信号。另外,原机的色差信号采用的是隔直输入(隔直电容为C22、C21),它的优点是在改制后不影响亮度通道和视放电路的直流工作点。

二、安装与调试
AT7193解码电路上的各元器件参数的选择请参照图2,印制电路板请参照图3。这块解码电路板共有6个接口需要与原机连接。
1.彩色全电信号的输入:在原机亮度电路的输入端,即解码矩阵板的①脚处接引线,可接收到1.5V的彩色全电视信号(电视机接收彩条信号时),这与PAL解码板所需的1.3V的输入信号极性一致,幅度接近。
2.行同步信号:原机的同步分离管为VT1,在其电路的输出端(即电阻R5和R2的连接点),可接收到幅度为5V\(_{p}\)-p的行同步信号。PAL板所需的行同步信号幅度为5~8Vp-p,原机的信号符合这一要求,可用导线直接引用。
3.行反峰脉冲:此信号可从原机的行输出变压器④脚取出,然后用电阻进行分压,使脉冲幅度为5V\(_{p}\)-p,具体电路连接见图4。

4.副色饱和度控制:将此控制端与对比度控制联动,即使对比度与色饱和度同时加强或减弱。原机的对比度控制为直流电压控制,但控制的范围(电压)比副色饱和控制范围小一点。在改制中,可将副色饱和控制端与原机的对比度电位器中点相接。
5.12V电源及接地:原机的12V电源为单独整流输出,带负载能力较强,PAL板工作电流为60mA,因此,PAL板接入电路后对整机基本上无影响,在改制中,可根据PAL板的安装位置就近连接电源及接地点。
6.(R-Y)、(R-Y)信号的输入:断开原机的两个色差信号的输入,将PAL板上的两个色差信号接入到原机的解码矩阵板的脚、脚即可。如果在此信号接口上装一个切换开关,此电视机就可以接收SECAM和PAL两种制式的电视信号。切换开关的连接如图5所示,开关可装在原机的消音开关的位置,在电视机前面板的右下角上,此消音开关用途不大,因此可拆去不用。

检查电路连接无误,将切换开关置PAL制一侧,即可开机调试。
首先接入彩条信号,将亮度、对比度、色饱和度旋钮均置于最大位置,再转动PAL板上的色饱和度电位器,使屏幕上出现的彩条色彩鲜艳。若色饱和度过大,则白条变暗,此时应微调电位器,使白条正常。由于两块解码电路上的各信号波形的幅度比较接近,因此,整个调试比较简单。
由于原机的电路板采用垂直安装,并且机内的电路板也比较多,因此,将PAL板安装在预选器后边较为合适,具体位置如图6所示,用2.5cm×8cm的铁板对折成4cm长的直角,一边固定PAL板,一边与机内固定垂直电路板的金属凹板固定。

整个电路安装完毕,微调各旋钮,实际观看效果满意,即改制完成。(蒙文禄)

