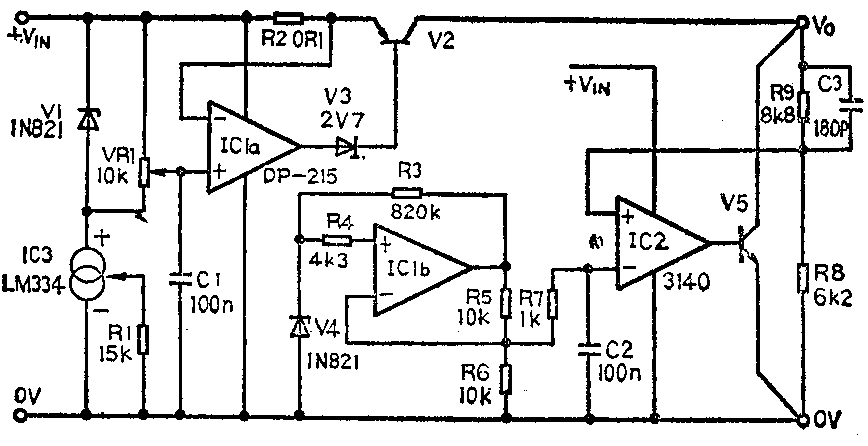
高性能稳压器
图中示出一个配合开关型电源进行工作的线性稳压器。图中稳压管V1及恒流源IC3为ICla提供一个稳定的参考电压,ICla是结型场效应运算放大器,它具有较宽的输入电压范围,一般电源变化上限不会超出这个范围。同时运放会滤掉高频脉动和瞬变电压。

ICla是误差信号放大器,控制V2使R2两端电压恒定,因此通过R2和V2的电流也保持恒定。IC1b为IC2提供一个稳定的参考电压,IC2是误差信号放大器,控制V5。IC2和V5组成一个并联型稳压器,稳定输出电压V\(_{0}\)。(石青峰编译)
NE564的两种用法
NE564集成电路是由美国德克萨斯公司生产的一个多功能高性能,可工作到50MHz的锁相环路。下边介绍两种典型用法:
1.锁相解调器,电路如图1所示。从A端输入调频信号,从B端输出被解调的音频信号。解调线性度好,灵敏度高且易调试。电路中C1和C2为输入信号耦合电容,C3、C4、R3和R4用来消除寄生调制,C5和C6为频率调节,电位器W用来调节输出信号幅度。本电路元件参数,可根据实际工作信号频率来选定。

2.在频率合成中作频率步进电路,如图2所示。电路中V1和V2为变容二极管,作调节频率变换用。V1、V2、C\(^{*}\)和变容管调谐电压-V*以及分频次数n,根据工作频率和其它设计指标来选择。A端输入RF信号,B端输出信号。(阮殿清)

指引信号鉴别器
图示电路为无绳电话座机中,由集成电路BA567(音调译码器/锁相环)构成的指引信号鉴别器。BA567具有稳定度高、抗干扰性强和驱动负载能力强等优点。

当A端无信号输入时,B端输出为高电位。当手机打开发射信号时,座机接收信号。这时A端有信号输入,则B端输出为零电位。因此,通过手机的发、停状态来控制电话座机的工作状态。(阮殿清)