本文向大家介绍一种不但适合业余爱好者使用而且也适合音响厂家生产配套产品的大功率混合集成电路SHMll00Ⅱ。
该集成电路由于采用了特殊的工艺和电路结构,输出功率较大,可达100W。
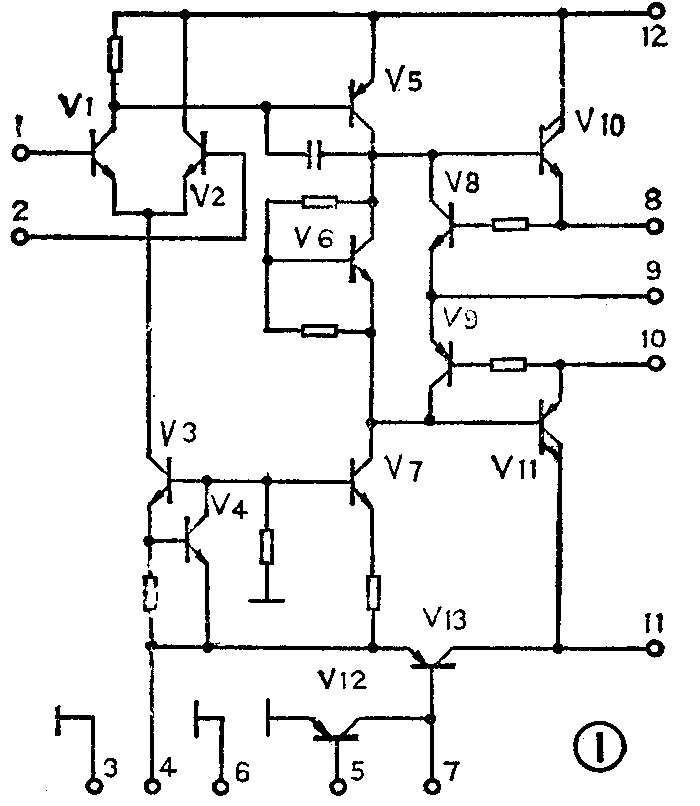
SHM1100Ⅱ采用单列12脚封装。失真度低(0.01%)频带宽(10Hz~200kHz)、可靠性高、线路简单、成本低是这种电路的特点。下面简单地分析该电路的工作原理。图1是SHM1100Ⅱ的原理图。

V\(_{1}\)、V2是差动放大器,这两只管子的工作电流由V\(_{3}\)供给,V3可以组成较理想的恒流源。V\(_{5}\)是电压放大级,恒流源V7作为V\(_{5}\)的负载。V10V\(_{1l}\)为达灵顿管输出级,这级的电流受到V6的控制。V\(_{6}\)是一个恒压电路,动态内阻小,集电极与发射极之间的电压Uce是恒定值,所以V10V\(_{1l}\)的静态工作点基本稳定。不受电源电压变化的影响。电路中V12、V\(_{13}\)为静噪控制部份。V8、V\(_{9}\)为短路过载保护电路。
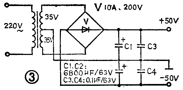
图2是SHM1100Ⅱ的应用原理图。图3为电源系统图,电源变压器的功率应大于200W,滤波电容器为6800μF/63V,整流二极管耐压为200V,工作电流10A,最好采用快速恢复二极管。


在制作时需在电路的散热片上涂一层导热硅脂,并使集成电路紧贴在散热片上,使电路的工作温度控制在75℃以下。
用两块SHM1100Ⅱ即可构成立体声功率放大器,此时电源变压器的功率及滤波电容器的容量均应加倍。SHM1100Ⅱ的性能如附表所示。(三江)
