一台根德T51-240D/J型彩电,开机后无光无声,但频道数码LED显示正常。
分析与检查:频道数码显示正常,说明开关电源及微处理器工作正常。检查主电源继电器RL625三组触点的输出电压+A’(124V)、+M’(16V)、+B’(12V)均正常;行输出电路产生的视放电压+C(200V)也正常。根据电路分析,在各供电电压均正常的情况下,同时出现无光、无声故障,很可能是数控电路的问题。
图1是该机数控电路的原理框图。从图中可见,微处理器⑧、⑨脚输出的串行数据SDA和时钟脉冲SCL,并行送到高频调谐组件、中频组件及视频D/A转换集成块IC350中。由于各组件与主电路板之间采用插接结构,所以可通过插拔组件来缩小故障范围。当拔下高频调谐组件后,接通电源便出现了光栅,且遥控亮度正常。这说明故障发生在高频调谐组件内。

从图1可见,高频调谐组件⑥、⑤脚输入的串行数据SDA和时钟脉冲SCL,并行送到调谐电压D/A转换集成块SDA3202和音频数据接口电路SDA2216内。单独测量一下高频调谐组件⑤、⑥脚对地(外壳)的正、反向阻值,正常时正向阻值应为7.5kΩ,反向阻值应为50Ω(用500型表、R×1k档)。实测⑤脚正常,而⑥脚正、反向阻值均降低为200Ω,说明有短路现象。进而采取分割方法,先焊下图1中的跳接电阻CR2145,这时⑥脚的反向阻值上升为100kΩ。此时重新插上高频调谐组件,开机后接收图象良好但无伴音。
经以上检查,确认SDA2216已损坏。这时只要更换新品SDA2216即可使整机恢复正常。
顺便指出,我们在修理根德T51—240D/I型彩电的实践中,经常碰到图象良好而无声的现象,通常也是由于高频调谐组件内的SDA2216损坏引起的,只是表现为其数据口内部开路,这时高频调谐组件⑥脚对地的反向阻值将变大为100kΩ。而本文所述故障是其中比较特殊的一例。
应急修理:目前新品配件SDA2216已经很难购到,更换整套高频调谐器不仅价格昂贵而且也很少见。这使此类故障无法修复。
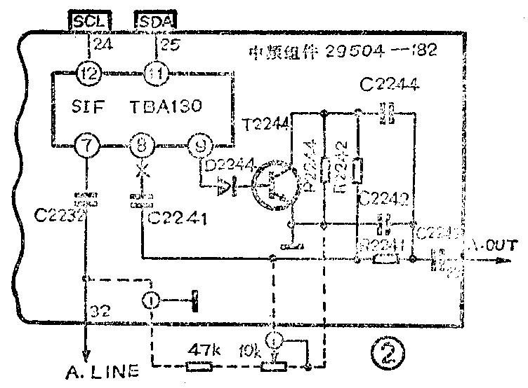
这里介绍一个比较简单的改遥控伴音为手控的应急修理方法,电路如图2。在中频组件板上,集成电路TBA130担任伴音中频限幅放大、鉴频、前置低放等工作,并具有D/A转换及直流音量控制的功能。其、脚分别是串行数据和时钟脉冲输入端,⑧脚是音频输出端,⑦脚是音频线路输出端,⑨脚外接的T2244及阻容元件组成去加重网络。当脚无串行数据或脚无时钟脉冲输入时,⑧脚就无音频信号输出,但⑦脚仍可得到音频线路输出。因此改动的方法很简单,如图2中虚线所示,用金属隔离线从组件板引出音频信号,经过一只47kΩ电阻加到10kΩ音量电位器上,又送回组件板的去加重网络。这时TBA130⑧脚外的耦合电容C2241应予拆除。

音量电位器可选用小型碳膜电位器,安装在预选盒内对比度和音量按钮的上方位置,并套上合适的塑料旋钮。适当调整47kΩ电阻的阻值,以限制最大音量位置,扬声器两端的正弦不失真功率为2W。(于文涛)