本文介绍一种可供两人对奕的有趣的智力电子玩具——地雷战棋。它具有电路简单、成本低廉、取材容易和制做方便等优点,既适合少年儿童使用,也适合学校、部队、厂矿等单位作为节日游艺玩具。
游戏方法
本棋的棋盘及整体结构设置如图1所示。在奕战双方之间画有13个圆圈表示行营,各行营间用连线沟通成网,其中,黑白相间的直线表示为铁路,双联直线表示为公路,双曲蛇形线表示为小路。对奕双方分为攻方与守方,守方位于棋盘左侧,攻方位于棋盘右侧。奕棋时,守方先要在避开攻方视线的情况下,按自己的设想在行营中布设“地雷”,布雷方法是:拨动位于守方侧面的拨码开关K\(_{1}\)~K13(K\(_{1}\)~K13的序号与各行营的序号是相互对应的),将某号开关拨向ON(向上),就是在某号行营中布设了“地雷”,反之,该行营中就没有布雷。守方在布雷时至少应留出一条能从攻方进至守方的安全路线,否则算守方犯规。每条路线可以分别是铁路,公路和小路,也可以是三种路线分段联用。守方布完雷后,攻方便可开始由攻方始端任选一条路线向守方进攻,即将棋子(小磁铁)依次放入所选进攻路线中的行营中。如棋子放入行营时,扬声器发出连续的轰隆隆、轰隆隆的声响时,说明在该行营中设有“地雷”并被攻方踩响,则攻方此次进攻失败(此时应再由守方用棋子沿自己留出的安全路线从守方向攻方始端行走一遍,以验证守方确实留有安全线)。如果攻方将棋子放入行营中,扬声器无声,说明该行营中守方未设置“地雷”,攻方可继续行走。如攻方在进至守方城堡前一直未踩响“地雷”,就表示进攻者取得了胜利,待攻方将棋子放入守方城堡时,扬声器将会发出音乐声响,为胜利者祝贺。因本棋中地“地雷”可由守方在奕棋前任意布设,而攻方在事前无法知道,这就给奕棋的攻方的取胜带来了一定的难度,同时也增加了本玩具的趣味性。

电路原理
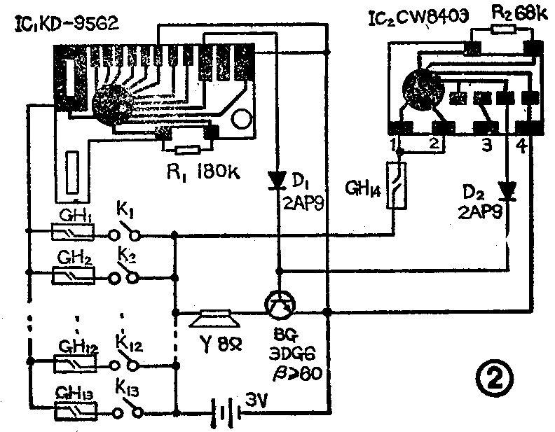
电路如图2所示。它采用了两片CMOS集成电路,其中IC\(_{1}\)为KD—9562八声模拟IC,IC2为音乐集成片IC,BG为两片IC共用的输出放大管。D\(_{1}\)、D2为隔离二极管。IC\(_{1}\)的第6选声端接至电源负端,这样,当IC1工作时将会输出炮弹爆炸时的模拟声信号。IC\(_{1}\)工作与否受串接在IC1电源回路中并联着的13只干簧管GH\(_{1}\)~GH13及分别和各干簧管串联着的拨码开关K\(_{1}\)~K13的控制,GH\(_{1}\)~GH13分别安装在棋盘底下的塑料板背面并正好与棋盘中的行营位置对齐,同时GH\(_{1}\)~GH13的序号与拨码开关K\(_{1}\)~K13的序号及与各行营的序号都是对应的,当守方把K\(_{1}\)~K13中的某几只开关闭合时,就相当于把与之对应的某几只干簧管接入了电路,这样,当攻方将棋子(小磁铁)放在行营中时,磁力将使行营下干簧管的接点闭合,如该干簧管恰是被守方接入电路的,则IC\(_{1}\)就可通过该干簧管及与之对应的已闭合的拨码开关接通电源而工作,其输出信号经BG放大后推动扬声器发出轰隆隆的爆炸声,表示进攻者踩响了地雷;如果该行营中的干簧管没被守方接入电路,则尽管该干簧管的接点也受磁力作用而闭合,但因与之对应的拨码开关是开路的,所以IC1不工作,这也就相当于守方未在此行营中设雷。IC\(_{2}\)的触发端“2”脚直接与接电源正端的“1”脚短接,但IC2的工作与否受串接在IC\(_{2}\)电源回路中的干簧管GH14的控制,GH\(_{14}\)是安装在棋盘中守方城堡方框下面的,当攻方将小磁铁放入守方城堡时,GH14接点闭合,则IC\(_{2}\)接通电源而工作,输出信号也经BG放大后推动扬声器发出电子音乐声响,表示攻方胜利夺取了城堡。

元件选择与制作
IC\(_{1}\)选用KD—9562八声模拟电路,IC2可用CW8403或CW9300等型号的音乐IC。D\(_{1}\)、D2为2AP9。BG用3DG6,β≥60。GH选用小型高灵敏动合式干簧管。K\(_{1}\)~K13用13位小型组合式拨码开关。电源使用两节五号电池串联而成。用做棋子的小磁铁可用旧耳机或小型内磁式扬声器中拆出的小磁铁代用,只要试验其磁力能隔着2mm厚的塑料板使干簧管接点动作的即可。全部元件可安装在一个30×20×10(cm)的盒内,盒盖最好用1.5mm厚的塑料板或胶木板,在其正面参照图1样式画出棋盘。用细导线将干簧管与拨码开关及主电路接通即可。本棋电路只要元器件正常,接线正确无误,不用任何调试即可正常工作。(张继辉)