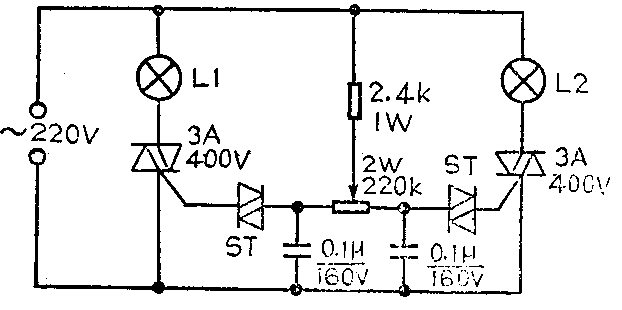
实用双联调光电路
图示电路是将两个普通调光开关的充电回路结合为一体,用1只电位器来变两个电容器上的充电时间,以达到改变两只灯泡亮度的目的。如两只灯泡L1和L2为幻灯机中灯泡,则可实现画面平滑交替过渡。如两只灯泡为两种不同颜色的并装在同一灯罩内时,可实现灯光平滑变色的目的。(杨光)

电机双向工作控制器
一个由功率运放(LM1308)组成的驱动永磁电机双向工作的控制器的电路如图所示。电位器R6用来设置加在运放同相端的基准电压。电位器R7的调节轴通过传动比为10:1的机械装置与电机轴相连,提供运放反相端用来决定电机转动方向的输入电压。(赵同言 编译)

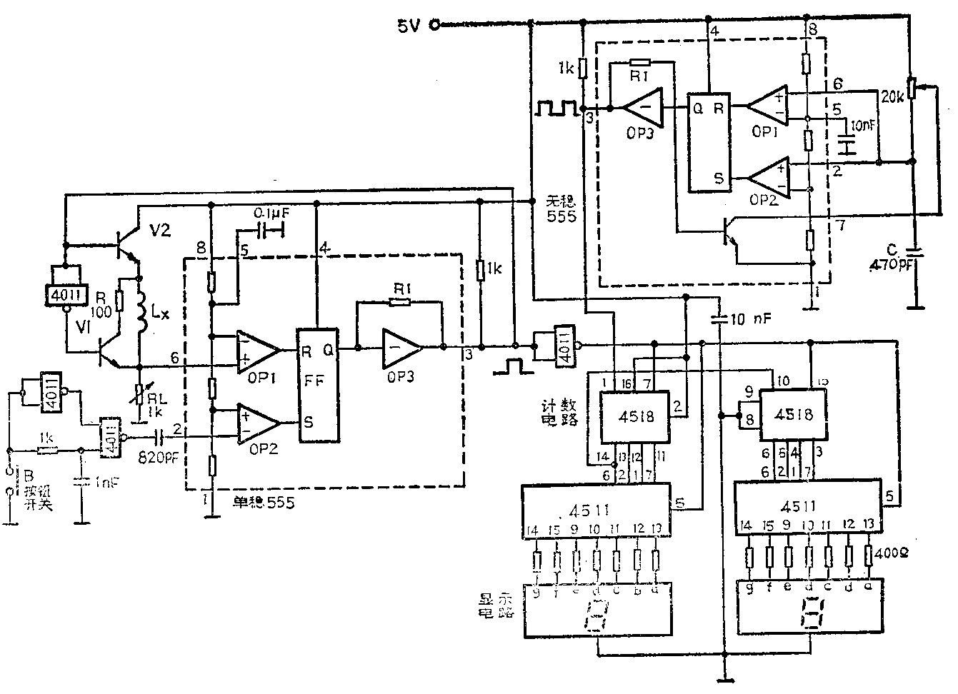
直接指示电感量的电路
图示为一种能够精确测量电感量的简单电路,它由两个555定时器和一个2位显示器组成。第一个555组成单稳态振荡器,产生一个持续时间T\(_{1}\)与被测电感Lx呈线性关系的脉冲,这个脉冲再去触发两个计数器(4518)。第二个555组成无稳态振荡器,它产生的时钟脉冲(周期为T\(_{2}\))送到两个计数器中计数。

由两个与非门(4011)和一个按钮开关B组成的电路,为单稳振荡器提供一个尖锐的负触发脉冲。三极管V1和V2作开关,分别控制L\(_{x}\)的放电和充电。电阻RL值由被测电感范围来决定,即T1=1.1L\(_{x}\)/RL。计数器显示的数n=T1/T\(_{2}\)=1.1Lx/(RL·T\(_{2}\)),仔细选择RL和T2值,显示电路的数码管上就能指出L\(_{x}\)的电感量来。 (石青峰 编译)
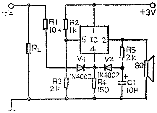
电源故障报警器
图示电路为一个电源故障报警器。电源E工作正常时,经R1和V1使IC的4脚高为电位,IC(TWH8778)不工作。当电源电压下降或停电时,4脚电位下降或等于零使IC工作,这时2脚输出高电位并给C1充电,使4脚电位上升,当5脚与4脚之间电位差小到IC截止阈值电压时,IC不工作。C1放电又使4脚电位下降,IC又工作,这样就形成一个音频振荡使扬声器发声报警。 (沈绍雷)
