变色发光二极管是一种能按所加电压的极性或电压所加的管脚而显示出不同颜色的发光二极管。因此可以广泛应用于多种指示场合。本文介绍两种较有价值的应用电路。
二极管快速分选器
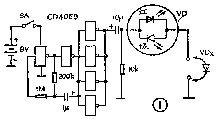
在测试二极管参数之前,先应对二极管进行完好性筛选,以便剔除掉那些开路或短路的无效二极管。这时,不论用万用电表粗测或用晶体管图示仪粗测都是很费时间的,因为都必须对其正反向电阻分别进行一次检测,还常常烦于判别标志不明管子的极性。但若使用图1所示的电路,就非常简便,根本用不着理会被测二极管的极性,随便拿来插入测试孔,立刻就能判定:①管子是否正常;②管子的极性;③开路;④短路。很适于大量快速分选。

该分选器的原理十分简单:用CMOS集成电路6非门(CO33或CD4069)的其中2个非门组成超低频振荡器(频率约为3~5Hz),其余4个非门并联起来,用作功率放大器。再通过输出耦合电容将输出波形变为含正负两半周的交流输出,以便测试时不论被测二极管的安插极性如何,都会有一种发光颜色来指示。
由图1很容易看出,当被测二极管VD\(_{x}\)正极在上插入测试孔时,变色二极管VD将发红光;反之则发绿光。若被测二极管是开路的,则变色二极管不发光;若VDx是短路的,则变色二极管出现红绿颜色的交替变化。
这个快速分选器可以连同电池(9V叠层电池)装成一体,平均电流仅0.2~0.3mA。它不仅可以粗测普通整流及检波二极管,也可粗测稳压二极管,发光二极管等。
4~200V的交直流验电笔
图2是一个用变色发光二极管(三引脚式)及其它器件构成的无源验电笔。不仅可以验证4~220V交流或直流电压的存在与否,还能指示出被测电压是交流还是直流,以及直流电压的极性。

图中的6只二极管组成全波整流电桥,其中VD\(_{5}\)和VD6是封在一个壳内的三引脚变色发光二极管。晶体管VT\(_{1}\)和VT2及电阻R\(_{1}\)和R2共同构成一个恒流源,以保证在所测的宽电压范围内给发光二极管提供恒定的电流。电阻R\(_{3}\)和电容C1用来吸收被测电压中偶而可能出现的尖峰电压,以保护VT\(_{1}\)和VT2。
由图2容易看出,若被测电压U\(_{x}\)为交流,则VD5和VD\(_{6}\)都发光;若Ux为上正下负的直流电压,则只有VD5发光(例如发绿光);若U\(_{x}\)为上负下正的直流电压,则只有VD6发光(相应为红光)。
为了保证可测电压的范围;4个整流二极管VD\(_{1}\)~VD4的耐压不应低于350V,两个晶体管的耐压也应不低于此值。否则应降低量程上限。(子萌)