在有单相交流电的地方,用本文介绍的这个三相交流电波形发生器配合普通的单踪示波器(如J2459型学生示波器),就可观察三相交流电波形。该装置由三相交流电发生器和三路电子开关组成。借助电子开关的选择,可以用单踪示波器观察2路或3路信号的波形,例如在中学物理实验中,演示交流电通过电容器或电感线圈时,电流和电压之间的相位变化情况。该仪器构造简单,造价低,便于推广。
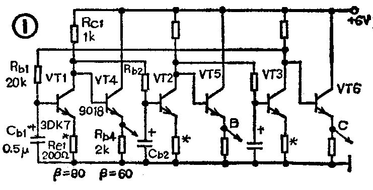
电路原理

图1为三相交流电源电原理图。它采用6V直流电源供电,由晶体管VT\(_{1}\)~VT3连接的三个反相器组成一个环形振荡器。其工作原理如下:设VT\(_{1}\)输出一个高电平,经Rb2C\(_{b2}\)延时后加到VT2的基极,VT\(^{2}\)\(_{z}\)输出一个低电平。同样,VT3输出高电平,导致VT\(_{1}\)输出低电平,经VT2、VT\(_{3}\)作用后,VT1又输出高电平,完成一个振荡周期。又因为从VT\(_{1}\)输出高电平到VT1变为输出低电平相位角变化为180°,在这期间还含有VT\(_{2}\)输出低电平、VT3输出高电平两个部分,每一部分的延时时间都相同,所以VT\(_{3}\)输出高电平较VT1输出高电平在相位上要落后120°,即这两路信号的相位差为120°。同理,另两路的相位差也是120°。这样通过图1电路便可得到频率为70Hz、相位差为120°、峰—峰值大于5V的三相交流电。图中增设VT\(_{4}\)~VT6所组成的射极跟随器的目的是提高电路带负载的能力。由图中的A、B、C三点对地之间输出三相交流电波形。制作时VT\(_{1}\)~VT3三只晶体管的饱和压降要尽量相同,对VT\(_{4}\)~VT6要求也同样。

图2为三路电子开关电路,它由信号通道和有关电子开关组成。三路信号由2/1、2/2、2/3端对地之间同时进入三路电子开关中的信号通道。由转换开关将信号分别、依次从输出端送入单踪示波器。因转换速度非常快,约为7kHz,所以人眼看不出闪烁现象,能看到稳定的三路信号波形。
信号通道由晶体管VT\(_{1}\)~VT3等组成,三路信号分别从它们的基极进入,调节电位器RP\(_{1}\)~RP3能分别改变三只管子的基极偏流,于是集电极电压随之改变,能使波形上、下平移;调节电位器RP\(_{4}\)~RP0能改变输入信号的强弱,以改变波形的幅度。它们的发射极电阻不是直接接地,而是分别经过VT\(_{7}\)~VT9的集电极、发射极才接地。这样,就由VT\(_{7}\)~VT9分别控制通道部分的三只晶体管的导通与截止。例如,只有VT\(_{7}\)导通时VT1才能导通,第1路信号2/1才能通过。
转换开关由环形振荡器和波形变换器组成。由VT\(_{4}\)~VT5等组成环形振荡器,其原理前面已讲过。由于延时电容的容量较小,所以振荡频率高约7kHz。VT\(_{7}\)~VT9等组成波形变换器,分别把从VT\(_{4}\)~VT6集电极送来的振荡信号经过放大削顶后,使VT\(_{7}\)~VT9集电极电压波形的占空比为2:1(见图3)。也就是说,在每个周期内,VT\(_{7}\)~VT9中每只管子只在1/3周期内导通,其余时间均截止。这就保证了在任一周期内三只管子依次轮流导通,而且在任一时刻只有一只管子导通。由于VT\(_{7}\)~VT9的工作状态控制着VT\(_{1}\)~VT3的导通与否,所以也就保证了输入的3路信号在任一时间内只能依次、轮流有一路信号从输出端输出,然后送到单踪示波器。

制作时应注意晶体管的饱和压降要保持一致。
应用举例
观察三相交流电波形 将图1中的A、B、C三点分别接到图2中的2/1、2/2、2/3输入端,两部分的地线连在一起。三路电子开关的输出端接到单踪示波器的“Y”输入端,地线也要接到一起。单踪示波器以J2459型学生示波器为例,衰减置于10档,扫描置于10—1000Hz档。适当调整图2中的电位器RP\(_{1}\)~RP3、RP\(_{4}\)~RP6,就可以从示波器上看到图4波形。


观察交流电的容、感相移 图5为一个具有容抗和感抗的网络。将图5中的A\(_{1}\)1、C\(_{1}\)三点分别接到图2中的2/1、2/2、2/3输入端,两部分的地线也连在一起。单踪示波器和三路电子开关的用法同上。这样就可以从示波器上看到,当交流电通过电容器时,电流的相位较电压的相位超前;交流电通过电感线圈时,电流的相位较电压的相位落后。见图6。(金锡润)
