本文向读者介绍一种用AY—3—8500专用大规模集成电路组装的遥控电视游戏机,这种游戏机的特点是采用开路发射方式,使用时与电视机之间不需要任何连线,只要接通电源,将电视机调到相应频道(本游戏机设计为第1频道),电视机荧光屏上就会出现各种游戏图象及比分,同时电视机中发出逼真的击球声响。
该游戏机有足球、网球、乒乓球、拍球四种游戏可供使用者选择。游戏者用操纵杆控制球拍或“运动员”。刚开始玩游戏时可选择慢速拍球练习,适应后再进行两人对抗游戏。各类游戏每届总分为15分,先得15分者为胜。当有一方满15分后电路控制则失效,说明这一局已结束。此时应按复位钮进行清零,以重新开始比赛。熟练以后可以加快球速、减小球拍以提高游戏难度。四种游戏中“拍球”一项为单人游戏,操纵者进行拍接球,失一球则记1分,满15分后重新开始;乒乓球为两人游戏,双方轮流互相拍球;足球设一前锋和一后卫,双方力争把球踢进对方球门;射击游戏有“土蝶式射击”和“自由式射击”,游戏者可用光电枪射击电视机荧光屏上的移动光靶,击中后显示成绩。
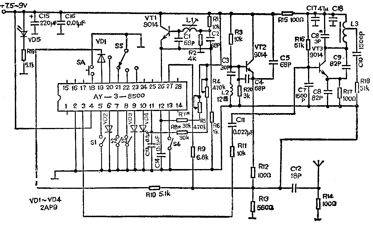
电路原理见附图。SA为复位按钮;S\(_{1}\)~S4分别为发球角度(20°~40°)、球速、发球、球拍大小控制开关,可以根据需要接通或断开;S\(_{5}\)为游戏节目选择开关;R5、R\(_{4}\)为左、右球拍移动电位器,应选用直杆滑动式电位器,可分装于两个独立的小盒上,然后用屏蔽线引到印制电器板上。18~23脚分别为射击1、射击2、足球、网球、乒乓球、拍球控制脚,16、6、9、10、24脚分别为同步信号、球信号、左拍、右拍、计时输出脚。VT1、L\(_{1}\)、R1、R\(_{2}\)、C1、C\(_{2}\)组2Hz时钟振荡器,改变R1、L\(_{1}\)数值可改变振荡器频率,使图象同步;VT2、R\(_{3}\)、R20、C\(_{3}\)~C5、L\(_{2}\)组成图象载波振荡器兼发射极调制混合电路,它的频率最好落在当地不播送电视节目的频道上。VT3为调频振荡管,产生6.5MHz伴音中频。振荡回路的电容最好选用高频瓷片电容或云母电容。VT\(_{1}\)~VT3采用9014型晶体管,β为100左右。L\(_{1}\)选用TTF2~9中周的第2脚和第3脚。L3用电视机伴音中周235。L\(_{2}\)用φ0.82mm左右的漆包线在φ5圆棒上绕12匝脱胎而成。VD1~VD\(_{4}\)选用2AP9。天线采用电视机拉杆天线,也可用1米长的细塑料皮电线代替。印制电路板采用环氧树脂敷铜板加工。集成电路AY—3—8500的第1、14、15、28脚为空脚,第26脚为电枪发射输入脚,第27脚为电枪射中输入脚,第17脚为振荡信号输入脚,第5脚为伴音信号输出脚。安装时应注意集成块的引脚处不要虚焊或连焊,各个开关可用细电线连到印制电路板上。

调试时可将游戏机和电视机均接通电源,置电视机频道开关于VHF-1频道,游戏机与电视机之间拉开1米距离。用一个小竹片拨动游戏机印制电路板(注:因电路较简单,印制电路板可自行设计)上的线圈L\(_{2}\),改变其匝间距离,使电视机屏幕上出现杂乱条纹,同时可听到电视机的噪音有所变化。再调整电感线圈L1,直至屏幕上出现清晰稳定的赛场图形。如果没有赛场图形出现,应细心检查游戏机印制电路上是否有错焊。附表列出了集成块的管脚电位值,可供调试时参考。用万用表测量VT\(_{1}\)的基极和发射极的电位,如果VT1正常起振,则其发射结应处于明显的反偏置状态。时钟频率偏差太大时可适当改变R\(_{1}\)的阻值。图形调好以后再细调L3使伴音出现,并达到最好效果,必要时可改变C\(_{6}\)数值。将游戏机与电视机之间拉开约10米距离,再细调一次各个电感线圈,使图象清晰、稳定,伴音逼真,之后用蜡封固L3。调R\(_{1}\)、R2,使球拍上下活动的位置合适。整机工作电流约60mA。

调试完毕,在业余制作条件下,可把游戏机的电路板安装在一个塑料食品保鲜盒内,选择开关及复位按钮可固定在保鲜盒壁上,从盒内引出一根天线。操纵用的滑杆电位器(R\(_{4}\)和R5)可另分别安装在一个方便的小盒内。(五联)