负载传感器(LOAD SENSOR简称LES)是根据专刊技术制作的新型器件,它可广泛应用在能源、通讯、广播、报警等领域,是一种很有发展前途的传感器件。
LSE能够判断回路是否开路,把它直接串联在直流或交流回路中对回路进行检测,具有反应灵敏、空耗极低、使用方便等特点。该器件的各脚功能见图1。1、2脚是传感端,串联在被测回路中;3脚接电源正端;4脚是传感信号输出端。当1脚和2脚之间接有感性或阻性负载(阻值在50kΩ以下,并构成回路)时,4脚输出高电平。当没有负载或回路开路时,4脚输出低电平。图2是一种基本的应用方式。将LSE直接串联在交流电源的负载回路中,当开关K接通时,1、2脚之间呈通态,4脚输出高电平,此信号即可控制电源开关的接通,此时电源便可通过1、2脚向负载供电。当开关K断开时,4脚输出低电平,此时可使电源开关断开。LSE的具体参数如下:①使用电源电压范围,0~2500V;②1、2脚之间通态压降,<1.8V;③灵敏度≤50kΩ;④静态电流<30μA;⑤传感器 4脚输出电流,50mA,⑥额定电流(串联在交流电路中,1、2脚之间允许通过的电流)依型号不同,电流大小不等。见表1。



LSE的应用举例
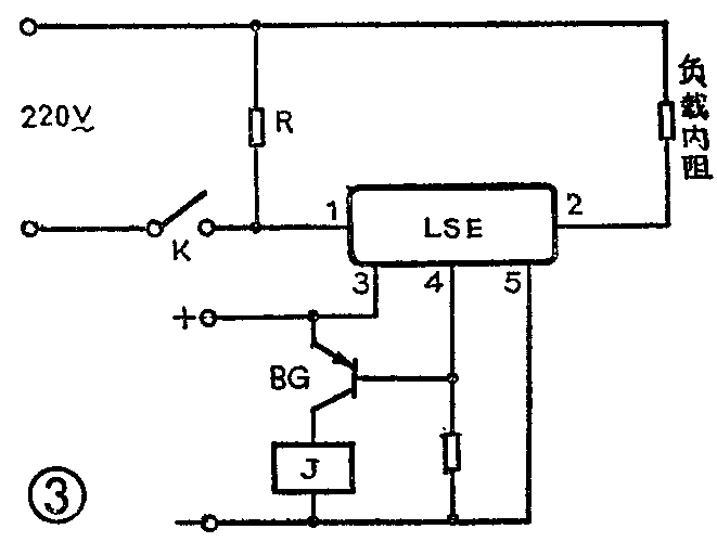
1.负载检测电路,见图3,该电路可应用在报警和易断路而又必须及时更换的场合。当电路断开后,4脚输出低电平,管子饱和导通,继电器吸合,此时启动报警设备或启动备用设备,或告知人们及时检修或更换。

2.无空耗变压器,电路如图4所示。该电路可用于无人值守或间歇工作的电源设备中,如农用变压器、电冰箱保护器等,当负载接通时,继电器吸合,变压器供电,反之,继电器释放变压器断电。

3.无空耗逆变器电路,见图5。当逆变器输出端有负载时,4脚输出直流电压,振荡器工作,逆变器可向负载供电。无载时,逆变器停止工作。

4.具有自动复位功能的触电保安器,具体电路见图6。它的特点是,当有人触电后继电器的常闭接点断开,切断交流电源。直到人体离开继电器释放,这时恢复供电。但应注意,①实际使用电流不得超过额定电流,②除作开路检测外,负载不能短路否则易损坏,③在干扰严重的场合,可在2、5脚之间接一0.2μ电容器或并接一可调电阻,④若4脚输出不满足要求,可用三极管放大。

Ⅱ系列负载传感器是Ⅰ系列的改进型产品,它将传感器与功率器件集成在一起,并可省去直流电源,最适用于制作无空耗调压器、稳压器等。现将应用电路举例如下。
无空耗调压器,见图7。Ⅱ系列LSE有三个引出脚,中间引出脚接调压器的公共端,另外两脚可互换使用。当输出端有负载时,1、3和2、3脚之间均呈通态,调压器向负载供电。当输出端负载断开后,1、3脚和2、3脚之间呈断态,变压器绕组断电,空耗为零。

艹用天线的电源自动控制电路,见图8。此电路对于需要联动控制的电源均可使用。例如,电视机和天线放大器,电视机和录象机等,它特别适用于天线系统。3脚接公用天线的电源变压器,1、2脚可分别接电源的另一端和用户电视机的电源插座。只要有一个用户的电视机开机,共用天线的电源就被接通,当所有用户都关机以后,共用天线的电流就被切断。
Ⅱ系列LSE产品性能参数如下。
1.适用电源电压:300V和450V,无标志的耐压为300V。
2.额定电流见附表二。(蔡万顺)
