NV-L15录象机的色度信号记录系统方框图如图1所示。该系统主要任务是将色度信号的副载波的频率从4.43MHz降到627kHz,同时使磁头1(CH-1)记录的色度信号相位保持不变,而磁头2(CH-2)记录的色度信号相位逐行旋转90°(仅对PAL制录象机而言)。下边将该系统的主要电路进行分析。

1.带通滤波器:4.43MHz带通滤波器从输入的视频信号中取出色度信号,经自动色度控制电路(ACC)将色度信号送到主变换器。
2.主变换器:又称平衡调制器1,它的作用是产生627kHz带相位旋转的彩色信号。主变换器有两个输入信号,一个是从ACC电路来的将被记录的4.43MHz彩色信号;另一个是从副变换器来的带相位旋转的5.06MHz正弦波信号,其相位逐行旋转90°。因为平衡调制器的一个输入带有相位旋转特性,那么平衡调制器的输出信号也带有同样的特性。平衡调制器1输出的是两个输入信号的和频信号9.49MHz和差频信号627kHz。其和频信号将被低通滤器滤除,而差频信号(627kHz)从平衡调制器1中输出。经彩色阻断放大器、1.6MHz低通滤波器和输出放大器从IC801的15脚送出与亮度信号相混合。
3.彩色阻断:当所记录的信号为黑/白信号或色同步幅度太小及相位偏差太大时,彩色阻断电路将把平衡调制器1送来的任何信号加以拦截,以防干扰亮度信号的记录。
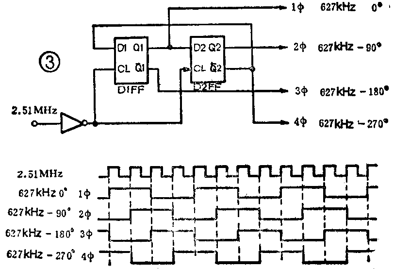
4.AFC旋转相位信号发生器:为了正确地记录彩色信号,经降频变换的627kHz相位旋转信号必须由被记录的彩色信号中的行同步脉冲锁定,所以AFC相位比较电路与旋转信号发生器电路同步工作,这部分电路的简化方框图如图2所示。5.02MHz压控振荡器产生的连续正弦波信号,经1/321分频器分频后变为15.625kHz信号再与外来的行同步脉冲在AFC相位比较器中进行比较,产生的误差电压去控制5.02MHz压控振荡器的振荡频率,使其稳定在5.02MHz。5.02MHz压控振荡器的另一路输出信号经1/2分频器变成2.51MHz,然后加到1/4分频器产生4个相位不同的627kHz的连续正弦波信号,它们的相位分别是0°、-90°、-180°、-270°,如图3所示。4个相位不同的627kHz信号分别加到相位旋转电路的4个与门中。从被记录的视频信号中分离出来的行同步脉冲,经数字相位锁定环路加到1/4环计数器。1/4环计数器的典型电路及产生的波形如图4所示。环计数器产生与输入行同步信号同步的4个门脉冲加到4个与门电路的另一输入端。4个不同相位的627kHz信号始终分别加到4个与门中,从1/4环计数器来的开关脉冲将顺序地、逐行地将4个与门打开。4个与门的输出端与或门的输入端相接,这样在或门的输出端将得到逐行移相90°的627kHz的信号。1/4环计数器还受磁头开关脉冲的控制,即在磁头开关脉冲为低电位时,才使1/4环计数器送出开关脉冲。在磁头开关脉冲为高电位时,相位旋转停止工作,这时只有第一个与门工作,送出相位为0°的627kHz的信号。换句话说,在磁头开关脉冲的负极性期间,磁头2(CH-2)与磁带接触,此时1/4环计数器工作,使降频为627kHz的彩色信号逐行旋转90°,逐行送出相位为0°、-90°、-180°、-270°的627kHz信号。而在磁头开关脉冲的正极性期间,磁头1(CH-1)与磁带接触,此时1/4环计数器不工作,相应旋转电路仅送出相位为0°的627kHz的信号。这就达到在纪录期间磁头1记录的信号相位保持不变而磁头2记录的信号相位逐行旋转90°的要求。这里所说的磁头开关脉冲与送到磁头放大板的磁头开关脉冲是同一个脉冲。



5.APC自动相位控制比较器:在记录期间从压控振荡器来的4.43MHz正弦波信号与从ACC电路来的被记录的彩色信号,在APC相位比较器中进行比较。如果两个信号之间存在相位差,则产生的相位误差电压加到4.43MHz压控振荡器改变它输出正弦波信号的相位,反复进行比较直到两个输入信号的相位完全一致。APC相位比较器的输出送到副变换器。
6.副变换器:又称平衡调制器2,它的作用是产生5.06MHz带相位旋转的正弦波信号。副变换器有两个输入信号,一个是从APC相位比较器来的4.43MHz信号;另一个是从AFC旋转相位信号发生器来的627kHz相位旋转信号。两个输入信号的差频信号3.8MHz将被滤除,而和频信号5.06MHz从副变换器输出。这个5.06MHz信号是带相位旋转的,并被输入彩色信号中的色同步及行同步信号相位锁定。
7.数字相位锁定环路:数字相位锁定环路以下简称D-PLL电路,它产生的脉冲是与从IC801的32脚来的行同步脉冲同步,其输出的脉冲信号做为相位旋转电路的触发脉冲。行同步脉冲信号经亮度/色度板的22脚及IC801的32脚加到单稳态电路进行波形的整形并消除均衡脉冲。当由于某种原因没有行同步脉冲输入时,D-PLL电路能象振荡器一样产生一个伪同步脉冲来代替输入的行同步脉冲,以防止产生任何相位旋转的误差。如果有扭曲或抖动发生时,输入的行同步脉冲的周期发生变化,D-PLL电路将产生相应的脉冲以便使输出脉冲与输入的扭曲或抖动的行同步脉冲锁定。
8.色同步门脉冲发生器:从输入的彩色信号中分离出来的色同步信号送到色同步门发生器,这个发生器产生如图5所示的两种正极性脉冲。宽脉冲(3.6μs)用于IC801内部的ACC检测器和色同步上升/下降6dB电路;窄脉冲(2.8μs)做为取样脉冲加到APC相位比较电路、彩色阻断电路及ACC电路。将正极性宽脉冲和窄脉冲送到色同步门脉冲发生器,产生图5中所示的负极性色同步脉冲。该脉冲与IC801内部的5.02MHz压控振荡器产生的5.02MHz信号的1/321分频信号相锁定。(葛慧英)
