这里介绍一种多用途音乐讯响器,它的体积小巧,声音宏亮,用途广泛,而电路极其简单,适合初学者制作。
讯响器的电路如图1所示。其核心部分为KD9300和TWH8778两块集成电路。KD9300的第2脚为触发端。实验表明,只要触发电压大于1.8V,就能可靠触发IC。TWH8778虽然是大功率驱动开关集成电路,这里却用作脉冲功率放大,其显著特点是不需要外接元器件,而且效率高。图中A、B、C三个检测端,接上不同的外围电路,即可得到功能不同的应用电路。当B端被触发时,KD9300就输出音乐信号,经过TWH8778放大后推动扬声器发声。触发一次就演奏一次。图1中R\(_{1}\)为振荡电阻,R2是推动管BG的集电极电阻。此音乐讯响器可广泛应用于玩具、门铃、报警、游戏及测量装置中,图2、图3列举了几个应用实例,供制作时参考。



图2(a)中的“穿针引线”游戏可作灵敏训练器使用,当在“穿针”过程中,针触及一个或多个小铁环时,KD9300被触发,奏出音乐声,说明穿针引线没成功。
图2(b)电路可用来制作通断检测仪。将探针触及两个被测点,如果两点间通路或呈小电阻,则扬声器发声;如果触及两测试点之后扬声器不发声,说明此两点间断路或电阻很大。
图2(c)电路可用来制作音乐门铃。
把图2(d)所示的干簧管代替图2(c)中的AN开关后,可用来作挖“地雷”游戏。把干簧管作为“地雷”。如把几个干簧管并联起来接在A、B处,就成了多个“地雷”,可以埋在多处。游戏者用“挖雷器”(磁铁)在一定范围内探测,如果挖到“地雷”,干簧管触点闭合,扬声器发声。从扬声器发声的次数即可知道挖出几个地雷。
图2(e)电路可用来制作报警器。当作为警戒网的细线被碰断时,讯响器立即报警,直到值班人员发现并处理为止,否则它会循环地响个不停。
图2(f)电路可用来制作音乐报晓器。当光敏电阻RG受光照射时,阻值变小,讯响器被触发而发声。
图2(g)电路则正好与图2(f)相反,当室内光线不足时,讯响器就发声,提醒您此时光线太暗,不宜看书学习。
利用图2(h)电路可制作二极管判测仪。把被测二极管随意插入测试孔A和B中,扬声器发声,而交换两脚位置后再插入A、B孔中扬声器不发声,表明被测二极管是好的并可判断出讯响器发声时插入A孔的引脚是二极管正极引线。若正、反两次插入讯响器都发声,表明二极管内部已短路或单向检波性能太差。若两次测试都不发声,则表明二极管已断路。
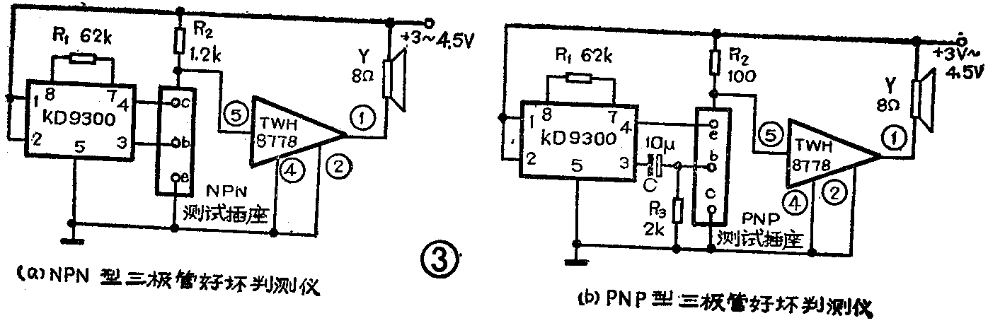
图3是三极管好坏判测仪电路。图3(a)用来测NPN型管。将某管插入,若讯响器发声,说明此管是好管。讯响器不发声刚表明此管已坏或β值太低。这里用被测管代替图1中BG作推动管。图3(b)电路则为测试PNP型三极管用的。
讯响器所用印制板如图4所示。R\(_{1}\)和BG管直接焊在KD9300印制板上。然后将两块小印制板对应部位用焊锡连好即可。

三极管BG可选用3DG12、3DX201或9013等型号的NPN管,要求β>80。TWH8778的引脚排列如图5所示。电源用2节或3节5号电池即可。本电路装好后一般不需调试即能正常工作。(郑春华)
