本抢答器具有抢答自锁、灯光指示、暂停复位、电子音乐报声、自动定时等功能,交流、直流两用。
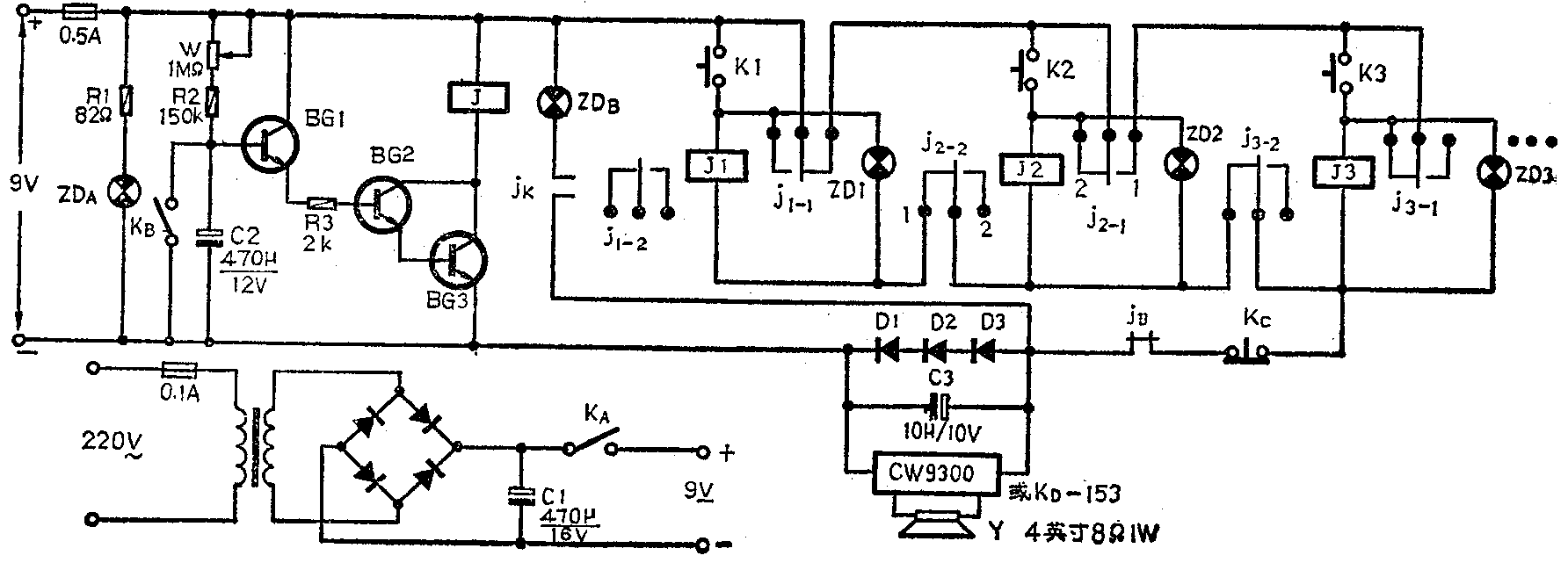
电路见附图。当闭合K\(_{A}\)接通电源后,电源指示灯ZDA亮,表示机器已处于工作状态。以第2组为例,当按下K\(_{2}\)时,继电器J2吸合,接点J\(_{2}\)-1的常开接点闭合,常闭接点断开,即其中间簧片倒向2一边,此时J2自锁,并且后面的几路沟断开电源。j\(_{2}\)-2中间簧片倒向2一边,前面的一路也断开电源。此时共用的喇叭中发出优美的电子音乐声,表示第2组获得抢答权。其它几组因电源已断开,即使再按下自己的按钮,也不起作用。待主持人宣布谁有抢答权后,由主持人按一下常闭复位开关Kc,机器便恢复原状。由于电路的相互制约关系,在抢答时只能有一组接通电路获得抢答权。

电子音乐的产生是利用D\(_{1}\)、D2、D\(_{3}\)的势垒电压,给音乐片提供2V左右的电压,使音乐集成块工作。C3起改善音质作用。
竞赛中不使用定时功能时,K\(_{B}\)是闭合的,BG1基极电位为零,BG\(_{1}\)、BG2、EG\(_{3}\)均不导通,继电器J不吸合。如果需使用定时功能,可预先调整电位器W,将定时时间选好(定时时间5秒~2分连续可调)在每题竞赛开始时,断开KB,计时则开始,当电源通过W、R\(_{2}\)向C2充电至2V时,BG\(_{1}\)、BG2、BG\(_{3}\)导通,继电器J吸合,其常开接点jK闭合,定时指示灯Z\(_{DB}\)亮,定时结束,喇叭中奏出音乐,同时其常闭接点jB断开,主电路被切断,各组均不能再接通电源进行抢答。当主持人将K\(_{B}\)闭合时,则又恢复原状。
元件选择:变压器选用6W、单或双9V的,二极管均选用1N4001,继电器选用JRX-13FDC6V双组触点的,三极管选用3DG型的,音乐集成块选用KD-153,指示灯用6.3V微型的,K\(_{A}\)、KB选用1×2小钮子开关。继电器可用φ2螺丝钉固定在胶木或三合板上。(侯尤魁)