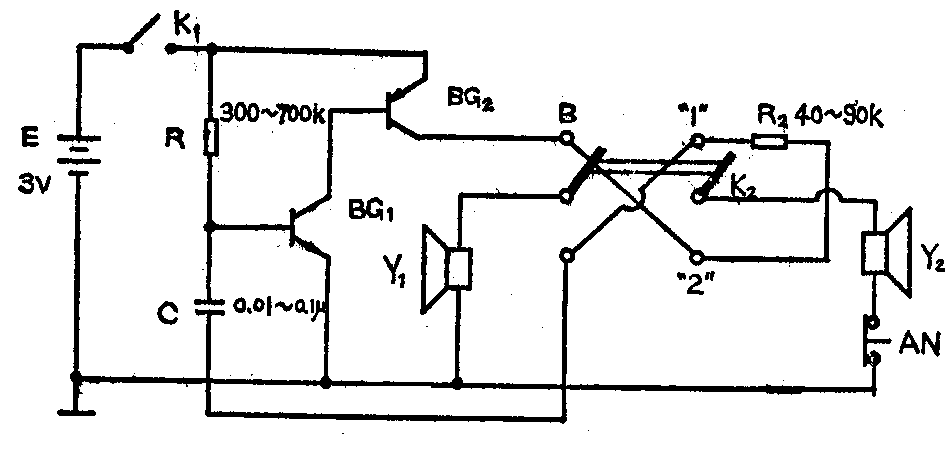
简易对讲门铃的电路如附图。扬声器Y\(_{2}\)及按钮开关AN2安装在门外,其它元件安装在室内适当位置。合上开关K\(_{1}\),门铃则接通了电源。BG1、BG\(_{2}\)构成直耦放大电路,当开关K2置向“1”时,扬声器Y\(_{1}\)接到直耦放大电路的输出端(即图中B端),这时Y1作为收听用,Y\(_{2}\)通过R2、C接到直耦放大电路输入端(即图中A端),作为发话用。

当客人到来时,按一下按钮开关AN,此时扬声器Y\(_{2}\)对地则开路,直耦放大器输出端通过R2、C接到直耦放大器输入端(A端),使直耦放大器变成一个音频振荡器,设在室内的扬声器Y\(_{1}\)便发出“嘟——”的音频叫声。主人听到叫声后,将开关K2拨向“2”一边,此时扬声器Y\(_{1}\)作为发话用,Y2作收听用,主人可以对着Y\(_{1}\)讲话,询问来访者是谁,然后将K2拨回“1”一方,客人对着Y\(_{2}\)讲话时,主人就可以从Y1中听到回话了。虽然这个门铃电路很简单,但却很实用。
电路中,K\(_{1}\)选单刀开关,K2选双刀双掷开关;BG\(_{1}\)选3DG6,β≥50,BG2选3AX81或3AX31B,β≥50;Y1、Y\(_{2}\)选0.25W8Ω的扬声器。适当调整R2、C数值,可改变门铃的音调。(王一川)