编者按:本刊1989年第2期刊登了黑白电视机专用低压差集成稳压电源TVW12的技术特点和应用后,引起广大读者和不少使用单位极大兴趣,先后接到各种信函数千件,要求提供TVW12内电路,介绍工作原理和应用等。为满足广大读者要求,约请生产单位写了下文,剖析TVW12内电路并介绍正确使用知识等。
低压差集成稳压电源TV-W12的电压调整率和电流调整率好,纹波抑制比高,输入输出电压差仅0.5V左右。经试验在不改动原电视机电源变压器情况下,当电网电压在220V±20%范围内波动时,电视机工作正常。下边剖析TVW12内电路并介绍一些应用知识。
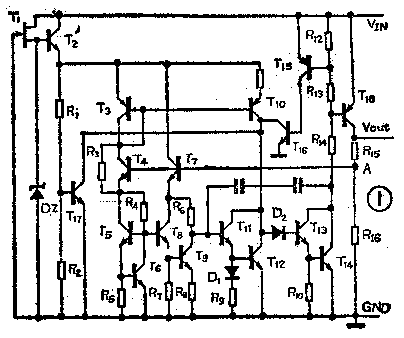
内电路分析
TVW12的内部电路如图1所示。以下具体分析它的工作原理。

1.预稳压电路:预稳压电路由场效应管T\(_{1}\)、稳压二极管Dz、晶体管T\(_{2}\)及电阻R1和R\(_{2}\)组成。场效应管T1接成恒流源,提供D\(_{z}\)的工作电流及T2的基极偏置电流。T\(_{2}\)管发射极电位被Dz箝制在6V左右,以保证整个稳压器的控制部份工作电压基本上不随输入电压变化而改变。从而使稳压器具有较好的电压调整率和较高的纹波抑制比。
2.启动电路、恒流电路的基准电压电路:启动电路由R\(_{3}\)、R4、T\(_{5}\)和T6组成。T\(_{3}\)和T10组成镜相恒流源。接通输入电压V\(_{IN}\)后,T2发射极电位被箝在6V左右,此电压经T\(_{3}\)发射极、R3、R\(_{4}\)、T5和T\(_{6}\)的作用使恒流源工作,稳压器进入正常工作状态。基准电压电路由T4~T\(_{9}\)、T11、T\(_{12}\)、R4~R\(_{9}\)和D1组成,它是一种复合能带间隙式电路。经理论分析基准电压表达式为:
V\(_{基准}\)=3VBE+\(\frac{R}{_{6}}\)R8·KT;qln\(\frac{R}{_{6}}\)·R7R\(_{4}\)·R5
式中V\(_{BE}\)为三极管的基射电压,具有负温度系数,K、T、q均为常量而电阻具有正温度系数。通过精密设计和工艺保证可使基准电压的温度系数接近零。
3.取样电路、误差放大器及调整电路:取样电路由R\(_{15}\)和R16组成。误差放大器由T\(_{7}\)、T12~T\(_{14}\)组成。T18为调整管。当某种原因引起输出电压升高时,A点的电位随之升高。T\(_{7}\)的发射极电流增大,通过R6向T\(_{11}\)提供的基极电流增大。因T11和T\(_{12}\)接成近似达林顿结构形式,故T11和T\(_{12}\)的集电极电流也增大。由于T10管为恒流状态,T\(_{12}\)集电极电流的增加使T13基极电流减小,则T\(_{14}\)的集电极电流也随之减小,从而提供给调整管T18的驱动电流减小,则T\(_{18}\)的VCE增大而使输出电压减小,且迅速回到原设定的电压值。反之亦然。调整管为PNP型晶体管,最大限度地降低输入输出电压差,这是TVW12的一大特点。
4.保护电路:T\(_{15}\)、T16、R\(_{12}\)和R13组成限流保护电路。正常工作时T\(_{15}\)和T16处于截止状态,当输出电流增大时,T\(_{18}\)的VBE将增大。合理设计R\(_{12}\)和R13之值,使输出电流为某一值时使T\(_{15}\)管导通,T15管又驱动T\(_{16}\)管导通。由于T10管为恒流状态,T\(_{16}\)管导通将使T13管基极驱动电流减小,进而限制了T\(_{18}\)管的基极驱动电流,这样就限制了输出电流,起到限流保持作用。
芯片过热保护电路由R\(_{1}\),R2及T\(_{17}\)组成。正常工作结温下,T17管截止。当温度升高时,使T\(_{17}\)管导通的VBE电压将减小,当温度达到设定的最高结温时,T\(_{17}\)管导通,限制T13管的驱动电流,与限流保护过程一样,起到芯片过热保护作用。
应用及注意事项
1.应用举例:TVW12集成稳压器采用F2封装,外形及管脚排列如图2所示。用它替代黑白机稳压电源极为方便,只要将原机电源调整管去掉换上TVW12,在它的输入和输出端分别对地接一只33~100μF电容。注意要把原机中电源输出端的大电容(220μF、330μF或470μF)去掉,不需任何调整即可正常工作。下边举两个例子说明替代方法。

①图3为金星B23—1型黑白电视机稳压电源。将图中打“×”处断开,A点和B点分别接到TVW12的输入和输出端,C和D点连起来接到TVW12的公共端。可使用原调整管的散热器,但要注意TVW12的外壳为输出端,不要与输入高电位相接。

②图4为牡丹23H3型黑白机稳压电源。将图中打“×”处断开,A点和B点分别接到TVW12的输入和输出端,C、D、E各点连起来后接到TVW12的公共端,再与地接通。也可以将原机稳压电源的全部元器焊掉,按上述方法接上TVW12。可使用原散热器,注意原机散热器是接地的,必须将TVW12与散热器绝缘好,或将散热器与地绝缘好。

2.应用注意事项:TVW12内部虽设有保护电路,在使用中仍需注意,以防意外损坏集成块。一般注意以下几个方面。
①防止输入端和输出端接反而损坏集成块。
②防止出现浮地现象:当TVW12装配不当或接地端虚焊时,将出现浮地现象。输出电压可能升高到接近于输入电压,有可能损坏负载。此时先切断电源,焊好接地端后再接通电源,切勿带电焊接,否则有可能损坏集成块。
③防止瞬时过压:当输入端出现瞬时电压超过所允许的最高输入电压时,可能导致损坏TVW12。靠近TVW12的输入端管脚接一只33~100μF电容再并接1只0.1μF左右频率特性较好的电容,以防止输入端出现瞬时过压现象。
④输出端不宜接过大的电容器。这是因为当某种原因使输入端对地短路时,由于大电容器储存能量大,通过集成块过程放电而有可能损坏集成块。
⑤应加合适的散热器:TVW12耗散功率较大,为了保证它正常工作,需要加合适的散热器。维修时使用TVW12,可用原机中调整管的散热器,但要注意散热器不能接地。(刘回安)