电阻检测器
图示电路是一个简单的电阻检测器。用来检测生产线上继电器、线圈或类似元件的阻值是否在允许的误差范围之内。图中R的阻值选择约为待测电阻R\(_{x}\)的80倍,并与5V电源构成电流源。IC1接成电压跟随器,对待测电阻Rx两端产生的电压起缓冲作用。IC2对R\(_{x}\)两端产生的电压进行放大,IC3和IC4将放大了的电压与上、下限电压进行比较。

上、下限的预调方法如下:上限预调是按产品技术要求规定的上限值,选用相应的电阻代替图中R\(_{x}\)接入电路中。调节上限调节电位器直到红色发光二极管V1发光为止。下限预调是用与下限电阻相应的电阻代替Rx接入电路中,调节下限电位器直到红色发光二极管V3发光为止。
当待测元件接入图中R\(_{x}\)处后,若红色发光二极管V1发光,表示待测元件的阻值高;若红色发光二极管V3发光,则表示待测元件的阻值低;若是绿色发光二极管V2发光,便表示待测元件的阻值是在允许的误差范围之内。(周联3嘁)
电源故障监视器
电路如图所示。该电路是一个廉价的低电平逻辑电路,它通过光电耦合器将交流或直流电源隔离开来。如果电源发生故障,电路的输出电平降为逻辑“0”,可通过触发器切断电路,响应时间为2ms。(徐波 张仲颖 编译)

廉价的触摸开关
这是一个利用绝缘栅场效应管输入阻抗高的特点,为危重病人设计的报警系统的开关电路,如图所示。电源经R1使V1(2N7000)的栅极电位为正而导通、V2截止,使继电器不动作。当患者的手指放在传感器触片上时,V1的栅极电位便下降为零而使其截止、V2导通,使继电器动作。

对晶体管V2无特殊要求,只要能可靠地驱动继电器便可胜任。传感器可用一小块印制板作成带状型。
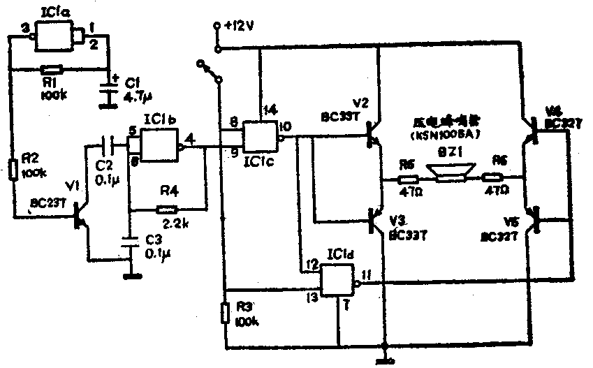
低功耗报警器
电路如图所示。该电路具有很高的效率,当输出有效值为10V时,电流消耗仅30mA。

低频振荡器IC1a通过C2的接入和断开,改变音频振荡器IC1b的频率。被调制的快速变化的音频信号,经IC1c送至输出级V2和V3;又经IC1d倒相后送至另一输出级V4和V5。压电峰鸣器接在两个输出级之间,两端的信号电压峰值可达20V。电阻R5和R6用来限制电流并稳定输出级工作。(廖小军)