随着电子技术的发展,大功率可控硅已由原来辫状引线型发展为模块型(俗称可控硅组件)。模块型比原有辫状引线型有体积小、重量轻、散热板与可控硅电路高度电气隔离、安装容易、耐冲击、抗有害气体腐蚀等优点,并且采用多只参数一致的可控硅相组合的办法,使其在现代大电流电子设备中已得到广泛使用。
大功率可控硅模块的外型及内部电路如图1所示,它由两只参数一致的单向可控硅正向串联起来,这样便于以此组成各种不同形式的控制电路。图2是几种常用的接法,其中图2A联接成与门电路,图2B为双向电路,图2C为半桥控制电路,图2D为全桥控制电路。


可控硅模块与普通可控硅一样,根据电压、电流的不同,有各种不同的型号和用途,见表一。不同国家或厂家生产的这类模块,虽然命名型号可能不同,但安装尺寸基本一致,这样就给维修用此模块安装的电子设备带来了许多方便。

可控硅模块常用于工业上的大电流控制场合,如电机调速、无触点开关、焊接、加热、调压、稳压、逆变电源等处。下面仅介绍两个常用的电路,可供读者参考。
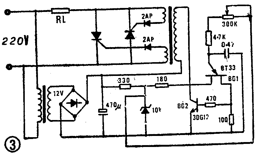
图3是一个舞台灯光调节器电路。可控硅模块内部的两只单向可控硅接为反向并联形式,等效成一只双向可控硅。BG1、BG2组成脉冲触发电路,调整图中的300kΩ电位器,可改变触发可控硅的导通角,从而改变了灯光的亮度。

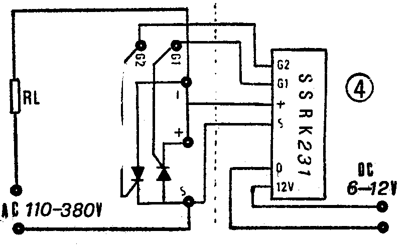
图4是一种组合式固态电子继电器电路,它由一只型号为SSRK231的集成电路作隔离兼作可控硅的推动电路。从图中可看出,这种固态继电器的使用电流由可控硅来决定。在不同电流的场合,只要改变可控硅型号就行了。SSRK231是一种通用的推动隔离电路,它能适应110V、220V以及380V的市电,又能推动10A~1500A的可控硅。图5是SSRK231的内部结构图,由于模块是由两只单向可控硅组成的,有两个不同极性的触发极,所以在SSRK231内部设有导向电路,表二是它的几个主要参数。(蔡婉婷)



