近年来随着收录机款式的更新,具有自动选曲功能的收录机逐渐增多,很大一部分机器采用了TC9165P选曲电路。关于该电路有关杂志曾作过介绍为使读者对TC9165P选曲集成电路有进一步的了解,现将TC9165P电路在星球SL858A上的应用及遇到的问题和解决方法作一个介绍,供参考。
工作原理
TC9165P采用16脚双列直插式塑封结构。具有经预置的5点选曲功能,欲选曲数通过预置开关存入内存,并由LED作相应显示。TC9166P内部电路主要由振荡电路、倒相放大器、电平比较器、曲间检测电路、时控电路、移位寄存器及激励器等组成,见图1。由此看出该电路集模拟电路与数字电路于一身。下面分析该电路的工作原理。

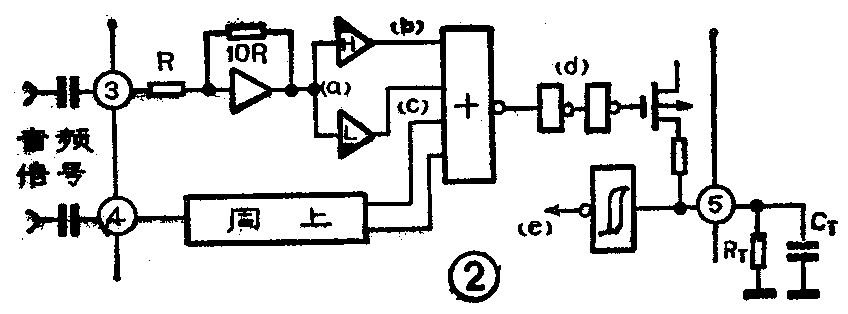
立体声信号从3、4脚输入,如图2所示与图2相对应各点的波形见图3,经相应的倒相放大器放大,送入电平比较器中,由高电平比较器[H]和低电平比较器[L]分别输出各自比较之后的信号到b点、c点。再由加法器把4路信号相加输出到d点,然后经5脚(DC—1N)外接的RT、CT平滑滤波。此电压再送入曲间检测电路,当放电后5脚电位低于VL时,检测电路检出信号。然后送入时控电路。所以由图3可以看出5脚外接RC的时间常数决定了曲间检测电路的时间Tm。


电路中振荡频率(Tosc)由外接RC决定。此振荡频率决定着防预置键抖动时间和7脚的输出脉宽T,(其中T=8/Tosc),并且作为内部移位寄存器触发脉冲。
预置:每按动预置按钮K\(_{2}\)一次,使10脚对地短接一次,输入一个负脉冲,内部计数器加1,相对应的LED灯点亮。
选曲:同时按下放音键和快进(或倒带)键,磁带高速通过磁头,当磁带经过一个曲间空白区时,3、4脚就无音频信号输入,此时由曲间检测电路检出,送入时控电路,使移位寄存器减1,同时选曲指示灯向低位变动1位。
选曲结束:当找到欲选曲的开头处时,移位寄存器送出“0”信号,使6脚输出为低电平, 7脚输出一个正脉冲,同时选曲指示灯熄灭。6脚或7脚信号经驱动电路及机芯传动部分,使快进或倒带键释放,从被预置的曲子开始放音。
清除内存:按动清除按钮,使9脚输入一个负脉冲,即可清除内存,同时选曲指示灯熄灭。
工作时各主要引脚的波形见图4。

通过上述分析可以看出,TC9165P虽然有外围电路简单,电路可靠性好等优点,但在使用中感到还不尽完善,与国外部份样机相比,还存在以下几个问题。
1.原选曲电路不具备自动选曲(APSS)功能。
2.当被选用机芯其选曲电磁铁是瞬间吸合型时,如SL858A机所用的LX-854P12S型机芯,工作时只能使用7脚输出的脉冲信号来控制电磁铁。若在选曲中途清除内存时,7脚并无脉冲输出,因此无法使机芯自动转入放音状态。
3.若在选曲中途直接按机芯停止键,机芯虽然停止工作,但内存不能自动清除。
完善电路功能的措施
对于第一种情况,虽然有了电脑选曲(APLD),但没有APSS功能将是使用中的一种缺陷和遗憾。能否利用TC9165P的预置功能来达到APSS功能,同时又不影响原来的预置功能呢。经分析,6脚、8脚、10脚之间有如下关系。首先,8脚(EN)是曲间检测动作禁止输入端子,若为低电平,把从5脚(DC-1N)来的输入视为无效,这时无论预置与否,6、7脚均无输出。6脚的输出电平除与8脚有关外还与10脚是否被预置过有关,即与内存有关。设有内存时为高电平,则以上几个管脚的输出状态有如下关系。
在无选曲信号时,8脚为低电平,这时是选曲禁止态,不予考虑。选曲信号到来时,有两种可能:①内存没有被预置过,6脚输出为零。②内存已被预置过,6脚输出为1。从上述分析可知,要实现APSS功能,只要用一个检测器件来判别一下当选曲信号到来后(即8脚为高电平时)6脚是什么电平,如6脚为低电平,检测器件输出一个信号,预置内在一次。如6脚为高电平,检测器件无输出信号,内存无需再预置。从而实现APSS功能。
图5便是改进后的电路。检测和预置功能均由BG\(_{9}\)来完成。当8脚为高电平时,若6脚为低电平,BG9将导通,使10脚形成一个负脉冲,从而起到预置作用。若一旦内存被预置,8脚高电平到来时,6脚随之变为高电平。但由于BG\(_{9}\)的导通与否同时取决于8脚和6脚的电位,而6脚的电位变化滞后于8脚电位,这样有可能会引起BG9的误动作,因此将BG\(_{9}\)基极信号适当延迟一段时间,以避开6脚对8脚滞后时间的影响。图5中R5C\(_{4}\)构成积分电路,用以对BG9基极信号进行适当延迟。

由上述分析可知,本电路APSS功能的实现过程是充分利用了TC9165P集成电路相关控制端的时序关系,从而使外围电路更为简单可靠。
2.在SL858A机上使用的是LX-854P12S型机芯,该机芯电磁铁工作是借助于7脚输出的脉冲信号。由图4可以看出,7脚只有当选曲终了时才有脉冲信号输出,其它情况下均为低电平。因此在这种情况下,要达到选曲中途按清除按钮时机器自动转入正常放音状态也就只能依靠外部电路来完成。解决方法见图5、BG\(_{11}\)平时处于临界饱和状态,K1为常开键,按动清除按钮K\(_{1}\)时,C7下端瞬间接地,由于C\(_{7}\)的作用,对BG11来说等于在基极加上了一个负脉冲信号,从而使BG\(_{11}\)很快由饱和转为截止。由R7、BG\(_{12}\)、R11向BG\(_{14}\)提供基极正偏压,使BG14饱和,驱动电磁铁吸合,使机芯退出选曲状态转入放音。图5中BG\(_{1}\)0与BG12为隔离二极管。
3.选曲中途若直接按机芯停止键,放音键和快进(或倒带)键由于机芯内部的机械联锁关系全部释放,8脚的选曲信号也随之消失,即8脚从高电平变为低电平,这是一个直接反映选曲停止的信号。但这时10脚无内存消除信号,原有内存不能自动清除,要实现自动清除可利用电容器两端电压不能突变的性质。在8脚与9脚之间并上一只电容器C\(_{6}\),当有选曲信号时,8脚为高电位,9脚也为高电位,C6两端电压很小,一旦选曲信号消失,8脚随即变为低电平,由于C\(_{6}\)的作用,使9脚形成一个负脉冲,从而达到了清除内存的目的。(何钢 王迅)