本文介绍的多路遥控报警器除了电路简单、适合业余制作外,还有如下特点:报警路数可达64路,在一般建筑群中报警半径大于500米,适合工厂、机关和部队等单位使用;发射机(即报警分机)遇情况被触发时,只间歇地发报警信号,1分钟后自动关机,因此主机(接收机)允许多台分机同时报警,主机会交替显示报警分机的号码并发出报警声。当分机被破坏时,主机将收到的信号封存并继续用声光显示,直至人工给主机复位;主机采用连收3组正确信号才开启等抗干扰措施,误报率极低;可使用交、直流电源并能自动切换;分机体积很小,便于隐蔽。
电路工作原理
报警分机电路中的编码调制部分和主机电路中的超外差接收检波部分,分别采用了遥控专用集成电路对LM1871和LM1872,这两块集成电路的内电路及详细工作原理请见本刊1986年第4期发表的《四通道遥控集成电路》一文,本文不再多介绍。

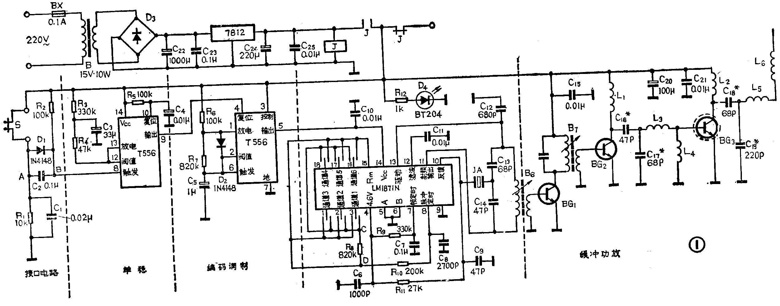
图1是报警分机的电原理图。报警器与各种传感器之间的接口电路设计成断路触发式,传感器可采用多种形式,如声、光、电磁、红外、微波、烟雾等。常态时,图1中的A点和B点均为高电平,当常闭接点S突然断开时,电容C\(_{1}\)迅速通过R1放电,A点降为低电平。因为电容C\(_{2}\)两端的电压此时不能突变,所以B点也迅速变为低电平,这样T556单稳触发端(第8脚)得到一个低电平触发信号,而后,随着电源通过R2给C\(_{2}\)充电,B点又回升到高电平,触发信号消失。单稳电路被触发后,第9脚输出高电平、在单稳期间内,电源通过R3给C\(_{3}\)充电,第12脚阈值端电位逐渐上升,当此电位值上升到阈值电位时,单稳态结束,第9脚还原为低电平。控电路中给出的数值,单稳时间约为1分钟。复位端第10脚外接的R5、C\(_{4}\)的作用是使电路通电时不被误触发。
当单稳电路第9脚输出高电平时,方波振荡器起振,产生占空比为1∶5的方波。由于LM1871的电源端(第14脚)直接受方波振荡器输出端(第5脚)的控制,所以在常态下LM1871不接通电源,只有在单稳态电路被触发后1分钟内,方波振荡器输出端为高电平时,才发出编码脉冲报警信号。
LM1871是一块6位脉冲编码调制器电路,它的1、2、3、16、17、18六个脚是编码输入端,各脚至第8脚的总电阻以及C\(_{8}\)决定各位码元脉冲的宽度。当编码输入端接C点时,其时间常数是(R8+R\(_{1}\)0)·C8,该位码元为宽脉冲,按电路中给定的数值,脉宽约为2.5mS;编码输入端接D点时,时间常数变为R\(_{1}\)0·C8,该位码元为窄脉冲,脉宽为0.5mS。如果设宽脉冲代表“1”,窄脉冲代表“0”,则构成了一个六位二进制编码,最多可容纳64路不同编号的报警分机。C\(_{7}\)和R9决定了每一组信号的周期,约为2.5mS。编码脉冲的间歇时间由R\(_{8}\)决定,约0.5mS。同频脉冲宽度等于每组周期减去六个信号脉冲的宽度和间歇时间,同步脉冲宽度应远大于信号脉冲宽度。图3a示出了5号分机的编码波形。
射频振荡部分接成电容三点式晶体振荡器,经编码脉冲调制后,驱动缓冲和射频功放电路,将报警信号发射出去。

图2是主机(接收机)电原理图。从天线接收到的射频信号,经BG\(_{1}\)、BG2两级射频放大后,输入到L-M1872的第5脚混频输入端,从第13脚得到还原的脉冲编码信号。此信号经BG\(_{3}\)和F1整形后,分为四路送给后面的译码电路。

第1路送给由R\(_{15}\)和C13组成的脉冲鉴宽电路,由于C\(_{13}\)的积分作用,在CP端移位脉冲到来时,宽脉冲(包括同步脉冲)在CD4015的置数端(第7脚)已积到高电平,寄存器存入“1”;而窄脉冲积不到高电平,寄存器存入“0”,如图3b。CD4015是双四位移位寄存器,在这里串接成八位移位寄存器使用。1Q0、1Q\(_{1}\)、1Q2、1Q\(_{3}\)、2Q0、2Q\(_{1}\)六个脚为六位二进制码输出端,2Q2是同步输出端。
第2路信号经R\(_{12}\)、C11及F\(_{2}\)构成的同步鉴宽电路检出同步脉冲(见图3c),去触发由\(\frac{1}{2}\)CD4098构成的单稳电路2。其Q-2端由原来的高电平变为低电平(见图3d),门F\(_{5}\)被打开。Q2端此时变为高电平,由于R\(_{16}\)和C14的积分作用,图2中的e点电位在延时一段时间后才变成高电平,见图3e。在e点变为高电平前,门F\(_{7}\)输出一个如图3h的正脉冲。门F7的作用是当同步脉冲过后,如在信号处理期间出现宽脉冲干扰,则由于单稳的定时作用,Q\(_{2}\)端仍为高电平封住门F7,不允许干扰脉冲通过。
门F\(_{7}\)开启后,第3路编码信号经F5倒相,作为移位脉冲送给寄存器的CP端(见图3f)。此移位脉冲逐位将置数端7脚输入的“1”或“0”移入相应的输出端寄存(见图3g)。
CD4511是四线—七段译码驱动器,其控制端的功能见表1。门F\(_{1}\)0输出的负脉冲一方面使CD4511的S-端变为低电平,同时通过触发由门F11和门F\(_{12}\)组成的RS触发器使I-B端变为高电平。从表1可知此时CD4511的工作状态为译码输出状态,它将驱动两个数码管显示出报警分机编号。RS触发器翻转后同时开启音响电路发出报警声响。即由门F13和F\(_{14}\)组成的振荡器起振,功放电路LM396驱动扬声器发出类似警笛的报警信号。这时如果分机事发信号负触发脉冲消失。因S-、I-B和L-T端均为高电平,CD4511处于锁存输出状态,数码管将一直显示最后收到的报警分机号,扬声器也不断报警,直至人工将RS触发器复位。如有多台报警分机被触发,不同的二进制编码交替送进CD-4511,则产生交替显示的效果。
表1
S- I-B L-T 数码管状态
X X L 日
X L H 熄灭
L H H 显示
H H H 锁存、输出
显示,其状
态决定S-=
L时的输入
第四路编码脉冲送入由D\(_{5}\)、C17、R\(_{2}\)0和F3组成的单稳电路,其作用是防止信号消失或信号间隔时间过长时,外来干扰脉冲带来的误触发现象。
制作与调试
收发天线均采用1.2米长的拉杆天线。如控制距离较近,也可用软线代替,这样更便于隐蔽。发射和接收差频为455kHz或465kHz。做定时、鉴宽的电阻、电容最好选用稳定性较高的金属膜电阻和涤纶电容。其余的阻容件无特殊要求。线路中电感线圈的数值见表2。
表2
代号 制作办法
L\(_{1}\).L4 φ0.2漆线在φ2.5塑管上分两段共绕120圈
L\(_{2}\) φ0.2漆线在φ2.5塑管上密绕一层共40圈
L\(_{3}\) φ1漆线绕成φ10、长12的簧状共12圈
L\(_{5}\) φ1漆线绕成φ10、长12的簧状共8圈
B\(_{6}\)7 用0.1漆线在10k型骨架上初级9圈次级3圈
B\(_{1}\)2 同上
B\(_{3}\) 用0.1漆线在10k型骨架上绕9圈
B\(_{4}\) 用TTF中周代用
B\(_{5}\) 同上
主机安装在石英挂钟内。在钟盘的下角开一个方窗镶住两只数码管。在钟壳朝下的侧面上安装扬声器和复位按钮,扬声器粘在钟壳内壁上并钻几个小孔以便发声。图4和图5分别为主机和报警分机的印制版图。分机电路调试时要分段进行,先调整单稳和方波振荡器。断开T556的第5脚与LM187第14脚的连线,通电时用万用表电压档测第5脚,应保持低电平。断开触发接口的常闭触点S,5脚呈高电平1秒钟、低电平5秒钟的振荡,约1分钟振荡停止。


调整编码和射频振荡部分时,先不要将T556的第5脚接上,而应将LM1871的14脚接至正电源端,并断开功放管BG\(_{2}\)的基极,还要将6个编码输入端分别接至C端或D端,不能空着,否则无编码输出。用示波器从LM1871第13脚可观察到编码波形,如有高频示波器可在B7次级观察到高频调制波。调整B\(_{6}\)7的磁芯使得波形最佳,然后接上BG\(_{2}\)基极,用场强仪观察发射场强,并调整电容C16、C\(_{17}\)、C18、C\(_{19}\),使得发射场强最强。恢复断点即可。
主机电路必须与分机联调,所以应把LM1871第14脚接至正电源,使发射机处于常发状态,然后将示波器接至LM1872的第13脚上,可观察到编码脉冲波形。逐渐拉开分机与主机的距离,仔细调整高放及中放线圈使接收效果最好。
译码部分的调整主要是几个单稳电路和鉴宽电路时间常数的设定,应参考图3所示各处波形来调整。信号鉴宽电路应使宽脉冲时的积分电压达到电源电压的2/3以上,而窄脉冲时又应低于电源电压的1/3,以便准确地区分出“1”和“0”。单稳1和2的调整分别通过调整C\(_{12}\)和C18进行。单稳1时间应调至每组周期的1.2~1.5倍。单稳2应调至比每组周期稍短些,即下一组同步信号到来之前,单稳2刚好结束。
本报警电路发射分机常态下电流小于10mA,发射状态电流500mA左右。接收主机常态下小于30mA,报警状态为100mA左右。(朱景丰)