为了实现主电路的三种工作状态,需要许多电路相配合,除了充当开关晶体管的功率组件(P、M)外,还需驱动电路、控制电路、保护电路、电源电路、显示电路等。下面对照电路图(见图5),对各部分电路一一加以介绍。

1.功率组件
它由BG\(_{1}\)~BG44只晶体管组成,BG\(_{1}\)~BG3并联,它们内部均附有阻尼二极管,用以吸收反向流动的电流。由于大功率管的放大倍数很低,所以要增加BG\(_{4}\),BG4和它们组成达林顿电路,以提高整个功率组件的放大量。
2.驱动电路
驱动电路实质上是一个脉冲功率放大器,因为控制电路产生的矩形脉冲,带负荷能力很差,必须进行功放后,才有足够的电流使功率组件饱和导通。驱动电路的另一个作用是:功率组件截止时,使截止加速。它由BG\(_{5}\)~BG9组成,当BG\(_{9}\)的基极加上正脉 冲时,BG9导通,因此BG\(_{5}\)和BG8的基—射之间均有电流流过,使BG\(_{5}\)和BG8迅速饱和,+18V(E\(_{2}\))电压经BG5和R\(_{1}\)加向功率组件,使主电流i迅速上升。而BG8的饱和,使BG\(_{7}\)、BG6截止。
要使L\(_{1}\)、C1发生串联谐振,并使电磁灶的功率管不致烧毁,必须在电流i增长到一定值时,使P.M迅速关断。但因BG\(_{1}\)~BG4的基区有电荷存贮效应,它影响功率组件的关断速度。为了迅速消除基区的存贮电荷,办法之一是关断时对P、M的基极—射极之间加上反压。驱动电路的设计,即可以达到此目的。当BG\(_{9}\)的基极正脉冲消失后,BG4截止使BG\(_{5}\)和BG8截止。BG\(_{5}\)截止使加向P,M的基极电流消失,BG8截止使BG\(_{7}\)、BG6饱和导通,于是+8V(E\(_{3}\))电压经BG7、BG\(_{6}\)加至BG1~BG\(_{4}\)的射一基区,从而将P,M的基区存贮电荷迅速拉出,P.M迅速截止。
3.控制电路
它由IC\(_{2}\)(LM339)等组成,它能产生宽度可变的正矩形脉冲,这个脉冲在主电路的L1、C\(_{1}\)的谐振峰UX过后立即产生,它使主电路完全符合工作状态。
电路中使用了四比较器LM339,它的特点是,每个比较器有个输入端和一个输出端,输出端相当于一只不接集电极电阻的晶体管,所以在使用时,输出端到电源正极必须接一只电阻。当电平高于时,输出晶体管截止,相当于输出开路。当电平高于时,输出晶体管饱和,相当于输出端接地。因此,允许各比较器输出端连在一起使用。
3.1 振荡电路:它由IC\(_{2}\)-C等组成,假如开始时它的2脚为开路(高电平),由R26和R\(_{27}\)分压,使U5≈0.9E,因此E\(_{2}\)经R23、R\(_{24}\)向C14充电。当U\(_{4}\)>U5时,2脚接地(低电平),C\(_{14}\)→D12→2脚对地放电,E经R\(_{26}\)、R25分压,使U\(_{5}\)=0.1E,当C14放电到U\(_{4}\) <U5时,2脚又成为开路状态,于是上述过程又重新开始。U\(_{4}\)电压就成为图6所示的abcde锯齿波,其周期约70μs。

3.2 同步脉冲形成电路:它由IC\(_{2}\)-A、IC2-B和BG\(_{11}\)等组成。X信号就是UX、Y信号就是交流电经整流后的脉动直流、它们经电阻分压后成为X′和Y′如向IC\(_{2}\)-A,Cl3、R\(_{19}\)是微分电路,只有IC2-A输出电压的突变部分可以通过C\(_{13}\)形成尖脉冲而加向BG11基极。
现在对照图5和图6进行分析,当X′上升后再一次快降回到0时,即X′<Y′时,BG\(_{11}\)的基极获得负尖脉冲,在R22上形成正尖脉冲U\(_{1}\)0,当U10>U\(_{11}\)时,IC2-B的输出端接地,由于它的13脚与IC\(_{2}\)-C的2脚是连在一起的,所以它的接地使C14上正在上升的锯齿波U\(_{4}\)提早放电而跌落,这就达到了同步的目的。见图6的ab′cd′e锯齿波,其周期约40μs。
3.3 脉宽调制电路(P、W、M):它由IC\(_{2}\)-D等组成。IC2-D的6脚被加上锯齿波ab′cd′e,而7脚被加上某一直流电平U\(_{7}\)。当U6<U\(_{7}\)时,IC2-D的1脚就输出某一宽度的正方波U\(_{1}\)了,改变U7,就改变了U\(_{1}\)的脉宽,也就改变了主电流i,即改变了电磁灶的消耗功率。而脉冲的重复频率变化很小。
另外,所有的保护电路都是使U\(_{7}\)=0来起到保护作用的。显然,从图6可见,U7=0就使U\(_{1}\)=0,主电流i→0。因此,P、W、M电路是每种电磁灶必不可少的电路。
4.保护电路
4.1 电流反馈和功率控制电路:它由电流互感器CT,整流桥堆和比较器IC\(_{3}\)-A等组成。在电磁灶工作过程中,有时会引起P、M的电流异常上升的现象,而且很可能电流会比较集中在某只管子的硅片的某一点上,大电流使该点的温度上升,该点温升后电阻变小,于是更大的电流流过该点,温升更高……,最终引起该管烧坏,这就是“热暴”现象。此外还有二次击穿现象等,为了防止电流异常上升,必须采用负反馈。
图5中CT的次级电压U\(_{PQ}\)正比于初级电流i,经桥堆和射随器BG13后,最终成为电压U\(_{f}\)加向IC3-A的8脚,W\(_{1}\)是功率调节电位器,从它的滑臂取得的电压Ut加向IC\(_{3}\)-A的9脚。IC3-A接成减法电路,它的输出U\(_{m}\)=K(Ut—U\(_{f}\),),其中K是放大倍数,Um经D\(_{13}\)使P、W、M电路的U7降低。当i异常上升时,引起U\(_{f}\)↑-(Ut-U\(_{f}\))↓-Um↓-U\(_{7}\)↓,矩形脉冲变窄,使得i↓,所以它能有效地防止电流异常上升,使灶工作稳定。当调节W1使U\(_{t}\)↑时,(Ut-U\(_{f}\))个-Um↑-i↑-U\(_{f}\)↑……。最终使i增加一点,在一个新的i值下稳定下来。W1下调,则i↓。
4.2 负荷检测电路:它由IC\(_{1}\)-A和BG12等组成,七的作用是:在加热过程中从台板上拿去锅,或偶然将小铁匙放在空台板上时不加热。
IC\(_{1}\)-A的9脚加上Uf,8脚加上从X信号采样的电压U\(_{K}\),正常加热时总有Uf>U\(_{K}\),参见图7a,当把锅取去后,P、M1截止时产生的谐振峰变高。这是因为锅相当于变压器的次级负载,锅取走就变成空载,L\(_{1}\)中的等效损耗变得很小,所以P、M截止时,谐振峰UX变高。并且在市电过0,i几乎为0时,仍有一定高度的谐振峰,这样U\(_{X}\)的平均值就变得大许多,UK↑↑并很快超过U\(_{f}\)(见图7b),由于UK>U\(_{f}\),IC\(_{1}\)-A的输出降为0,体P、W、M由路的U7为0, 从而使i≈0(见图7b两曲线的交点处的电流值),电磁灶停止加热。其中,射随器能大大提高X″信号的带负荷能力,并将脉动的高频波变成直流电平,而C\(_{21}\)、R40的作用是:当锅放回台板时,使U\(_{K}\)缓缓下降,从而对重新加热起到一定延时作用。实验证明,这种电路能加热不锈钢锅,而对铝锅等则不加热。

4.3 试探脉冲产生电路:当锅重新放回台板上时,该电路使电磁灶再度启动变得容易。它由IC\(_{1}\)-C等组成,正常加热时,输出un为高电平,当无负荷时IC\(_{1}\)-A的14脚为0V,使Q14截止,IC\(_{1}\)-C就开始振荡,它产生宽度为0.2秒,周期为2秒的正脉冲。因此主电路只是当un脉冲来时工作一下。当锅重新放回台板上时,u\(_{n}\)相当于一个“点火火种”,使灶重又加热。
4.4 功率管过热保护电路:它由IC\(_{1}\)-D和热敏电阻Rt1等组成,R\(_{t1}\)紧贴在功率管表面,IC1-D的U\(_{6}\)=7.1V,在室温下Rt1的阻值>100kΩ,所以有U\(_{7}\)>U6,IC\(_{1}\)-D输出开路。当功率管表面温度达到75℃时,Rt1阻值变小,并使E经R\(_{62}\)、Rt1分压后的电平小于7.1V,于是IC\(_{1}\)-D输出接地,使IC2-D的7脚为0电平,从而使i→0。
4.5 顶板过热保护:它由IC\(_{1}\)-B和热敏电阻Rt2等组成。R\(_{t2}\)紧贴在台板(微晶玻璃)的下面,调节R64,使锅内温度为某值时(例如油温230℃),使保护电路动作。如果用于锅内水烧干时保护,则保护点应定在140℃。
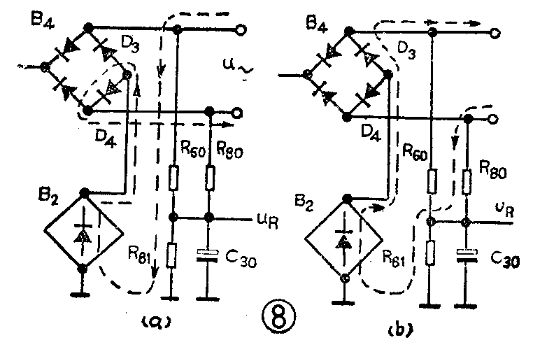
4.6 过压保护电路、欠压保护电路:该两电路分别由IC\(_{3}\)-C和IC3-D等组成。首先谈一下采样电路,见图8,它利用电阻分压和桥堆的某些臂将交流整流成直流信号,在U\(_{~}\)为上正下负时,电流方向如图8a所示,在U~为上负下正时,电流方向如图8b所示。因此,在电阻R\(_{81}\)上可以获得数伏的直流电压UR,它被送向IC\(_{3}\)-C和IC3-D。

U\(_{~}\)正常时,IC3-C的U\(_{4}\)=UR=2.8V<U\(_{5}\),IC3-C输出开路,过压保护电路不工作。另外射随器BG\(_{19}\)是导通的,当U~≥242V(220+220×10%)时U\(_{R}\)>2.8V,使IC3-C翻转,输出为0,经BG\(_{17}\)、BG18后,使IC\(_{2}\)-D的7脚为0,起到保护作用,此时IC3-C\(_{2}\)脚为0V,使BG19不导通,U\(_{5}\)的电压就完全决定于R82和R\(_{83}\)的分压值,为2.7V,促使UR更大于U\(_{5}\),这就使翻转后的状态极为稳定,避免了过压点附近U~的抖动所引起的不稳定现象。由于人为制造了一定的回差,在过压保护以后,U\(_{~}\)要降到242-5=237V时,才有UR<U\(_{5}\)=2.7V,电磁灶才又开始工作。这里暂称这种电路为直接采样——人工回差式过、欠压保护电路。它的动作仅与电源电压有关,和主电流(负荷)的变化几乎无关,且工作稳定可靠。
欠压保护电路这里就不再赘述了。要说明的是,当U\(_{~}\)≤(220-220×15%)即187V时,该电路才动作。并联在功率管两端的氧化锌压敏电阻,能有效地吸收1500V以上的浪涌电压,保护功率管。(许葆华)
