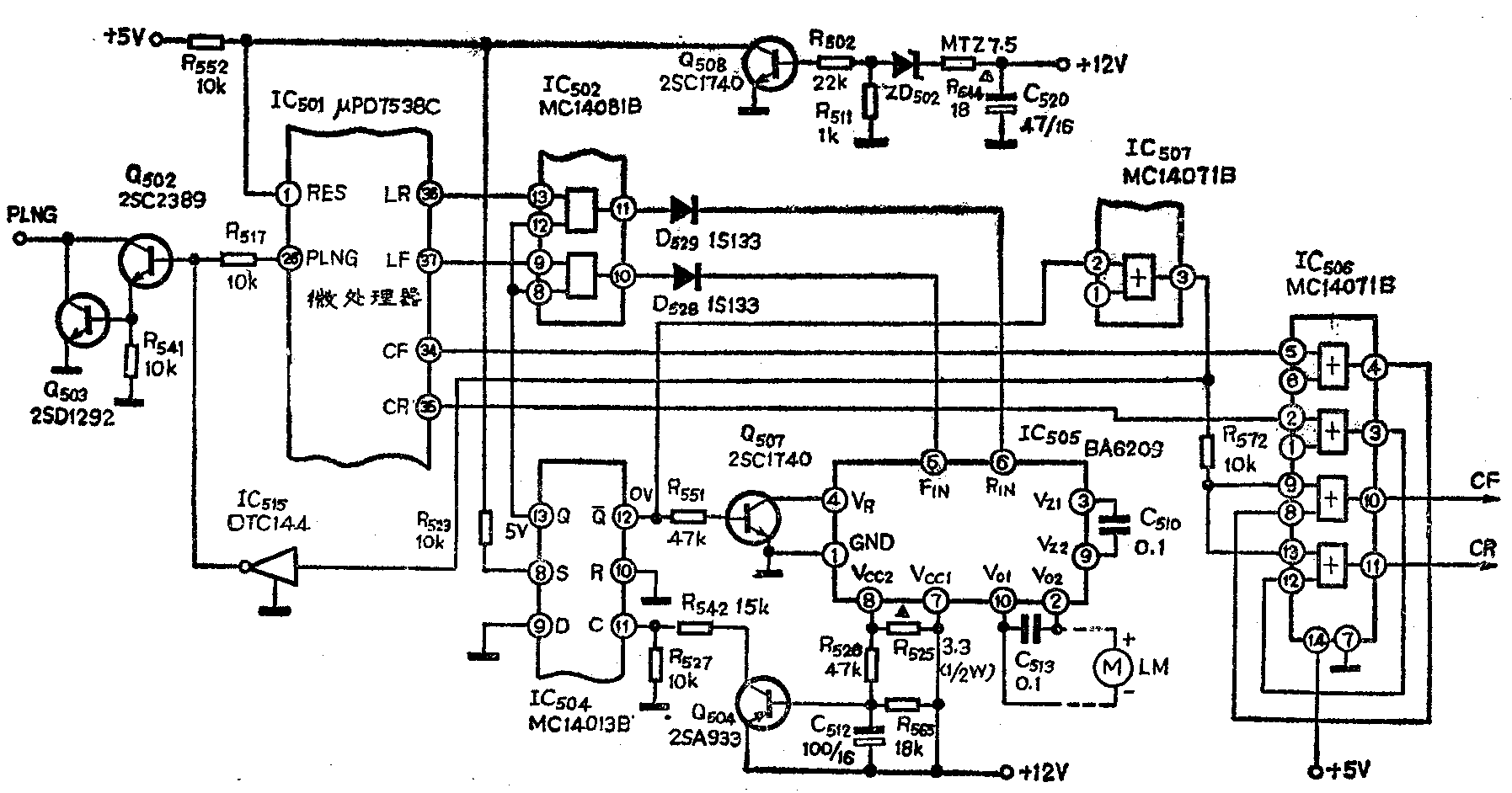
富丽VIP-1000型及采用相同机芯的摩力士VCP-777型放象机,是日本早期生产的普及型单放机。在这类机芯的系统控制电路中,设置了比较完善的加载过流保护电路。本文以一台典型的故障机为例,介绍这部分电路的控制原理和检修方法。有关电路如图所示。

故障现象:一台VIP-1000型放象机,接通电源后,电源指示灯亮,但不能进行重放、快进和倒带操作。
分析与检查:打开机盖,接通电源,置重放操作。磁鼓旋转和加载动作均正常,但穿带后主导轴不转,因而不能走带。数秒后自保,磁鼓停转,但不能自行退载。关断电源再次开机时,加载机构退回到停机状态,且磁带回绕正常。进行快进或倒带操作时,故障特征与重放类同。
分析以上现象可知,该机微处理器的控制功能基本正常,加载电机、主导轴电机和它们的驱动电路也能够工作,但是在控制电路中存在两个问题:①加载到位后为何主导轴不转?②自保后为何不能退载?从电路原理图可见,与这两个问题同时有关的是加载过流保护电路中的D触发器IC\(_{5}\)04。其脚Q端控制着加载电机正、反转与门IC502,正常时应为+5V;其脚Q-端控制着主导轴电机制动或门IC\(_{5}\)07,正常时应为0V。
再次进行重放操作,同时测量IC\(_{5}\)04脚电位,发现当穿带到位时脚电位由+5V变为0V。这说明D触发器此时受到触发而翻转。同样,置快进或倒带操作,当加载到达F/R位置时,D触发器均由“1”变“0”。从电路原理可知,导致D触发器被触发置零的原因可能是Q504导通。而Q\(_{5}\)04导通的基极电位,是由加载电流取样电阻R525上的压降,经R\(_{526}\)提供的。
重复放象操作,同时测量R\(_{525}\)两端的电压,发现在穿带到位的瞬间,此电压达到2.2V,而正常时应小于1V。造成R525上压降增大的原因有两个:一是由于某种原因使加载电流过大;二是由于R\(_{525}\)的阻值变大。先测R525的阻值(用R×1档),正确值是3.3Ω,实测为8.2Ω,说明R\(_{525}\)已变质。用两只1/4W、6.8Ω的金属膜电阻并联后换之,开机后放象机工作正常,故障排除。
故障机理:在原理图中,IC\(_{5}\)05是加载电机(LM)的驱动集成块,+12V电压经R525加到⑧脚供给其内部输出电路。加载电机的电流I\(_{LM}\)流过R525,并产生取样电压U\(_{R525}\)。正常情况下的ILM、U\(_{R525}\)的参数如附表所示。从表中可见,加载到位时比加载过程中的ILM明显增大,而快进或倒带(F/R)时又比重放(P)时大。这是由加载机构的负荷变化决定的。从表中还可见,正常时的 U\(_{R525}\)小于1.1V,这一电压经R526、R\(_{565}\)分压后加在触发管Q504的基、射极之间,不足以使Q\(_{5}\)04导通。

在由于某种原因使U\(_{525}\)大于2V时,Q504便导通,其集电极电流在R\(_{527}\)上的压降就形成正的触发电压。由于D触发器IC504的⑨脚D端接地,因而当其脚C端加入触发电压时,触发器便被置零。上述故障机由于R\(_{525}\)变值为8.2Ω所致,因此出现加载过程尚能完成而加载到位的瞬时产生错误触发的现象。
D触发器被触发置零后,其脚Q端变为“0”,脚Q-端变为“1”,这将引起下述控制作用:
(1)Q-端的高电子加到主导轴制动或门IC\(_{5}\)07,的一个输入端②脚,则③脚输出+5V制动电压。此电压分为两路:一路经R572加到IC\(_{5}\)06的两个或门输入端⑨、脚,则输出端⑩、均变为“1”,即主导轴电机正转(CF)、反转(CR)控制电压同时变为+5V,经驱动电路使电机两端均为0V,因而主导轴电机停转;另一路加到RQ组合管IC515的输入端,使IC\(_{515}\)饱和导通,进而使螺线管(PLNG)的推动管Q502、Q\(_{5}\)03截止。这在快进或倒带时,使带盘螺线管释放,从而对供带盘和收带盘进行轴刹。上述控制过程是导致本例故障机在加载到位后不能走带的原因。
(2)由于Q端变为低电平,它将使加载电机正转(LF)、反转(LR)控制门IC\(_{5}\)02的⑧、脚也变为“0”,因而使两个与门封闭,输出端⑩、脚均为“0”。这使加载电机驱动集成块IC505的⑤、 ⑥脚得不到正转和反转开关电压。同时,Q-端的高电平经R\(_{551}\)使Q507饱和导通,从而将IC\(_{5}\)05④脚控制端接地。因此加载电机停转。本例故障机由于不能走带,数秒后微处理器发出自保停机指令,其输出加载电机反转卸带控制电压。(在F/R时则5输出正转退载控制电压)。但是,由于上述原因造成该机在自保时不能自行退载。
(3)D触发器置零后,放象机处于自保停机状态。当关断电源再次接通时,由Q\(_{5}\)08形成的开机复位脉冲一路送到微处理器①脚复位端,另一路经R523加到D触发器⑧脚S端,使D触发器置“1”,Q端恢复为高电平,从而解除了加载过流保护状态。对于本例故障机,由于自保时未能退载,因而在重新开机时,微处理器5将输出退载指令。如果是在重放位置,还将输出主导轴反转指令,使磁带回绕收紧。这恰好说明该机的微处理器以及加载电机、主导轴电机等有关部分均为良好。
综合以上分析不难看出,检修这部分电路的要点是测量D触发器的状态和R\(_{525}\)上的电压。在实际维修中,较为多见的是R525的阻值变大。由于其阻值变大的程度不同,以及加载过程中负荷的变化,使得R\(_{R525}\)达到触发值的时刻就会出现在加载过程中的不同位置。因此而导致的加载障碍和控制失灵,除了本文例举的故障现象外,还可能出现加载不能启动、加载不能到位,以及重放正常而不能快进和倒带等不同的故障。(云南开远五交化站 于文涛)