确保安全的光电检测电路
绝大多数光电防盗报警电路的致命弱点是:只要用一束光线照到光电报警器上,系统就会失效。这样入侵者在通过光束之前,只要用一只手电筒照向报警器,就不会触发光电报警电路。

上图所示是一种经过改进的光电报警电路。这一电路实际上包含两个系统,一个系统当光度减弱时报警,另一个当光度增强时触发报警。图中的电位器R\(_{1}\)、R3用来控制系统的灵敏度,可先调好R\(_{1}\),使光线强度增强到一定程度时报警;再调整R3,使光线强度减弱到一定程度,就能报警。
电视光敏报警电路
目前,在安装闭路电视进行监视的重要场合,一般都装有其它类型的报警系统进行保护。其实,利用电视监视器上的图象变化,也可以报警。
电视光敏报警电路如下图所示。一路是当光度减弱时触发报警,而另一路则是当光度增强时触发报警。由于光电管从电视屏幕接收光信号所产生的信号是交流信号,所以加上整流二极管D,整流后的信号再经过电解电容加以滤波。
这一电路实际上是检测图象的反差变化,使用时要使光强暗一些,以免光电管饱和。这些最好是通过试验来解决。(王补)
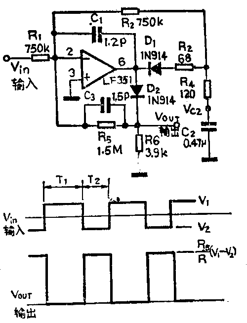
运算放大器箝位电路

上图是运算放大器箝位电路,它能将输入脉冲信号的正峰值箝位到零基电平,并将输入信号反相、放大R\(_{5}\)/R1倍。箝位电路的输入、输出波形见下图。
在T\(_{1}\)期间,D1导通,C\(_{2}\)将被充电至峰值Vc2=-(R\(_{2}\)/R1)V\(_{1}\),为了完全充电,C2和R\(_{4}\)应选择为C2R\(_{4}\)《T1。由于D\(_{1}\)导通时D2截止,此时输出信号为零。
在T\(_{2}\)期间,运算放大器由V2和C\(_{2}\)(C2R\(_{2}\)》T2)上的电压V\(_{c2}\)共同驱动,使运算放大器的输出为正。因而,D1截止、D\(_{2}\)导通。此时输出电压由下式决定V输出(T2)=-(R\(_{5}\)/R1)V\(_{2}\)-R5/(R\(_{2}\)+R4)V\(_{c2}\),由于R4《R\(_{2}\),使得V输出(T2)=(R\(_{5}\)/R1)(V\(_{1}\)-V2)
若要将负峰值箝位到零电平,则应将D\(_{1}\)和D2反接。该电路可工作在2kHz以下的频率。(周联3译)
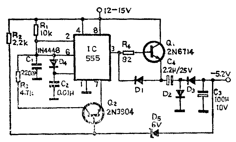
由正电源获得-5V的稳压电路
图示电路可从12~15V的正电源获得-5V的电源,其电流范围为0~50mA。

电路工作期间,555时基电路的频率随负载电流变化,使得脚3输出的正脉冲重复频率有所变化,但其脉宽却相对恒定。每来一个脉冲可使Q\(_{1}\)导通一次,并且使C4迅速充电。当脚3把C\(_{4}\)的正极端拉向低电位时,C4上的电荷就转移到C\(_{3}\)上。
电源负载调整率约为1.5%。当脚3为高电位时,C\(_{1}\)通过R1充电;当脚6达到23V\(_{cc}\)的阀值时,脚3变为低电位,然后通过R3、Q\(_{2}\)和IC内部与脚7相接的开路集电极晶体管放电。只要负的输出电压足以打通6V稳压二极管D5,晶体管Q\(_{2}\)就保持在截止状态。当负载电流使C3放电到足以使D\(_{5}\)截止,Q2则导通,C\(_{1}\)开始另一次的放电。