本文向大家介绍一种利用普通示波器来显示晶体管输出特性的附加装置。
性能简介
利用本测试装置,配合示波器可方便地测得各类中、小功率晶体管的共射极输出特性,固定显示每簇8条特性曲线,同时可观测直流负载线、击穿特性和击穿电压等特性参数。
基极阶梯电流:分0(关)、0.05、0.01、0.02、0.05、0.1、0.2、0.5、1mA/级,共9档;
集电极扫描电压(峰值)分0~25V和0~50V两档,均连续可调。
极性选择分正(NPN)、负(PNP)两档。
功耗限制电阻分0、0.1、0.2、0.5、1、2、5、10kΩ,共8档。
电路的工作原理
本装置由基极阶梯波电压发生器、集电极扫描电压发生器、功耗限制电阻、取样电阻和被测管座等部分组成,其原理方框图如图1所示(图中以NPN型晶体管为例)。为了利用示波器作为X—Y描绘仪把I\(_{c}\)与VCE的关系曲线描绘出来,我们可以将V\(_{CE}\)加到示波器的“X”输入端,则水平轮X相当于VCE轴;而把集电极电流I\(_{c}\)的取样电压VY(V\(_{Y}\)=-IcR\(_{s}\))加到“Y”输入端,则垂直轴Y相当于Ic轴。若集电极扫描电压V\(_{CE}\)与基极阶梯波电流IB之间保持图2(a)所示的时间关系,则对应于阶梯电流的某级阶梯,集电极扫描电压周期性地变化一次(从零到最大值,又回扫到零),光点在屏上完成正程(自左至右)和回程(自右至左)各一次,并描绘出一条特性曲线。当一个扫描周期结束时,阶梯波上升一级,光点也相应跳跃一个高度,以便完成下一条曲线。如此不断循环,由于荧光屏的余辉效应和人眼的视觉暂留特性,因此,在屏上看到的是一簇曲线,如图2(b)所示。曲线的条数等于阶梯波电流的级数。



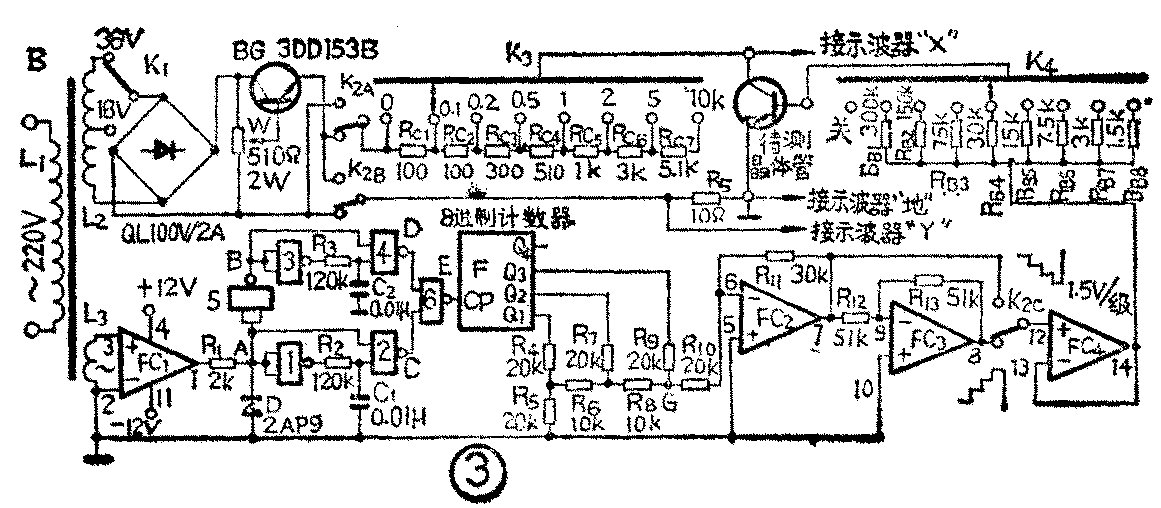
图3是该附加测试装置的电原理图。图中由变压器B、全标QL和调整管BG等元器件构成集电极扫描电压发生器。220V市电经B降压后,在其次级线圈L\(_{2}\)上得到18V或36V的交流电压,再经QL整流后输出峰值约为25V或50V、重复频率为100Hz的全波脉动直流电压,作为被测管的集电极扫描电压。K1和W分别作为此扫描电压的粗调和微调,K\(_{2}\)用于改变扫描电压的极性,以满足测试两种极性(NPN和PNP)晶体管的需要。由开关K3和电阻R\(_{c1}\)~ Rc7构成本装置的功耗限制器,其作用是改变被测管的集电极负载以限制其集电极电流。
基极阶梯波电压发生器
基极阶梯波电压发生器基本装置的核心,它由运放FC\(_{1}\)~FC4、计数器F、与非门1~6等元件构成。下面将对这部分电路作一扼要说明。
1.阶梯波级数的选择:在扫描频率为100Hz的条件下,为了能尽量显示出较多的特性曲线,阶梯波的级数定为8级/簇。这样,曲线簇的扫描频率为12.5幅/秒,人眼略能感到闪烁,但对测试无影响。
2.电路工作原理:为了从运放FC\(_{4}\)的输出端获得每秒100级的阶梯波电压,且保证阶梯波与集电极扫描电压之间有图2(a)所示的时间配合,计数器的触发脉冲必须与VCE同步。同步信号是从变压器B的次级L\(_{3}\)上获得的,其频率为50Hz,经过零比较器FC1和限幅电路R\(_{1}\)、D后,成为以“地”为基准的直流方波信号。此方被一路直接触发由与非门1、2构成的单稳电路,另一路经与非门5倒相后再触发由与非门3、4构成的单稳电路。这时,两单稳电路的输出端有相同的输出波形,均为50Hz的负窄脉冲波,但其相位互差180度。最后两负窄脉冲由与非门6合并成重复频率为100Hz的正向脉冲串,作为计数器的触发(CP)信号。图4示出了该信号的形成过程。电路中8进制计数器F在上述触发脉冲的作用下,将输出10进制数0至7的相应二进制码000至111,其中高电平“1”约为电源电压12V,低电平“0”约为零伏,波形如图5a所示。由电阻R4~R\(_{1}\)0构成的R/2R电阻网络将这些数字信号按权位衰减,在图3的G点形成一阶梯波信号,其波形如图5(b)所示。运放FC2、FC\(_{3}\)和FC4分别接成2个反相放大器和电压跟随器,将阶梯波信号进行放大、倒相等处理,由FC\(_{4}\)输出一幅值为1.5V/级,并有一定负载能力的正或负向(由K2c转换)阶梯波电压。

3.阶梯波的调试:可分两步,最好在数字电路实验板上进行。第1步:用示波器观察与非门6的输出,应为100Hz的正向脉冲波。若与非门6无此脉冲输出,则说明两单稳电路不工作或FC\(_{1}\)无交流方波输出;若与非门6输出重复频率为50Hz的正脉冲,则有一个单稳电路没工作。对照图4所示波形需作进一步检查,直至与非门6有正确的输出。第2步:用双踪示波器观测输出端(Q1、Q\(_{2}\)、Q3)的波形,应按8进制循环,同时观察图3中G点的波形,应为8级阶梯波电压,并通过调整使从FC\(_{4}\)输出的阶梯波达到如下要求:(1)调整电阻R11的数值,使每级阶梯波电压的幅值为1.5伏;(2)保证各级阶梯波间隔的均匀性,亦即要求电阻R\(_{4}\)~R10有较严格的两倍关系。
元件选择
运放FC采用一块廉价通用的LM324,计数器F的型号是C183或CD4520,与非门1~6选用两块CD4011。调整管BG选用3DD153B;B选用双18伏输出的电源变压器,功率约需10W,次级线圈L\(_{3}\) 用φ0.21左右的漆包线在变压器的剩余窗口内穿绕几圈,使其有0.3至0.5伏的输出即可;取样电阻Rs用锰铜丝绕制,阻值为10±1%Ω,功耗0.5W;功耗阻制电阻R\(_{c1}\)~Rc7分别选用额定功率为2W、2W、2W、1W、0.5W、0.25W、0.125W的金属膜电阻。其余元件或参数均如图3所注。本装置的直流电源采用两节12V积层电池提供。
有关测试的两点说明
1.输出特性曲线在示波器屏上的位置:由图1可以看出,扫描电压V\(_{CE}\)与取样电压VY互为反极性。因此,当被测管为NPN型时,V\(_{CE}\)为正,VY则为负。反映在示波器屏上,则水平轴X(V\(_{CE}\))为正,垂直轴Y(VY)为负,故曲线位于第Ⅳ象限;与此相反,当被测管为PNP型时,曲线位于第Ⅱ象限。
2.直流电流放大系数β-的计算:β-=D\(_{Y}\)h/IBR\(_{S}\)式中:DY——示波器的垂直偏转灵敏度(mV/cm);h——相邻两条特性曲线之间的垂直距离(cm);IB ——基极阶梯波电流(mA/级);R\(_{S}\)——取样电阻(Ω),本电路中RS=10Ω。
有关其它一些参数或特性的测试,在此不再赘述。(金丽生)