目前电子表所用的32768赫石英晶体的等效电路、参数及阻抗频率特性曲线如图1所示。其串联谐振频率f\(_{s}\)及并联谐振频率fp的典型值分别为32762及32790Hz。大家知道,石英晶体的实际工作频率应在f\(_{s}\)与fp之间。在这区间晶体是作为一个感性元件来使用的。采用图2电路的石英晶体振荡器,实验结果表明,通过改变电容器的容量大小可以方便使晶体的工作频率在32765Hz与32780Hz之间变化。


在这一频率范围内,利用CD4040进行分频来获得60Hz信号的电路主要有图3所示的4种。其工作原理可以通过图4所示的CD 4040的I、J、K、L输出端的波形图来说明。很明显,若重置电路设计在4/60S、5/60S、6/60S或7/60S时进行置零操作,则I点输出的脉冲数必相应为4、5、6或7个。这样每秒输出脉冲数就是60个,即频率为60Hz。同样的方法,若重置电路设计在2/50S或3/50S时进行置零,则我们还可以得到50赫信号。但这还必须对I点的输出波形进行处理才能保证在2/50S和3/50S内只输出2个和3个脉冲。其具体电路及输出波形见图5。

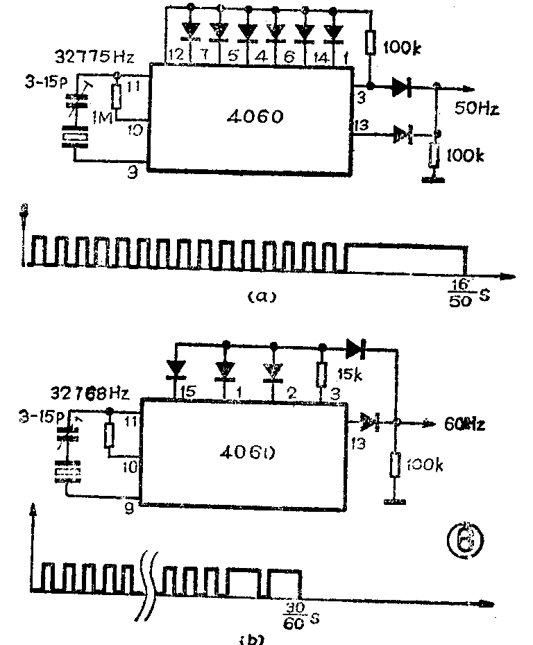
以上几种电路均需要两块集成电路。图6给出了两种最为实用的时基信号电路。电路中仅采用一块集成电路CD 4060就可产生50Hz,60Hz标准信号。图6(a)电路的分频比为10488(8+16+32+64+128+2048+8192=10488)。当石英晶体的工作频率调定为32775Hz时,电路的重置周期刚好为:T=10488/32775=16/50S,在这段时间内,当CD 4060的3脚(I端)输出16个脉冲后13脚立即跳变为高电平,经过两个二极管组成的或门电路将第16个脉冲延长为一个宽脉冲,这样每秒输出脉冲正好为16÷16/50=50,即50Hz。

图6(b)脉冲序列周期为30/60S(见图4)故无须用重置电路。电路中只用了二极管组成的与或门电路来对I点输出的最后4个脉冲(29.30.31.32)进行处理,使其变为两个宽脉冲。具体过程是这样的:当13脚(I端)输出第29个脉冲后,3脚、2脚、1脚及15脚(N、M、L、J端)均变为高电平,通过二极管使输出的第29个脉冲与第30个脉冲连为一体。同样在第31个脉冲后,上述各脚又同时为高电平,进而将第31个脉冲与第32个脉冲连为一体。这样在30/60秒的时间内电路仅输出了30个脉冲,即频率为60Hz。(李文谦)

