在图示均衡器的应用日趋普遍之后,又出现了一种称为参量式均衡器(Parametric Equalizer)的新型音调控制电路。
一般仅用两个旋钮的音调控制器只对固定的两个频率(例如100Hz和7kHz)提升或衰减,图示均衡器也仅能在预定的几个频率点上加以调整,而参量式均衡器则能在较宽的范围内连续改换频率并控制增益,倘应用得当,能给人一种新奇的感受。
日本的TEAC牌V-2RX和V-4RX两款盒式录音座采用了这种均衡器后,无论录音和放音都能对60~500Hz的低频段里任意一处频率调节±15dB的增益。国产的华强牌PA-830和PA-850两款扩音机也采用参量式均衡器,设有两个频段:70~700Hz和1~10kHz,均可做出大于±12dB的控制。还有些厂家把参量式均衡器做成单独的小匣子,让用户根据实际需要安插到自己的音响系统里。
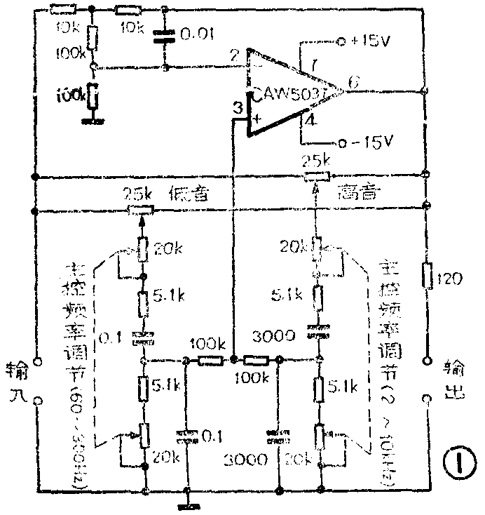
图1是一种较为典型的参量式均衡器,电路并不复杂,由于运用了文氏电桥的选频特性,性能相当稳定,图2是其频率特性。在低频段(60~300Hz)和高频段(2~10kHz)里各设有一只20kΩ的双连电位器改变频率,再由25kΩ电位器在选定的频率上对信号进行±9dB的提升或衰减。运放集成电路CAW5037的特性跟国产的F5037完全一样,图中注有*号的电容器允许在调试过程中适当更换其容量。图3是面板图,供读者参考。



正确运用参量式均衡器的选颁特性,可以随自己的喜好而把节目中某件乐器加以突出或淡化。例如在比才的《卡门序曲》里,三角铁的声音清脆、明亮,使这首名曲显得熠熠生辉。在三角铁的频谱里,4.5kHz处是一个对音色影响较大的能量峰,若将该频率的增益提升4~5dB,会使三角铁的声音更富有穿透力,色彩更鲜明。再如歌舞节目里常用的碰铃,听来十分悦耳,但声压级不高,倘能在8~9kHz处稍予提升,便可增进碰铃对乐曲的点缀作用。其它像7000Hz是对沙槌音色最有影响的频率,而抬高2500Hz附近的增益会有助于西班牙响板发挥其个性。在低音乐器里,提升80Hz能使大军鼓的声音格外浑厚深沉、荡人肺腑;小军鼓的声音是频带较宽的连续频谱,把240Hz与4700Hz同时提高几个dB,鼓声里的金属味儿就会愈加浓郁动听。
这个电路很简单读者可以自己设计印制电路板,直接按图1焊接也可以。电源可用7815和7915构成。(田寿宇)