本篇主要介绍常用三端集成稳压器的一些使用知识、扩展功能的方法,以使广大电子爱好者能利用手头现有的各种稳压器来组成所需要的各种电源电路。
一、扩流电路:78××(79××)系列和LM317系列最大输出电流为1.5A,如果所用电子装置需要稳压电源提供更大的电流,就需要采用扩流措施了。
1.外加功率管扩流。电路如图1所示(在下面介绍的电路中,为简单起见,均将电源变压器、整流二极管和输入滤波电容省略不画),R\(_{1}\)是过流保护取样电阻,当输出电流增大超过一定值时,R1上压降增大,使BG\(_{1}\)的Ubc值减小,促使BG\(_{1}\)向截止方向转化。因为集成稳压器本身有过热保护电路,如果我们将BG1和集成稳压器安装在同一个散热器板上,则BG\(_{1}\)也同样受到过热保护。图1电路可输出≤7A的电流。

2.多块稳压器并联扩流。电路如图2所示。这是一种线路简单、无需调整,有较高实用性的电路,其最大输出电流为N·1.5A(N为并联的稳压器的块数)。实际应用中,稳压器最好使用同一厂家、同一型号产品,以保证其参数一致性。另外,最好在输出电流上留有10%~20%的余量,以避免个别稳压器失效造成稳压器连锁烧毁。

二、扩压电路
①固定抬高输出电压。电路如图3所示。如果需要输出电压U\(_{0}\)高于手头现有的稳压块的输出电压时,可使用一只稳压二极管DW将稳压块的公共端电位抬高到稳压管的击穿电压Vz,此时,实际输出电压U\(_{0}\)等于稳压块原输出电压与Vz立和。将普通二极管正向运用来代替DW,同样可起到抬高输出电压的作用。例如,想为自己的“随身听”录音机装一个6V、500mA稳压电源,而手头只有一只7805稳压器,则可按图4所示安装。D\(_{1}\)选用2CP类硅二极管,其上压降约为0.8V,这样,整个输出就约为5.8V,足以满足“随身听”的需要了。若将D1换成发光二极管LED,不但能提高输出电压,而且LED发光还起到电源指示作用。


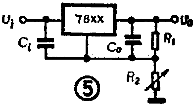
②输出电压可调电路。利用78××系列固定输出稳压电路,也可以组成电压可调电路,如图5。输出电压U\(_{0}\)≈U××(1+R\(_{2}\)/R1),其中U\(_{××}\)为稳压块标称输出电压。显然,若将R1、R\(_{2}\)数值固定,该电路就可以用于固定抬高输出电压。如将R1或R\(_{2}\)换成光敏电阻,便可构成光控输出电压关断电路。图6中用运放作为电压跟随器,克服了稳压块静态电流IQ的影响,输出电压U\(_{0}\)=U××(1+R\(_{2}\)/R1),其中R\(_{1}\)为电位器中心抽头与A点之间的电阻值,R2为电位器中心轴头与B点之间的电阻值。电路中运放亦可用741运放,输出电压从7~30V连续可调。


③电压极性变换电路。如果需要正电压输出而手头只有79××系列稳压块或需要负电压输出而手头只有78××系列稳压块,这种情况下,可以采用图7电路进行极性转换。注意输入电压不是对地而是悬空输入的。

三、慢启动稳压电源。慢启动稳压电源在一些灯丝供电电路、电子琴电源中得到广泛应用。此种电路的功能是减小冲击电流以延长灯丝寿命或消除喇叭开机时的“噗”声。图8是用LM317T组成的慢启动正12V稳压电源电路。电路加电时,由于C\(_{2}\)上电压不能突变,故BG1导通,将R\(_{2}\)短路,输出电压U0约为1.5V。随着C\(_{2}\)的充电,BG1逐渐退出饱和区,R\(_{2}\)上的电压逐渐增大,输出电压U0亦慢慢升高。一直到C\(_{2}\)充电完毕,BG1截止,输出电压U\(_{0}\)才达到额定值12V。稳压电源的启动速度由时间常数R3·C\(_{2}\)决定。其中二极管2AP是为了帮助稳压器正常启动而设置的。

四、恒流源电路。如图9所示,输出电流I\(_{0}\)=U××/R+I\(_{Q}\)。一般在选择R时应使I0》I\(_{Q}\),以避免或减小IQ变化时影响恒流特性。此电路可给各种可充电电池充电,实际使用时,可以将不同的R分档接入,并用开关进行转换,以调整不同的充电电流。

对于三端集成稳压器来说,其具体应用电路可以说是不胜枚举。只要掌握了其基本工作原理,就可以演变出各种实用的电路。(李洪明 张惠明)