TM701、TM702、TM703为九功能遥控专用集成电路,通过组合,可以很方便地对家用电器实现多种用途的遥控。
1.电路功能
TM701为射频遥控发送器,TM702为接收器TM703为红外线遥控发送器。TM701与TM702配合可组成射频遥控系统;TM703与TM702配合可组成红外线遥控系统。
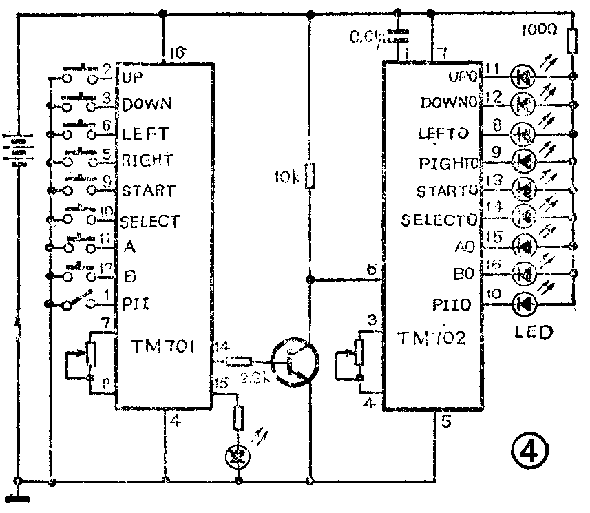
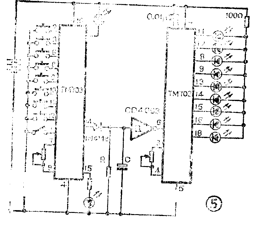
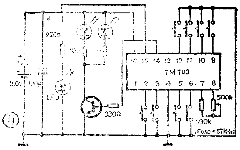
图1~3为TM701至703的内部组成框图。其管脚均为16脚双列。在图1和3中,振荡器产生电路主脉冲,时钟电路产生时序脉冲,判读电路把输入、控制的信号判读后送入编码电路,按时序编码后产生控制代码。输出缓冲器电路对输出控制信号及发光二极管显示信号给以足够的放大,以提高其输出的负载能力。图2的TM702的振荡器、时钟电路、输出缓冲器均与TM701、TM703功能相似,而控制电路则是为了控制译码器的开闭。当外部已解调的遥控信号从“I/P”脚进入译码器后,按照时钟控制的时间序列译码。输出的控制码经缓冲器放大后,向控制对象发出控制命令。



2.参数
TM701~703极限应用条件为:直流电源电压V\(_{DD}\)+0.3V至5.0V,输入/输出电压为GND—0.3V)至VDD+0.3V,工作温度范围为0℃至50℃,存储温度范围为-25℃至100℃。附表为其典型的电气参数。PII、UP、DOWN、RIGHT、LEFT、START、SELECT、A、B均为功能键输入脚,内部上拉高电平。各项后缀“0”,则为低电平有效。TEST\(^{*}\)—“TEST”测试用管脚。O/P—编码声频信号输出脚。LED片芯启动显示;在所有控制输入键中有一个键按下时,LED脚将为高电平输出。V\(_{DD}\)—电源正极输入脚。GND—电源负极输入脚。OSCI—振荡器输入脚1。OSC0—振荡器输出脚0。POR电源供电置位输入脚,接外部电容器。I/P—编码声频信号输入脚。H16—16Hz信号输出脚,当此电路启动后输出。

3.应用实例
为了了解TM701~703的功能,可以按图4和图5的电路进行测试实验。在图4中,TM701作发射器,TM702作接收器。TM701的输出脚“14”的信号,通过工作在反向放大状态的三极管作为通道,把控制信号送至TM702的输入脚“6”。顺序按下TM701的控制输入键,则LED发光,同时接于TM702输出端的发光二极管发光,表示发出某一功能操作命令。其发送与接收电平关系如下:键入(以下以↓表示)UP,输出端UPO为低电平,同时DOWNO为高电平;↓DOWN→UPO高、DOWNO低;↓LEFT→LEFTO低、RIGHTO高;↓RIGHT→LEFTO高、RIGHTO低;↓ISTART→STARTO低;↓SELECT→ELECT低;↓A→AO低;↓B→BO低;↓UP,DOWN→UPO低、DOWNO高;↓LEFT,RIGHT→LEFTO高、RIGHTO低;↓PII加任一键→PIIO高;↓PII→PIIO低。在图5中,TM703作为发射器,IN4148和CD4093及R、C组成通道,把控制信号送至TM702。其发送与接收的试验方法与图4同。


①射频遥控系统:图6中,TM701的输出脚“14”的信号进入射频发射机,从天线送出被调制的电磁波。在图7中,进入天线的电磁波,经过放大与解调后的信号,再进入接收器TM702,从其输出端向控制对象发出控制命令。



