数字电路的应用十分广泛,从计算机、通信设备、测量仪表、自动控制装置到家用电器中都用到了数字电路。下面让我们举几个这些方面的实用的例子。
一、定时控制器
用一个集成触发器、几个电阻电容和一个微动开关可以做成一个实用的定时控制器。它的控制时间可以从几秒到几十分钟。用它去控制收音机、录音机、电风扇、洗衣机、电烤箱等家用电器的电源,能达到定时控制的目的。
图1是定时器的电路。其中CO43是CMOS双D触发器。这里只使用其中的一个,因此自制定时器时可以选用处理品,只要其中有一个触发器是好的就行。也可以改用TTL或HTL电路的D触发器,其工作原理是相同的。从图看到,不论触发器原来是什么状态,在按下开关K后,S=1,使Q=1,Q-=0,于是三极管BG\(_{1}\)的基极成低电位,BG1截止。从这时候开始,电源通过电阻R\(_{w}\)和R1向电容C\(_{1}\)充电。电容C1上的电压按指数曲线上升,上升的快慢是由时间常数τ=(R\(_{w}\)+R1)·C\(_{1}\)的数值决定的。大概经过1个τ的时间就可以上升到6.3伏左右。因此在开关按下后大约经过1个τ的时间就能使R端成为高电平(这时K已自动复原,所以S=0),于是触发器从1态翻转成0态,使Q=0,Q-=1,于是BG1管的基极成为高电平,BG\(_{1}\)饱和导通,LED灯被点亮,告诉我们定时时间已到。

电路的定时时间是由R\(_{w}\)、R1和C\(_{1}\)的数值决定的。因此定时器中元件的具体数值可以按定时要求选用,见表1。

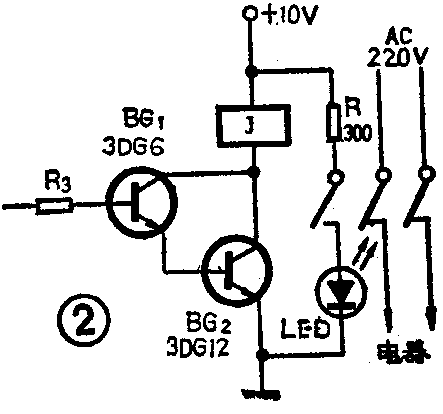
如果想用定时器自动切断电源,可以改用复合晶体管,在复合管集电极内串接JQX-4型继电器,用继电器的常闭接点去控制需要定时控制的市电电源,见图2。当定时时间一到,继电器动作,就能自动切断电源。如果要控制的对象是收音机、录音机等小功率的设备,还可以改用JRX-13型小型继电器,驱动级也只需一个晶体管,电路可以更简单。

实际制作时,只要元器件是好的,安装焊接没有错,接上电源就能工作。最后在R\(_{w}\)上装一个旋钮画上刻度,用秒表进行测试后,把测定的时间画到刻度上,定时器就算做成了。如果使用积层电池作电源,整个定时器可以做成火柴盒那样大小,小巧方便。
二、简易电子琴
用TTL与非门、触发器、电阻、电容等元件再配上琴键可以制成一台玩具电子琴。
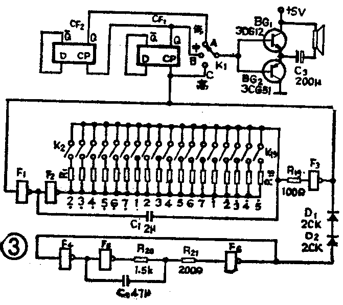
图3是简易电子琴电路。图的中下部是两个振荡器,位于中间的是主振荡器,可以简化成图4。可以看到它和下部的振荡器一样,都是RC环形振荡器。主振荡器用琴键开关来变换振荡频率。每按下一个琴键,主振荡器就产生一个和琴键所标志的音相符的音频信号。这个音频信号经晶体管放大,从扬声器发出的便是音乐声。与琴键的音符对应的电阻值见表2。例如按下与R\(_{1}\)相对应的键,电子琴便发出“i”的音。


图3下部的振荡器产生约为几赫的低音信号。这个低音信号和主振荡器产生的乐音叠加起来形成颤音。

图3中,K\(_{1}\)在位置C时,主振荡器产生的乐音被晶体管放大后从扬声器发出音乐。开关K1在中间位置“B”时,主振荡器产生的音频信号送入D触发器,扬声器发出的声音是从D触发器的Q端得到的信号。一个触发器就是一个二分频的分频器。因此这时扬声器发出的声音的频率是原来主振荡器频率的一半。根据音律,每降八度频率降低一半。如果原来发出的是A调的“i”,频率是880赫,经过二分频后成为440赫,就成为A调的“1”,两个音相差八度。如果开关在位置“A”上,发出的音更低,又降低八度。所以开关的“A”、“B”、“C”三个位置分别为“低音”、“中音”、和“高音”。
这个电子琴电路非常简单,安装调试也很容易。
三、数字电子钟
初学者如果有条件还可以自制数字电子钟。数字电子钟是用脉冲计数,用数码管显示时间的计时装置。它的电路比较复杂,因此除了电原理图外,还应该给出它的方框图。从图5看到,它大致分成晶振、分频、计数、译码显示和校时几大部分。它的基本工作原理是用一个极准确的秒脉冲作为基准信号,送到一个秒脉冲计数器中去计数。这个计数器是60进制的,它一边对秒脉冲计数,一边通过译码显示电路把时间显示出来。当秒计数器计满60秒时,计数器复零并送出一个进位脉冲。这个进位脉冲就是分脉冲,它被进到分脉冲计数器中。分脉冲计数器也是60进制的,也是一边计数一边显示。当分计数器计满60分时,计数器复零并送出一个进位脉冲。这个进位脉冲就是时脉冲,它被送到24进制的时脉冲计数器中,一边计数一边显示。当时计数器计满24小时后就复零。整个电子钟就是在秒脉冲的作用下不断地计数、显示、复零和送出进位脉冲、再计数显示……。为了得到准确的秒脉冲,需要晶体振荡器和分频器。此外为了使用方便还需要校正时间的校时电路。

下面我们逐个介绍各个部分的工作原理。
(1)晶振和分频
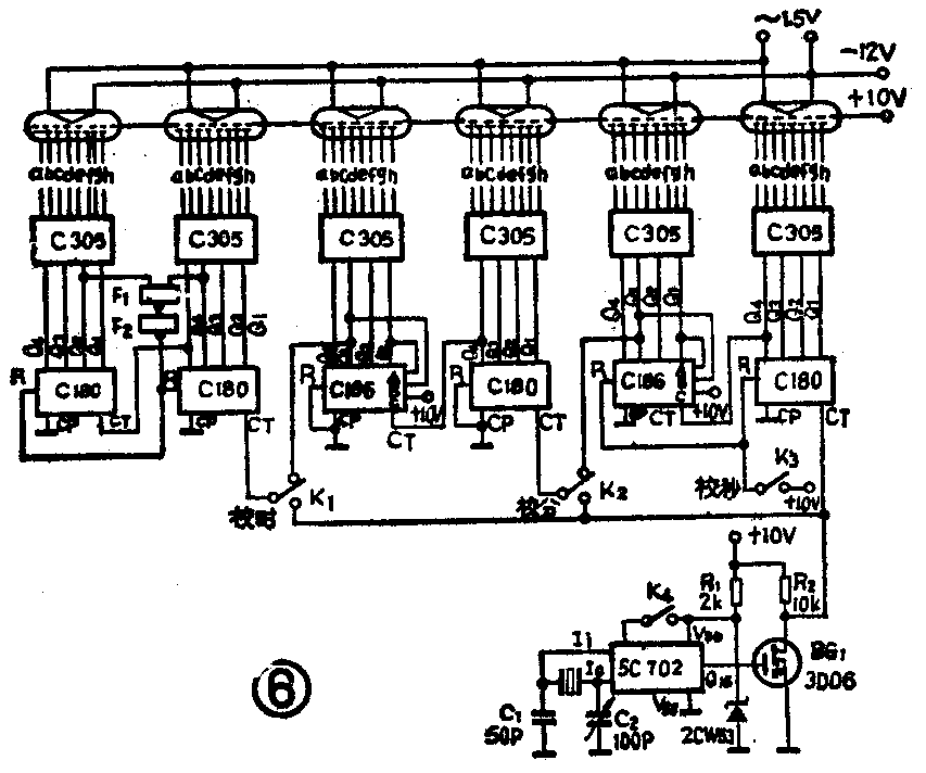
做好数字电子钟的关键是要有一个极准确的标准的秒脉冲信号。目前要想得到准确稳定的脉冲信号,一般都是使用晶体振荡器。但晶体的谐振频率比较高,通常是在几十千赫到几兆赫之间。所以必须用分频器把频率降低。图6是数字电子钟的电原理图。图的下部是晶振和分频器部分。图中的5C702是第三代CMOS电子表集成电路,是专用的晶振分频电路。只要把晶体和电容接到I\(_{i}\)和I0端,从Q\(_{15}\)端便可得到经过15次2分频的脉冲。因为这种集成片的价格目前很便宜,所以用它做秒信号发生器可以使电路简化,而且还有经济可靠的优点。本电路中的晶振频率是32768赫,经过15次2分频后得到1赫的标准秒脉冲。稳压管D1的稳压值是5伏,保证晶振和分频器稳定可靠地工作。分频器输出的秒脉冲经场效应管BG\(_{1}\)放大后供给计数和校时使用。

晶体振荡器的频率稳定度通常都在10\(^{-}\)6以上,所以数字电子钟的精度可达到一个月只差几秒钟。
(2)秒计数器和分计数器
图6中部有6个集成计数器。左侧2个是时计数器,中间2个是分计数器,右侧2个是秒计数器。
秒计数器是60进制的,由一个十进制的个位数计数器和一个六进制的十位数计数器组成。个位数计数器使用的是CMOS集成2—10进制同步加法计数器C180。它内部有4个T触发器和一些门电路,它有4个输出端Q\(_{4}\)、Q3、Q\(_{2}\)、Q1,2个时钟输入端CP和CT,CT也称为时钟允许端,一个清零端R。它有两种输入法:①用脉冲上升沿触发时,信号应该从CP端输入,CT端要求接高电平;②用脉冲下降沿触发时,信号从CT端输入,CP端要求接低电平。现在的接法是用下降沿触发,所以脉冲从CT端输入,CP端接地。R端的作用是把计数器清零,平时R端接低电平,当R端接高电平或正脉冲时,计数器4个输出端Q\(_{1}\)~Q4被置成0。从晶振分频送来的标准秒脉冲进入个位数计数器后,就由它进行计数。当计满10个秒脉冲时计数器自动复零,送出一个进位脉冲到十位数计数器,然后继续对秒脉冲计数。
十位数计数器使用的是CMOS集成任意进制异步计数器C186。所谓任意进制是指在计数或分频工作时,可以通过外部引出线的连接实现从2到16之间任意一种进位制的计数分频功能。它的输出端Q\(_{1}\)~Q4、CP、CT、R的意义和接法要求和C180相同。其内部的4个T触发器组成二进制串行加法计数器,另外有若干个控制门和一个D触发器作任意进制的控制用。因此它比C180多3个反馈输入控制端A、B、C。只要把这3个反馈输入控制端按表3的规定连接,就可以得到所需要的任意进位制计数功能。从图6可以看到,现在的接法是6进制,因此当它计到5以后,如再来一个脉冲它便复零并送出一个进位脉冲,这个进位脉冲就是分脉冲。

分计数器也是60进制的,它的电路和秒计数器相同。
(3)时计数器
时计数器是24进制计数器。它的个位数计数器和十位数计数器都使用十进制计数器C180。它是在两块C 180之间用门电路反馈法完成24进制计数功能的。反馈电路由与非门F\(_{1}\)和非门F2组成。当十位数出现2时(Q\(_{2}\)=1)和个位数出现4时(Q3=1),反馈电路输出一个“1”脉冲到两个计数器的R端,把两个计数器都置成0,然后继续计数。因此当时间在23点59分59秒时,再来一个秒脉冲,数字钟便立即翻转成00 00 00。由于翻转速度极快,所以“24”这个数字是不会出现的。
(4)译码显示
时、分、秒的个位和十位计数器的输出端分别接到6个译码器C305上,译码器的输出分别接到6个荧光数码管上,见图6上部。于是在计数的同时,电子钟能显示出准确的时间。C305是专用的CMOS集成译码器,有A、B、C、D4个输入端分别和计数器的输出Q\(_{1}\)、Q2、Q\(_{3}\)、Q4相连。它有a、b、c…g、h8个输出端和荧光数码管对应的管脚相连。它能把计数器的BCD码在荧光数码管上显示出十进制数。本机使用的是YS-13型荧光数码管,它的灯丝电压是1.5伏。要求阴极接负电压,阳极和栅极接正电压,阳极电位必须比阴极电位高20伏以上。所以图中阳极和栅极接+10伏电源,阴极加接-12代电源。
(5)校时电路
电子钟刚接电源时或者当电子钟有误差时都需要校准,因此需要使用校时电路。校时电路分校秒、校分和校时三种。
校秒电路比较简单。按下校秒开关K\(_{3}\),秒计数器的R端成为高电位使秒计数器复零,然后在标准钟报时为0秒时放开K3,使秒计数器正常工作,完成了校秒工作。
分计数器是每分钟计一个数,如果用分脉冲来校正,校正的时间就会拖得很长。现在的方法是改用秒脉冲作校正脉冲。按下校分开关K\(_{2}\),秒脉冲被送入分计数器计数,在分的显示值和标准钟相同时放开K2,使分计数器恢复正常工作,校分工作就完成了。
校时电路和校分电路完全相同。
这个数字电子钟电路简单,组装调试也很容易。当然这些电路与已有的、专用的CMOS电子钟集成电路相比,显得仍复杂些。但我们想通过以上的实例介绍,使大家能更加熟悉数字电路,以便对集成化程度再高的数字电路也能进行分析、应用。(俞鹤飞)