随着遥控技术的发展,简单的单通道遥控装置已逐渐被各种数字式和模拟式多通道遥控电路所代替。在模拟式(频分式)多通道遥控电路中,使用音叉振荡器的音频多通道遥控电路可算是可靠性最高的一种。
音叉实际上是一种高Q值的机械振子,当它受到冲击或振动后,将以一特定的单一频率振动,振动频率只取决于音叉的几何尺寸及所用的材料。音叉振荡器就是用一种特制的恒弹性合金做成均匀性很好的小型音叉振子,并在振子两端相应部位粘贴上压电陶瓷片制成的压电换能器而制成。音叉振荡器的频率范围原理上可取得很宽,但考虑到低频时音叉的重量和体积都比较大、易受外界干扰、高频性能又不如石英晶体等问题,所以我们常用的都是工作在数百赫至数千赫音频范围内的音叉振荡器。用音叉振荡器来产生音频信号的唯一优点就是频率准确,因为一般音叉振荡器的频率飘移均在±1×10\(^{-}\)3以下。
下面详细介绍日本IWATA电子公司生产的音叉振荡器。图1所示为TX型的外型、内部结构及引脚图,它主要用于音频振荡器。从内部结构图可以看出,其内部的音叉体由三片恒弹性合金片焊接而成,中间一片较短,作为音叉体的根部埋在充满减振橡胶的钢架中。另两片上分别粘贴上压电陶瓷片,它们均以音叉体为公共电极(E),另一侧电极为很薄的镀银层,并以细铜线引出(1、2)。当将激励信号加至音叉振荡器的1、E两脚间时,音叉体一侧的驱动片振动,并通过音叉体将振动传至音叉另一侧的接收片,从2、E两脚间输出电信号。依音叉的特点,只有当输入信号的频率与音叉的固有谐振频率相同时,振动才能从音叉的一侧传到另一侧,而且这个频率的频带范围很窄,即其Q值很高。图1中音叉体上的两个调整卡片是音叉振荡器的关键部分。通过改变调整卡片在音叉体上的位置,可以均衡音叉体两臂的配重,从而在适当范围内改变音叉振荡器的固有谐振频率和微调信号的强弱。如上所述,由于单音叉体的音叉振荡器的Q值很高,故只适合用来制作点频振荡器,若将其用于滤波,则显得频带过窄。图2所示为TTD型音叉滤波器的外型、内部结构及引脚图。这种音叉滤波器有稍宽的频带,其3dB带宽≤2×10\(^{-3}\),6dB带宽≤4×10-3,且插入损耗≤3dB,非常适用于在遥控接收电路中使用,用其制作的选频电路具有电路简捷,工作稳定,可靠性高等优点。由图可知,TTD型音叉滤波器展宽频带的方法,是在同一外壳内独立地固定了两只与TX型音叉振荡器完全相同的音叉体,由于两只音叉体的固有谐振频率稍有不同(也可以说是调整卡片的位置稍有差别)。当将两组音叉并联使用时,自然地将频带展宽。为防止上下两只音叉体互相干扰,两只音叉的驱动片和接收片采用反向并联方式连接,即实际使用时,1脚与2脚并联;3脚与4脚并联。TTD型音叉为减小插入总耗,相应增大了压电片的尺寸,并减小了压电片的厚度。


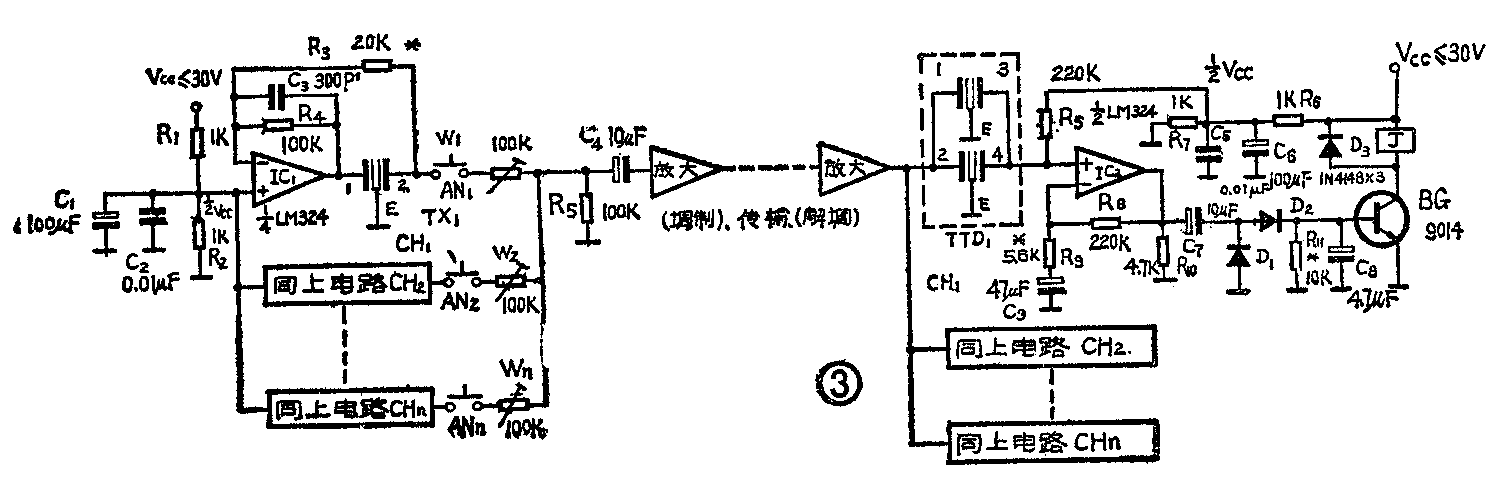
图3是用相同频率的TX型和TTD型音叉及普通元器件组成的多路遥控电路。由于TX和TTD型音叉频率范围很宽,而且每只的频率都精确到0.5Hz(如1657.5Hz、2257.5 Hz),所以通道数从原理上讲可无限地扩展,图中只给出了一路的详细电路。其中IC1、TX1等组成振荡器,振荡器的结构与普通正反馈自激振荡器一样,只是因为信号经音叉振荡器后,将被相移180°,构成正反馈时,反馈信号应送入运放的反向输入端。通道1至n的音频信号分别经AN\(_{1}\)~ANn控制,并经W\(_{1}\)~Wn及R\(_{5}\)混合后,送音频放大器放大,而后再经调制、传输、解调,或只经传输送到接收端的音频放大器放大,再送至TTD型音叉滤波器和IC2构成的选频电路解码。IC2接成典型的同相交流放大器,输出经C7耦合,D1、D\(_{2}\)、C8整流,滤波后控制BG的导通与截止。此电路无需调整、工作可靠、成本较低,只是灵敏度较低。

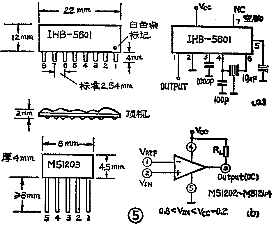
图4为使用专用器件的多路音叉遥控电路,其中发射端使用IHB-5601厚膜电路作有源元件。IHB-5601的外型及引脚排列见图5(a)。图4中IHB-5601输出的信号经BG1缓冲后经W\(_{1}\)输出。用它制作的音叉振荡器,电路简捷,体积小巧。接收端使用两块三菱公司的微型电压比较器M51204、M51203作信号放大、整形及输出。这种微型电压比较器体积极小,输入灵敏度很高,又是集电极开路输出(OC),可直接带负载工作。其外型及引脚排列详见图5(b)。


TX和TTD型音叉振荡器的音叉一般应配对使用,即两者频率应完全相同。若无法匹配时,也可不用TTD型音叉滤波器作解码,而改用图6所示的LM567解码集成电路。图中R、C可根据发射端TX型音叉振荡器的谐振频率按RC=1/1.1f计算。使用LM567作解码的优点是电路简捷、输入信号要求幅度低(音频信号幅度>25mV即可)。LM567第8脚的驱动能力很强,能承受100mA的灌电流,可直接带负载工作。虽然图6电路也可配合其它形式的音频振荡器工作,但比起用音叉振荡器组成的电路,要逊色很多。

从图1、图2音叉振荡器和音叉滤波器的内部结构可知,它们的谐振频率及输出幅度在一定范围内可用调节调整卡片来控制。所以,当需要改变其固有谐振频率时,只要撬开外壳,用溶剂溶掉卡片上的胶水,然后将音频信号发生器调节到所需频率,并将输出信号送至音叉振荡器的1脚,把2脚接示波器或是毫伏表,调节两卡片的位置,使示波器或毫伏表示数最大,而后用502胶固定卡片。由于TTD型音叉滤波器中有两只音叉体,引脚又相互独立,所以也可用此法将TTD型音叉滤波器改制成两只音叉振荡器,另配以LM567解码,构成更简单可靠的多路遥控装置。(蔡凡弟)