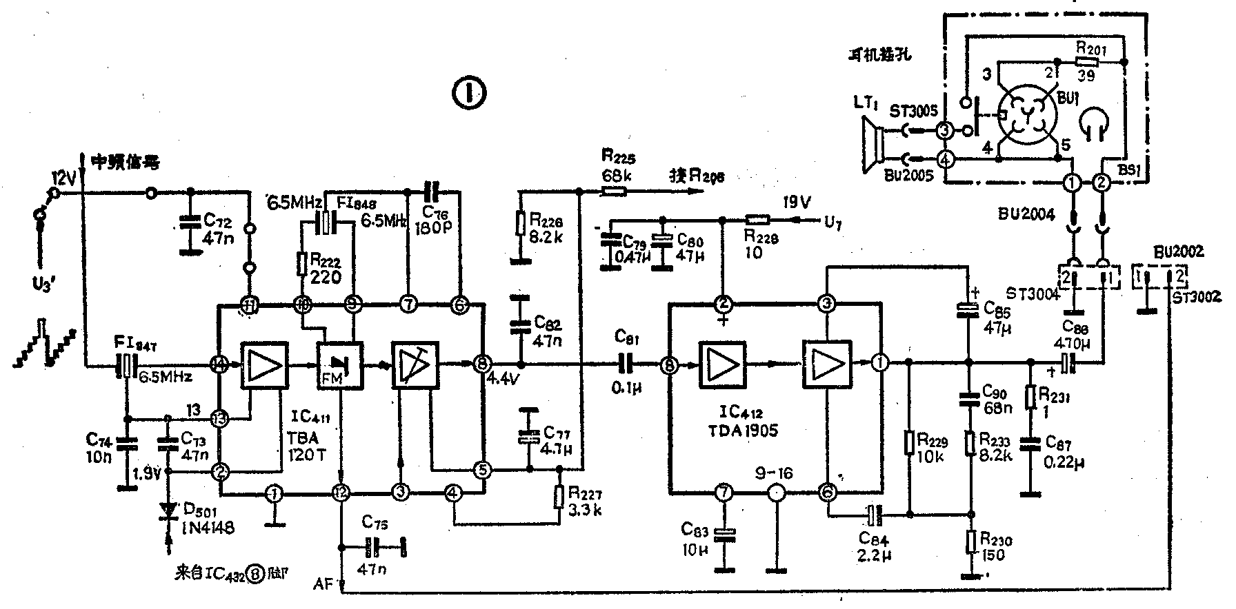
德律风根415机芯彩色电视机的伴音通道部分是由TBA120T和TDA1905两块集成电路组成。TBA120T主要功能有伴音中频放大,鉴频检波。 TDA1905主要功能有功率放大输出,具体电路如图1所示,下面介绍这部分电路的工作原理与检修方法。

工作原理
从中放电路输出的信号首先进入FI\(_{847}\),FI847的作用是带通选择,频率为6.5MHz,带宽为+150kHz。然后信号从IC\(_{411}\)的脚输入,在集成电路内进行放大和鉴频检波,从⑧脚输出。IC411⑧脚和⑨脚外的FI\(_{848}\)是调频检波的谐振元件,谐振频率为6.5MHz,这个频率不能作大的调整,只有通过C76的负反馈作用作稍微的调整。②脚外的二极管D\(_{5}\)01与行扫描电路配合消除静噪。当电视机接受电视广播信号时,行扫描集成电路IC432内的同步分离电路分离出行同步信号,使其⑦脚输出一个12V的高电位。⑦脚输出的高电位又直接加到D\(_{5}\)01的负端,使D501截止。当无电视信号接收时,IC\(_{432}\)中的同步分离电路无信号输出,则⑦脚电位为0V,使D501导通,这样TBA120T内部的伴音放大电路的输出信号就对“地”短路,使噪声被抑制掉。IC\(_{411}\)的脚为经过鉴频检波后的伴音音频信号输出端,可直接供给外电路输出使用(如供给录音使用等),这是一个高阻的输出信号。⑤脚的电位是通过电视机面板上的音量电位器R206来调节,⑤脚的电位高低,可控制音频信号的幅度。③脚可以做为一个外电路的音频信号输入端使用,当③脚上有外加信号输入时,电路可通过②脚和D\(_{5}\)01的作用,使原电路中的电视伴音信号中断。
从IC\(_{411}\)⑧脚输出的信号经C81隔直耦合进入IC\(_{412}\)的⑧脚,在集成电路中进行音频信号放大及功率输出,由①脚输出,经C86耦合供给扬声器工作,信号最大输出功率可达6W。在扬声器的电路中还接有五芯插孔,可供外接耳机等使用,阻抗为抵阻。
检修方法
这部分电路最常见的故障是无伴音故障,其检修步骤如图2所示。首先测量静噪电路中的D\(_{5}\)01负端电位,一般高于2.7V以上就应有伴音输出,如果电位低于2V,可将D501的一端断开,此时有噪声,可检查D\(_{5}\)01,因为D501本身失效或短路,也可造成无伴音。如果D\(_{5}\)01没问题,应进一步检查行扫描集成电路IC432。当测量D\(_{5}\)01负端电位为12V时,说明静噪电路无问题,可采用将人体50Hz的干扰信号从IC412的⑧脚注入,听扬声器内有无干扰噪音输出。一般情况,IC\(_{412}\)损坏时一点噪音也没有,而IC411损坏时,往往是有噪音而无伴音。IC\(_{411}\)的特性参数见表1,IC412的特性参数见表2。


电路中的FI\(_{847}\)和FI848损坏也可造成无伴音。当怀疑FI\(_{847}\)损坏时,可用一个0.1μF/63V的电容器跨接在电路中代替FI847,若有伴音输出,则说明FI\(_{847}\)损坏了。当怀疑FI848损坏时,只能用同型号的元件再代换。在维修中,如果FI\(_{848}\)损坏而又找不到同型号的配件,可把FI847拆下来代替FI\(_{848}\),原FI847的位置可用电容器来代换,这样处理后,伴音基本正常,只是音质要差点,噪音要大些。(吴建忠)