目前电视机逐渐向广大农村及边远地区普及,这些地方大多数属弱场强地区。为了收到满意的图象和伴音,除了选择好的接收天线和馈线外,采用电视天线放大器可进一步提高接收质量。本文向读者介绍三种从国外进口的低噪声电视天线放大器,并组织邮购以满足用户需要。
1.放大器电路:三种电视天线放大器都是由分立元器件组装而成。为了降低噪声,选用优质超高频管作第一、二级放大管,如U段采用高频微带管BFR90及2sc2369等V段采用优质高频管9018;同时努力提高装配工艺水平尽量减小感应噪声。因此整机噪声系数NF<4dB。主要技术指标如表所示。为了帮助读者对放大器电路的了解并为维修人员提供资料,以下对放大器电路作简要介绍。

(1)US—B52型原天线放大器:属美国TORAS牌号产品,电原理图如图1所示。由L\(_{1}\)~L3和C\(_{1}\)~C3及L\(_{5}\)~L8和Q\(_{5}\)~Q8组成的V段带通滤波器与BG\(_{1}\)管组成VHF放大器,放大调频信号和V段电视信号。由C11、L\(_{9}\)、C12和C\(_{18}\)、L19、C\(_{19}\)组成U段高通滤波器同BG2~4组成UHF放大器,放大U段电视信号。从图1可见,两路信号在一个输出端输出。使用时将放大器输出端同电源输出端用电缆相连,这样电源输出的22V交流电压加到放大器,经二极管D\(_{1}\)整流和R13、C\(_{2}\)0滤波后得到14V直流电压供给各放大管。而放大器输出的电视信号经电缆和电源出端电容C送到电视机中。

(2)UB38TG型天线放大器:属日本 TANAKA牌号产品,电原理图如图2所示。从图2看出该放大器与上述US-B52型放大器的电路结构相似,只是在UHF放大器增加了一级放大和增益调节电位器W\(_{1}\),电源整流后增加一级由BG6管组成的简单稳压电路。这样,电路能更加稳定地工作,并能用电位器W\(_{1}\)调整U段增益使电视机得到最佳输入电平。

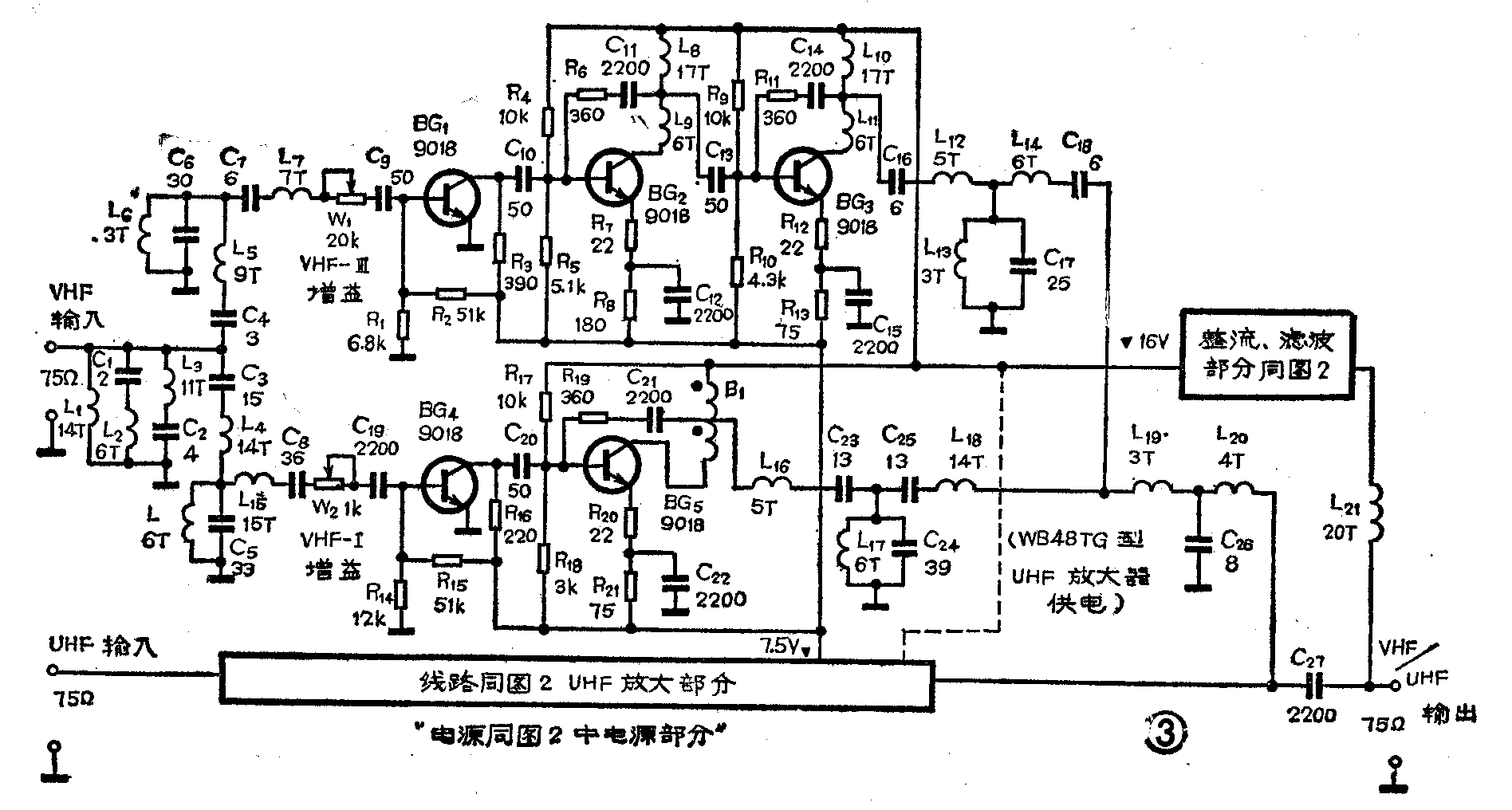
(3)WB38TG及WB48TG型天线放大器:其WB38TG属日本TANAKA牌号产品,两种机型电原理图相同,如图3所示。其中UHF放大器与图2所示的UHF放大器完全一样,因此只画一个框而未给出具体电路。从图3看出VHF放大器分成高段(放大VHF-Ⅲ段6~12频道电视信号)和低段(放大VHF-Ⅰ段1~5频道电视信号)两个放大器,分别设有增益调节电位器W\(_{1}\)和W2,UHF放大器中也设有增益调节电位器,可使各段放大器得到最佳输出电平。这两种放大器的UHF放大器直流供电不同,如图3所示。

2.放大器的使用:US-B52型和UB38TG型放大器,适合一些V段电视信号较强而U段信号较弱的地区使用。WB38TG及WB48TG型放大器适合一些距电视台远而各频段信号都较弱的地区使用。3种放大器都可以在CATV中作天线放大器用。

天线放大器使用时的连接如图4所示。将VHF天线和UHP天线用电缆分别接到放大盒的VHF和UHF输入端,这段电缆不宜太长,一般在1~1.5m,因此放大器应装在天线附近。注意阻抗匹配,这3种放大器的输入阻抗均为75Ω,如果用300Ω扁馈线就要加装300Ω/75Ω阻抗匹配器。用两根75Ω电缆按照图4将电源盒的两个端子分别与放大器和电视机的天线输入端相连。加上电源后即可工作。 (李文锋)