本文介绍的这种装置,可作为家庭中停电后的备用照明灯。它不需要特定的发射装置,只要击掌或吹哨子即可使其亮、熄,使用甚为方便。由于电路中采用了集成块,故工作可靠,而且调试方便。
电路工作原理
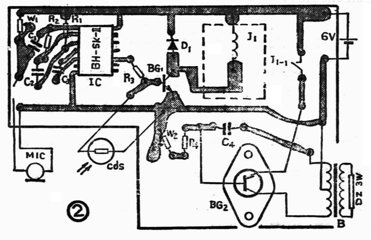
该装置的电路如图1所示。它由声控电路和直流变换电路两大部分组成。BH-SK-Ⅱ是一块新型的声控集成电路,它的内部包括三级模拟信号放大器、分频器、延时电路、整形电路以及驱动电路等。它的输出端逻辑功能见表1。当话筒MIC接收到较强的声脉冲信号时,便在其两端产生电脉冲;此脉冲进入IC①脚中,经IC内部电路放大,然后经整形,选频后,分别控制其输出端的工作状态。该装置只用了IC⑨脚作为输出控制。当IC⑨脚为“1”电平时,三极管BG\(_{1}\)饱和导通,此时继电器接点J1-1吸合。于是接通了直流变换电路的电源。三极管BG\(_{2}\)等组成的振荡器振荡,其振荡电压经变压器B升压,然后直接加至荧光灯的两端,使其点亮。由于IC输出为双稳状态,再施加一个声脉冲,则IC⑨脚变为“0”电平,BG1截止,继电器J\(_{1}\)释放。触点J1-1断开,切断了直流变换器的电源,照明灯熄灭。


图1中cds是光敏电阻。白天屋内光线较强,导致cds的内阻很小,它并联在BG\(_{1}\)的b、e两端,使BG1得不到导通电压。晚上天黑后,或者停电后,屋内很暗,cds的内阻增至很大,相当开路,这样当IC⑨脚为高电平时,BG\(_{1}\)便导通。在安装cds时要注意不要受荧光灯的光线影响。图2为印刷电路板。

元器件选用与调试
IC选用BH-SK-Ⅱ型声控集成电路。在本装置中只用了IC中的两级模拟信号放大器,经实验声控距离可达3~5米,且只对特定的掌声或猝发的哨声敏感,而对一般的谈话声、歌唱声不作反应。调整W\(_{1}\),使MIC两端的电压稍高于1/2电源电压便可,此时声控灵敏度最高。MIC采用高灵敏度的驻极体话筒。继电器J可采用JRX-13F型,或其它高灵敏度小型继电器。BG1选用3DK4,3DG12,3DA87等,要求β≥100。BG\(_{2}\)选用大功率PNP三极管3AD30C,要求β≥60。光敏电阻cdS可选用MG-45-34或MG-45一32系列非密封型。B为振荡升压变压器,可用6.3V的灯丝变压器或电铃变压器。自制时可以用MXO-400磁棒截成30mm长和20mm长各两段,用它接成“口”字形磁心。也可用现成的口字形磁心,如12英寸黑白电视机的行输出变压器磁心。L1用φ0.69的高强度漆包线绕55匝,L\(_{2}\)用同样线径的漆包线绕35匝,L3用φ0.21的高强度漆包线绕1500匝,初、次级之间要垫一层聚脂薄膜。荧光灯的功率应小于8瓦,为了减小损耗可用3瓦荧光灯。应注意的是,BG\(_{2}\)应加装40×40×3mm以上的铝质散热片,以防BG2过热烧毁。电路焊接无误后,接通电源,使直流变换电路获得6V电压,BG\(_{2}\)便开始振荡。调节W2,使荧光灯的亮度适中,且功耗最小。然后把该装置放入一只塑料盒内,作为吸顶灯安装在天花板上,这样就成了一盏声控备用照明灯。(陈国华)