编者的话:本栏1989年第4期曾介绍“逆变电源0~220V调压电路”一文,此文为它的改进方案。
在“逆变电源0~220V调压电路”一文中,作者使用的是两套独立的锯齿波发生器。这样,由于元器件误差所引起的差异,使两个调宽脉冲不容易做得完全对称,从而使逆变器两推挽功率管导通时间不相等,逆变变压器的直流磁通抵消不了,使变压器的效率降低,并导致推挽功率管发烫,以致损坏。笔者提出另一种更为简单的方案,可以使调宽方波完全对称,使功率管和变压器处于对称的工作状态。
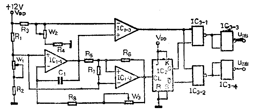
笔者提出的PWM脉宽调制调压电路的原理图如附图所示,该电路由以下几部份组成:

1.标准信号发生器:IC\(_{1}\)-1、IC1-2及有关电阻电容组成三角波、方波信号发生器。调整电位器W\(_{3}\)使IC1-2的输出为100Hz的方波,调整电位器W\(_{1}\)使IC1-1输出的三角波的上升沿与下降沿均为5ms,三角波的幅度为4~7V(峰值)。
2.PWM调宽信号发生器:此功能由比较器IC\(_{1}\)-3实现。比较器的同相输入端为100Hz的三角波信号,反相输入端为可选择的参考电位Vf(在逆变器中为逆变输出反馈电压)。图中,调节电位器W\(_{2}\),就可以改变Vf,使逆变器输出电压在0~220V范围内变化。
3.脉冲组合电路:IC\(_{1}\)-2输出的100Hz方波,经JK触发器IC2二分频后,在IC\(_{2}\)的Q、Q-端得到相位相反的50Hz方波信号。将此二信号与PWM信号经IC3组合后,在IC\(_{3}\)-3,IC3-4的输出端分别得到相位相反的两个50Hz的调宽方波驱动信号。
在PWM调宽过程中,当参考电位V\(_{f}\)大于7V,即高出三角波的峰值时,则IC1-3输出为低电位,此时功率晶体管无驱动信号,逆变器不工作;而当V\(_{f}\)小于4V,即低于三角波的谷值时,则IC1-3输出为高电位,经IC\(_{3}\)信号组合以后,输出的两信号U1出、U\(_{2出}\)为频率50Hz、占空比50%的正方波信号。考虑到逆变电源在推挽工作时,大功率晶体管的导通和关断都需要一定的时间,所以为了避免大功率晶体管的共态导通,必须限制Vf不得小于4V。(金永生)