有些三菱HS-306HD录象机经常出现“偷停”故障,即在放象或录象时出现暂时的“定镜”,过1秒或数秒又恢复正常,有时也会从暂停发展到保护停机。但是在快进或快倒时,录象机却很正常。经检查造成这种故障是由于厚膜电路STK-6962有问题。厚膜电路STK-6962在市面很难买到,并且价格也比较高,因此,笔者根据该厚膜电路的电路结构以及此故障的特殊性,在只改动外围电路的情况下,排除了故障,现介绍具体检修方法。
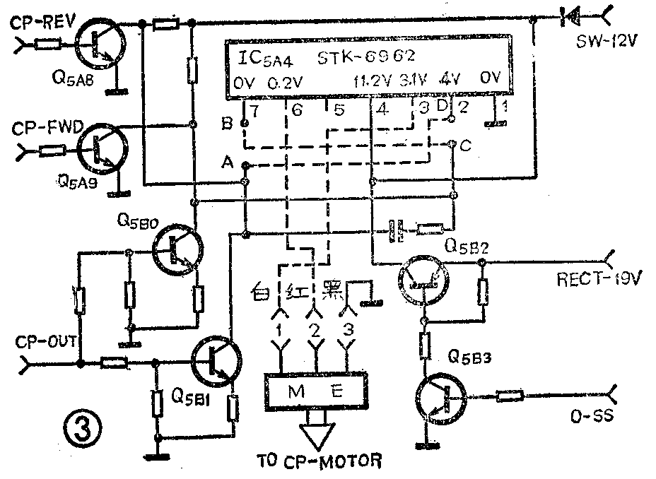
STK-6962各引脚功能如图1所示,该机的主导轴驱动电路,即STK-6962的外围电路如图2所示,图中所注电压值为PLAY状态下的电压值。下面分析图2中各晶体管的作用:Q\(_{5A8}\)、Q5A9工作在导通与截止工作状态下,它们分别控制厚膜电路⑦脚与②脚的电位,它们的工作状态与电机的旋转方向以及⑦脚、②脚的电位如附表所示。Q\(_{5B}\)0控制电机的倒转速度,Q5B1控制电机的正转速度,它们的控制脉冲均来自伺服电路的CP-OUT输出线。Q\(_{5B2}\)、Q5B3是控制④脚的电位的,它们的导通、截止只与录象机的工作状态有关,而与电机的正、反转无关。在放象或录象工作状态下,Q\(_{5B2}\)、Q5B3均截止,由SW-12V线给厚膜电路的④脚提供电压。在快进或快倒工作状态下,系统控制电路通过逻辑电路发出相应的控制电压,使Q\(_{5B2}\)、Q5B3导通,这样④脚的电位提升,即厚膜电路的工作电压升高了,达到15V左右。



此故障比较特殊,只发生在录象机正常转速的正转情况下,在发生故障时,分别测量了②脚和⑦脚的电位,②脚为0~0.2V,属正常范围,⑦脚为3~3.5V,稍偏低,而⑥脚的电位却很低,约在1V以下,④脚电位为11~12V,属于正常。当录象机处在快进或快倒状态时,②脚及⑦脚的电位均正常,均能增高到正常值(4V),这可能是由于④脚的电位提升到15V的缘故。从上述现象分析,有可能是厚膜集成电路IC\(_{5A4}\)(STK-6962)内部的正转驱动管工作在低电压时有截止失控现象。从厚膜电路的工作情况分析,在其内部有两组驱动管担任正、反转电压输出,并且两驱动管内部的电路结构也应该是完全对称的,因此,根据这一电路结构,可作一大胆的改动,即将它的正、反转控制线调换,同时将通往电机的正、负输出线也一起调换。具体改动过程如下:(1)断开A、B点间连线,断开C、D点间连线,见图1中打“×”处。(2)将A点与D点连接,C点与B点连接。(3)在主机电路板大约中间的位置上找到代号为ME的主导轴电机的电压输出三孔插座,拨出插头,将插头上的红引线与中间位置孔的白引线分别连插脚一起卸出。拆卸时可用尖锥从插头侧的长方小孔处压下插脚的小锁扣,即可拨出插脚。卸出后,对调两引线再插回插头壳内,即将红引线插到中间孔,白引线插到旁边孔,然后再插回到ME插座上。改动后的线路如图3所示,虚线表示改动过的接线,图中所注的电压值为改动后的PLAY状态下的电压值。经这样改动后,无需作任何调试,开机后即可正常工作,并且快进、快倒功能也正常。

采用此方法修理过几台有这类故障的录象机,至今这几台录象机一直使用正常。有一点要说明:经这样改动的录象机,即便日后需要更换此厚膜组件,无需再改回电路也能正常工作,但最好告诉用户,并在电路图上作出标记,供日后维修参考。(关志光)