本文介绍的电池电压跌落指示器,在电池电压下降到预定值时,会发出告警信号,提醒你及时调换干电池,这样可防止因电池漏液而损坏设备。
工作原理
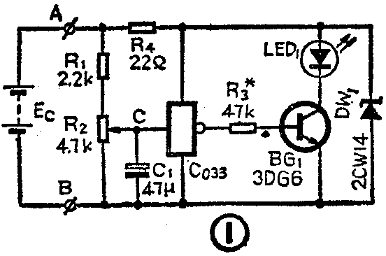
电压跌落指示器电路如图1所示。当AB端接有E\(_{c}\)时,在C端便得到一个分压值Ux,当U\(_{x}\)高于反相器转换电压时,反相器输出为低电平,BG1处于截止状态,发光二极管不亮,这时BG\(_{1}\)集电极电流几乎等于零;当电池电压下降后,Ux低于反相器转换电压,反相器输出为高电平,三极管处于饱和状态,发光二极管亮,说明电池电压跌落。

元件选择
集成块选用C033六反相器,电路中只用一只反相器,将多余的脚剪去。如果我们取E\(_{c}\)为9V,要求Ec 跌落至8V时指示器亮,可以先将E\(_{c}\)用可调稳压电源代替,把电源电压调至8V,然后调R2使发光二极管正好发亮,再将E\(_{c}\)调至大于8V、小于9V的任一电压值,发光二极管始终不亮,这样反复调几次,就可以了。稳压二极管可选用2CW14,它的稳压值为6V~7V。
元器件全部安装在印刷电路板上,如图2所示(1:1)。只要集成块引脚接线无误,一般都能成功。(程国阳)
