电容器在电视机中应用广泛,贯穿于电路的各个部分,一旦出现故障,给检修带来很大的困难。电容器的故障一般表现为开路、漏电、短路和容量减小,其损坏情况和程度的差异,将会造成电视机出现不同故障,在检修时务必具体分析。一般业余维修人员没有专门仪器,只能靠万用表检测、判断,对于错综复杂的电容器故障主要依赖于实践经验和理论分析,采取推断与测量相结合的办法,找出故障原因及其所在。现介绍实例六则,以供参考。
例1:一台康艺KT—1835型彩色电视机,音量关不小,伴音声响很大。
分析与检修:该机伴音中放采用集成块TBA120S,见图1,这种集成块是采用直流音量控制,实际上是一种分流式双差分增益控制电路。通过调节第⑤脚的外接电位器VR\(_{1}\)03,从而使集成块的差分放大增益改变,起调节音量大小的作用。音量失控主要有两方面原因:一是与⑤脚有关的引线或元件开路及损坏;二是TBA120S第⑤脚对地短路或严重漏电。

第一步,先测量VR\(_{1}\)03中心头与非接地端之间的电阻,并旋转电位器,电阻值能随调节变化。直观检查该电位器的引线及焊点,均未发现异常,说明该电位器没有损坏。第二步,测量集成块第⑤脚的对地电阻,测得阻值为200Ω,断开第⑤脚与印制板铜箔,测外电路A点电阻仍为200Ω,表明系外电路故障。电阻短路很少见,最大可能为电容器C126(47μF)漏电,焊开一只脚用万用表R×100档测量,测得漏电阻值为300Ω,表明已严重漏电,用同容量电容器换之,故障排除。
例2:一台福日牌 HFC-450G型彩色电视机,图象模糊,彩色镶边,而且图象尺寸随亮度变化而变。
分析与检修:图象模糊,彩色镶边,这是一种失聚的故障特征;而图象尺寸随亮度变化而变,一般故障发生在高压和超高压。测量180V中压,电压为190 V,说明行扫描电路有故障。检查行激励、行输出电路的主要元件均无损坏,由此怀疑行逆程脉冲宽度缩小。行逆程脉冲宽度由逆程电容器的容量决定,若容量变小,就会缩短逆程时间。因此重点检查逆程电容器,利用比较测量法,查出C\(_{715}\)、C716容量极微,用两只 0.015μF/630V电容器换上后,故障消除。顺便指出,在更换此类电容器时务必注意其耐压值。
例3:一台北京牌834型彩色电视机,图象正常,关机时屏幕中间出现亮点,很久才消失。
分析与检修:关机亮点一般是消亮电路故障引起的。该机由C\(_{358}\)、R378组成亮点消除电路,如图2中虚线所示。

当电源关闭后,电容器C\(_{358}\)通过电阻R378、120V电源的内阻及电阻R\(_{354}\)放电,这样,在R354上形成负电压,此负电压通过二极管BG\(_{112}\)加到晶体管BG10的基极,使它的电位降低,最后使显象管阴极电位也降低,显象管是瞬间产生较大的束电流,使储存电子消耗掉,以达到亮点消除。这里元件较少,C\(_{358}\)损坏的可能性大,焊下测量,发现无充放电能力,已经失效开路。换上一只10μF/160V电解电容,不再出现关机亮点。
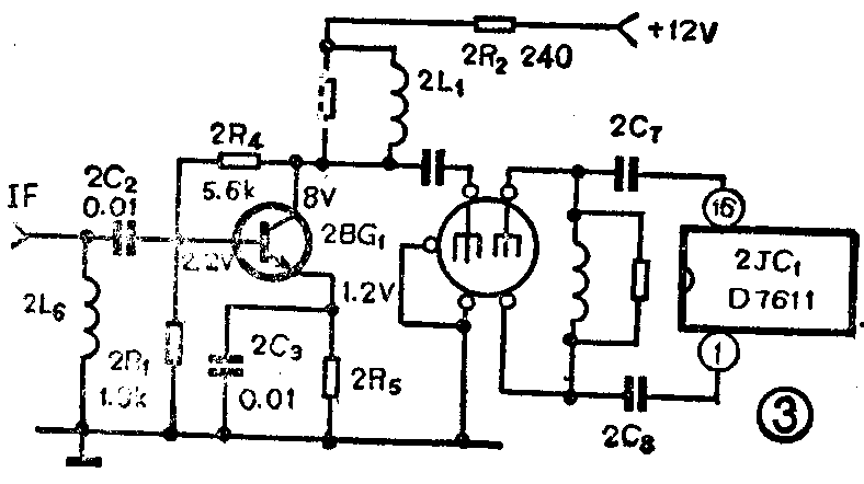
例4:三灵牌14英寸黑白电视机(同飞跃35D22),图象暗淡,左右扭动,当天线位置不佳时出现负象,喇叭发生“啪、啪”声,而且随音量大小变化。
分析检修:据现象分析,故障一般发生在图象中放或伴音中放。该机采用D系列集成电路,首先检查伴音中放,在集成块D7176第脚和脚注入音频信号,喇叭有声,继而在②脚注入信号,声音明显增大,表明D7176正常。根据有强烈“啪、啪”声的迹象,再检查中放集成电路D7611,在①、脚注入信号有声,屏幕有明显杂波反应,而在37MHz声表面波滤波器输入端注入信号无反应,同时在预中放管2BG\(_{1}\)基极注入信号也无反应,判断故障在此级,有关电路见图3。测得2BG1基极电位为0.7V,发射极为0.2V,集电极为12V。正常时,基极电位为2.2V,发射极为 1.2V,集电极为8V。由此说明该管已截止,根据2BG1基极电压降低的现象,怀疑输入耦合电容器2C\(_{2}\)(0.01μF)漏电,因为它与电感2L6串联接地,若此电容器漏电,会使2BG\(_{1}\)的基极电位下降,使输入的信号变形或消失。焊下2C2用万用表R×10k档测量,漏电阻值为40kΩ,换一只0.01μF瓷片电容器,2BG\(_{1}\)各极电位恢复正常,在基极注入信号,喇叭有强烈的噪声,屏幕有明显反应,插好高频头连线,收看正常。

例5:一台益华牌14英寸黑白电视机(采用μpc系列集成电路),光栅暗淡,无图象,屏幕上有回扫线。
分析与检修:屏幕上出现回扫线说明消隐信号没有输入,应重点检查消隐和视放电路。经检查消隐电路元件均正常。检查视放电路,测得视放管Q\(_{2}\)01(2SC1941)的集电极电位为32V,而正常时应为67V。视放管集电极电位降低通常有两种原因,一种是视放管损坏,另一种是100V中压降低。断开视放管集电极供电回路,测得100V中压只有70V。造成100V中压异常的原因可能有两个,一是行扫描电路有问题,二是中压整流电路有问题。用万用表交流档测量100V整流二极管D604的正极,有40V左右的交流电位,说明行扫描电路正常,故障在中压整流电路中,有关电路见图4。检查整流二极管D\(_{6}\)04没有问题,焊下滤波电容器C618(1μF/160V),发现充放电能力很弱,用1只4.7μF/160V电容器代换,100V中压恢复,故障排除。

例6:一台韶峰脚SF35-1U型黑白电视机,场不同步,图象向下翻滚。
分析与检修:调节场频旋钮能使图象稳定下来,但场幅压缩过多,调节场幅电位器4W\(_{2}\),场幅能展宽,但线性却严重变坏。根据此现象推断,可能是场频偏移,图象向下翻滚是场频过高的明显特征。该机的场振荡是采用集成电路μPC 1031 H2完成的,测量集成电路各引脚电位,只有第⑥脚异常,其它各引脚电位均正常,说明该集成电路没有损坏,故障在第⑥脚的外围电路中。有关电路见图5。调节4W1,场频能变化,表明4W\(_{1}\)以及串接的电阻正常。用万用表交流档测量第⑤脚上有脉冲电位,说明场同步信号脉冲已加到场振荡级,因此,故障肯定在4C4上。4C\(_{4}\)是振荡定时电容器,它的容量变化会影响场振荡频率,焊下4C4,发现其容量已甚微,换上新电容器,故障排除。(刘武)
