(轶奇)电源稳压集成电路是彩电中的易损器件。STR系列稳压器件在各种国产和进口彩电中的应用很广。但该系列中有的品种很难购到,爱好者往往用分立元器件组成相应电路来代换它们。本文对STR系列中几种常见品种的内电路、封装外形和代换要点等作些介绍,供爱好者维修时参考。
1.厚膜器件STR440
STR440的内电路见图1所示,图中各元器件的编号为笔者所注(以下均同)。STR440采用4脚(外壳算1脚)金属圆壳封装结构(见图1右边),类似于一般采用T03或F2型封装的大功率三极管。应用STR440电路的常见彩电有:日电牌CT-1401PDH、CT-1802PDH、CT-2001PDH、CT-20T774PDH型机,飞鹿牌CT-1401PDH、CT-1802PDH、CT-2001 PDH型,爱美牌D9121型、K3121S型等,其中有用56A245-2的,与STR440同。

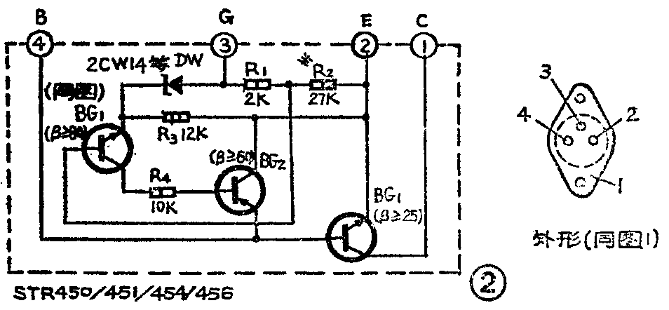
2.STR450、STR451、STR454、STR456
STR450/451/454/456 4种厚膜器件的内电路基本结构一样,见图2所示。它们也是采用4脚金属圆壳封装结构,与STR440相同,4种器件的各引脚功能也一致。它们之间的主要区别在于内电路某些元器件不同,因而适用的开关稳压电源也有所不同。但从通常的代换角度来看,用分立元器件装出的相应电路均可以代替这4种器件,一般只需将输出电压调至原机的规定值即可。

STR450/451/454/456应用在夏普C-1411DF、东芝C-2020F、南日NA-833及NA-813、日立CAP-169D、日立CPT-1468、日立CPT-1668(此三机采用日立NP80C机芯)、日立CEP-169D、NATIONDCS-405ME、珊瑚C-1411DF等牌号的彩电中。
3.STR5412
STR5412厚膜器件采用单列直插5脚封装结构其外形及内电路结构如图3所示。

应用STR5412电路的常见进口彩电主要是东芝近期产品,如东芝202E5C型彩电等。国产彩电中应用STR 5412的机型较多,有黄河HC47-Ⅲ、华日C47-3A、C47J-3A、C37J-3A、长风CF47-3、CF47-3A、宇航EC227D等机。
4.STR6020、STR6020S
STR6020和STR6020S是很相似的两种电源厚膜器件,其外形及内电路结构见图4所示。两者区别仅在外形及个别元器件参数上,一般不影响两者互换。

应用STR6020或STR6020S电路的主要是采用日立NP82C机芯的彩电。常见牌号有:日立CAP-161D、CTP-233 D、CTP-237D、CEP-321D、CEP-323D、CEP-327D、CTP-1838D、CTP-2038D、CRP-451D;金星C472、环宇CPS-182HB、CEP-321D、CEP-201HB、福日HFC-161、HFC-220、HFC-237、HFC-237R、HFC-321、HFC-321R、HFC-451等。
5.代换要点
以上介绍的几种厚膜器件均可用分立元器件组成相应的电路来代换。代换用的晶体管选择请参考附表,其它元器件型号或参数已标注在图1~图4中。代换时请注意下列要点:

(1)一般将除BG\(_{3}\)外的元器件均焊装在一块小印制板上,并固定在安装厚膜器件的散热板上。
(2)STR440/450/451/454/456中的BG\(_{3}\)最好选用T03或F2封装外形的大功率管;STR5412、STR6020/S中的BG3则最好选用塑料封装外形的大功率管。这样容易将BG\(_{3}\)安装到原固定厚膜器件的散热板上去,一般仅需钻几个孔即可。
(3)BG\(_{3}\)不宜用带有阻尼管或输入保护电阻的行输出管,否则会使开关电源不能正常工作或引起管子烧坏故障。
(4)代换后若输出电压有误差,可通过改变R\(_{2}\)的阻值来调整(可临时用电位器调试,但不得在通电时拆焊R2及其它元件)。
(5)在代换前必须查明引起厚膜器件损坏的原因并处理之,彻底清除电路中存在的隐患,否则新换上去的电路很可能再次被烧坏。