双门自激多谐振荡器
数字电路中,CP脉冲是作为标准信号和控制信号使用的,它应该是频率稳定、脉宽和幅度都严格相等的。产生这种脉冲信号的是脉冲信号发生器,也称脉冲振荡器。因为这种电路不需要外界的激励(触发)而能自动产生脉冲波,所以被称为自激振荡器。又因为一个脉冲波系列可以认为是由和这个脉冲的基本频率相同的正弦波以及许多和这个脉冲基本频率成整数倍的正弦波谐波合成的,所以脉冲振荡器有时也叫做多谐振荡器。
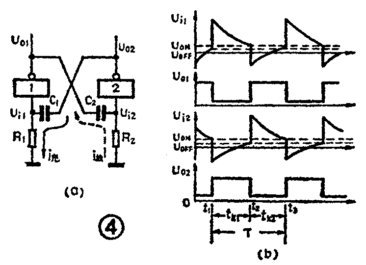
图4(a)是一个用两个与非门组成的脉冲振荡器,两个门之间用微分电路耦合。我们知道,TTL与非门和晶体管相仿,也有三种工作状态,即饱和状态、截止状态和放大状态。调节TTL与非门输入信号的电平或接地电阻可以控制它的工作状态。一般,当R<800欧时,与非门工作于截止状态;R>2.2千欧时,工作于饱和状态;R在800欧和2.2千欧之间时是工作于放大状态。图4(a)中的电阻R\(_{1}\)和R2就是控制两个门工作状态的电阻。为使电路容易振荡,R值取略小于800欧的值。电容C\(_{1}\)和C2的数值则按振荡频率的要求选定。

现在让我们来看看这个电路是怎样自动振荡起来产生一系列脉冲波的。当电源刚接通时,由于两个门都工作于接近截止的放大状态,因此只要有偶然的波动都会引起正反馈的连锁反应,使波动越来越大。例如因为两个门的工作电流不平衡,使得U\(_{i1}\)略大一点,于是就会形成以下的连锁反应:

即U\(_{i1}\)的增大反过来会使Ui1增加得更快,结果是使门1很快进入饱和,门2很快进入截止,电路进入第一个暂稳定状态。这时U\(_{o1}\)为低电平,Uo2为高电平,电路各点电压波形见图4(b)波形图t\(_{1}\)点。
但是这种稳定状态是不能持久的,它只是一种暂稳状态。因为是微分电路耦合,电路中的电容器要充电和放电,所以使电路在不断交替充放电过程中,使电路从一种暂稳态自动转入另一种暂稳态并持续不断地进行下去形成振荡。
从时间t\(_{1}\)开始,因为Uo2为高电平,要对微分电路中C\(_{1}\)充电,电流方向如图4(a),充电电流在R1上形成正脉冲,即输入电压U\(_{i1}\)。但这个充电电流是随时间减小,Ui1是逐渐降低的,当电压下降到等于开门电压U\(_{ON}\)时,门1就从饱和转入截止。与此同时,因为Uo1是低电平,C\(_{2}\)上已充的电荷要放电,电流方向如图4(a),放电电流在R2上形成负脉冲,即输入电压U\(_{i2}\)。电压Ui2将随时间逐渐上升,就在U\(_{i1}\)下降到约等于UON的同时,U\(_{i2}\)也上升到约等于UOFF,于是两门同时进入放大状态,又产生新的连锁反应:

其结果是很快使两个门的工作状态各自转向相反的状态,电路开始进入第二个暂稳态。这时U\(_{O1}\)为高电平,UO2为低电平。见波形图中t\(_{2}\)点。t1~t\(_{2}\)就是第一暂稳态时间tK1。
从时间t\(_{2}\)以后是第二个暂稳态,电路进入C2充电,C\(_{1}\)放电的过程,门2输入Ui2为一个正的尖脉冲,门1输入U\(_{i1}\)是负的尖脉冲。到时间t3时,电路又再次翻转回到第一个暂稳态。各点电压的波形见图4(b)中t\(_{2}\)~t3。t\(_{2}\)~t3就是第二暂稳态时间t\(_{K2}\)。电路就在这两个暂稳态不断交替转换下形成自激振荡。振荡器的输出波形见图中UO1和U\(_{O2}\)。脉冲的振荡周期T=tK1+t\(_{K2}\)。这种振荡器的频率范围可以从几赫~几兆赫。
双门自激脉冲振荡器产生的脉冲频率稳定度一般不高,为了取得高质量的标准脉冲,常使用晶体振荡电路。它是在双门自激振荡电路上,用一块石英晶体代替C\(_{1}\),把两个电阻从原来接地改为接到门的输出端。它的工作原理和原来的双门电路相同。石英晶体是一种稳定性极高的元件。如果选用的晶体的谐振频率是1兆赫,那么只有1兆赫频率的信号能顺利地通过两个门形成正反馈产生振荡,其它频率的信号则因晶体表现出极大的阻抗而无法通过。于是振荡器输出端便得到1兆赫的脉冲信号。晶体振荡器的频率稳定度极高,一般在10\(^{-}\)5。因为受晶体体积的限制,晶体振荡器产生的脉冲频率都比较高,通常是几百千赫到几兆赫。要想得到频率较低的标准脉冲,可以用脉冲分频器。
RC环形振荡器
另一种常用的脉冲振荡器是RC环形振荡器。它是用奇数个门首尾相连组成闭环形,环路中有一个RC延时电路,所以叫RC环形振荡器,见图5。

用三个非门组成闭环形,如图6(a),就成为一个环形振荡器。假定三个门的平均传输延迟时间都是t\(^{pd}\),那么从第一个门输入到第三个门输出共经过3t\(_{pd}\)的延迟。因为Uo就是U\(_{i1}\),环路中有三个门,所以输出端是每隔3tpd翻转一次,因此输出端得到的是振荡周期T=6t\(_{pd}\)的脉冲波,见图6(b)。这种振荡电路虽然简单,但因为tpd的数值一般是几十毫微秒,所以振荡频率极高,很少使用。

实际广泛使用的是在环路中插入RC延时电路的RC环形振荡器,如图7。它由三个非门组成,R\(_{s}\)是保护电阻,R和C的数值决定振荡的频率,并且还可利用R作频率微调。在这个电路中,R、C的延时时间远大于tpd,所以t\(_{pd}\)的时间可以忽略不计。

RC环形振荡器的工作过程是:当a点由高电平跳变到低电平时,b点电位立即由低变高,它一方面经门2使C点电位由高变低,另一方面又通过电容C耦合到d点,使d点电位也上跳到高电位,于是门3输出即e点电位暂时变低,开始了第一个暂稳态。但随着电容C充电电流的减少,d点电位逐渐降低,当降到等于关门电压U\(_{OFF}\)时门3又立即关闭,e点电位由低变高。这个高电平输出Uo反馈到输入端a成为门1的输入,使b点电位由高变低,d点电位又立即下降到较负的电压值,保证门3的输出暂时为高电平,这时开始进入第二个暂稳态。当电容C放电使d点电位上升到等于开门电压U\(_{ON}\)时,门3打开,e点电位又由高变低,输出电压又从第二个暂稳态跳变回第一个暂稳态。如此交替循环变化,形成连续的自激振荡。
RC环形振荡器产生的脉冲周期大约是:T=2.2RC。R的数值不能太大,对于TTL与非门,R的值应小于1千欧。RC环形振荡器的频率范围可以从几赫一直到几兆赫,因此被广泛使用。
复习思考题
1.从工作原理上比较单稳态触发器、脉冲振荡器和双稳态触发器的异同?
2.假设图7中RC环形振荡器的R\(_{s}\)=100欧,R=450欧,C=1000微微法,计算它的振荡周期和频率。
第7期答案

在计数工作前先将计数器清零,整个计数器成为000状态。输入第一个CP之前。Q\(_{0}\)=Q1=Q\(_{2}\)=0,Q-0=Q-\(_{1}\)=Q-2=1,因此在第一个CP后沿,C\(_{0}\)、C1和C\(_{2}\)先后翻转成1;第二个CP后沿,C0翻转,C\(_{1}\)、C2保持原态不变……;各个触发器变化状态见表1。从计数状态表可见,这是一个减法计数器,每来一个CP,计数器减1。(俞鹤飞)