业余爱好者手头的万用表大多数都不能测量交、直流大电流,笔者制作了一种万用表附加器能配合各种万用表测量满度值为0.1A、1A、5A和10A以内的交、直流电流,下面介绍基本原理和制作方法。
基本原理 仪器方框图如图1所示,它是利用被测交流或直流电流流过公共的分流取样电阻得到取样电压,然后将交流取样电压进行升压、整流并经校准调整器输出或将直流取样电压进行分压后输出送入万用表,万用表置于最小直流电流档,用以指示被测电流的大小。因为10A量程的交、直流分流取样电阻R\(_{1}\)为0.07Ω,所以其最大取样电压为0.7 V(10A×0.07Ω=0.7V),同理,因5A、1A和0.1A量程的交直流分流取样电阻R2、R\(_{3}\)、和R4分别为0.14Ω、0.7Ω和7Ω,所以其最大取样电压也为0.7V。最大取样电压设定为0.7V主要是考虑到个别万用表最小直流电流档满度电压值较高(比如108-1型万用表最小直流电流档满度电压值为0.65V)。由于各量程最大取样电压都为0.7V,所以当被测交流或直流电流恰好是0.1A、1A、5A或10A时,调整交流校准器W\(_{2}\)或直流校准器W1,使万用表指示满度值,则仪器已校准。

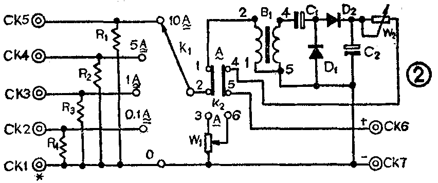
仪器电原理图如图2所示。测量各档直流电流时被测电流将分别流过不同的分流取样电阻R\(_{1}\)、R2、R\(_{3}\)或R4,在R\(_{1}\)、R2、R\(_{3}\)或R4上得到直流取样电压,此取样电压经量程开关K1和交直流转换开关K\(_{2}\)(置于“A”)加到W1两端,经W\(_{1}\)分压后送到输出插孔CK6、CK7;测量交流电流时被测电流同样流过R1、R\(_{2}\)、R3或R\(_{4}\),在R1、R\(_{2}\)、R3或R\(_{4}\)上得到交流取样电压,此取样电压经量程开关K1和转换开关K2(置于“A”)加到1:3的升压变压器B\(_{1}\)初级,由B1升压后再经D\(_{1}\)、C1和D\(_{2}\)、C2倍压整流在C\(_{2}\)两端取得两倍的直流电压,此电压经校准调整器W2和转换开关K2的4、5接点送到输出插孔CK6、CK7。交流取样电压经过升压和采用倍压整流主要是为了改善各量程低端的整流线性,提高测试精度。

取样电阻的制:作分流取样电阻R\(_{1}\)、R2、R\(_{3}\)和R4都用康铜丝制作。其中R\(_{1}\)长度为26.3cm,线径为φ1.5mm。R2长度为28.1cm,线径为φ1.1mm;R\(_{3}\)长度为29cm,线径为φ0.5mm;R4长度为26.6cm;线径φ0.15mm。将以上四根康铜丝两头各刮去漆皮5mm烫锡,再取长度约20cm、线径为0.6mm左右的漆包线一根全部刮去漆皮烫锡后剪成相等的八段,每段长约2.5cm作为引线,将上述四根康铜丝的两端分别与引线焊好。最后将以上三根康铜丝绕成螺旋形状,于是分流取样电阻基本做成。做好后的分流电阻用0.05级双电桥校验,若阻值偏高,可将康铜丝漆皮刮去少许然后烫锡直到阻值合格(误差0.5%)。如无条件,只要按上述要求将康铜丝长度量准确,做好后的分流器误差不大。
元件选择和安装:B\(_{1}\)为小型l:3升压变压器,也可用旧袖珍式晶体管收音机的输入变压器代替,原次级的1、2绕组作B1初级用,2、3绕组空着不用,原初级4、5绕组作B\(_{1}\)次级用,变比约为1:3,如图3所示。D1、D\(_{2}\)为2AP9;C1、C\(_{2}\)为1μF/10V电解电容器,W1和W\(_{2}\)都用小型实芯电位器,其中W1为10kΩ,W\(_{2}\)为470kΩ。


仪器的校准和使用方法:将量程开关K\(_{1}\)置于1A8恢茫Χ豄2置于“A~”位置、输出插孔CK6、CK7与万用表(+)、(-)插孔对应连接,万用表置于最小直流电流档(例如500型、MF30型方用表置于50μA档)。然后将三用表校验仪输出的1A交流电流输入仪器CK3和CK1插孔,调节交流校准器Wz,使万用表指示满度值(读10V交流电压刻度),则交流校准完毕;再将K\(_{2}\)拨至“A-”位置,三用表校验仪改为输出1A直流电流,调节直流标准器W1,使万用表指示满度值(读直流电流刻度),则直流校准完毕。然后用烙铁熔腊将W\(_{1}\)和W1封固。如无条件,也可用12寸~14寸黑白电视机的稳压电源的交流输入电流和直流输出电流做为校验电流。不过这种情况下需借助另一只万用表(比如MF 14型等万用表)做为标准表按图4所示接线,进行直流校准时标准表(MF14型)和附加器均置于5A直流电流档,标准表(一)端接至附加器CK4插孔,被试万用表置于最小直流电流档,A、B两点接至电视机直流保险座两端(摘下原2A直流保险丝),开启电视机调整直流校准器W\(_{1}\),使被试表的直流电流刻度与标准表指示一致即可。进行交流校准时标准表与附加器均置于1A交流量程,标准表(一)端改接至附加器CK3插孔,A、B两点改接至电视机交流保险座两端(摘下原0.5A交流保险丝),开启电视机调整交流校准器W2使被试表(读10V交流电压刻度,若无10V交流电压刻度则读其他交流电压刻度)与标准表指示一致。校验完毕后用腊将W\(_{1}\)和W2封固。最后将电路板装入机壳内。使用时先将仪器输出插孔CK6、CK7与万用表(+)、(-)插孔对应连接,万用表置于最小直流电流档,被测电流输入仪器公共插孔(※)和CK\(_{2}\)、CK3、CK\(_{4}\)或CK5插孔,量程开关施至相应位置,测直流电流时K\(_{2}\)拨至“A-”位置读万用表直流电流刻度;测交流电流时K2拨至“A~”位置读万用表交流电压刻度。测量误差视各万用表而异,一般测量直流电流误差在1%~1.5%之间,测量交流电流误差在2.5%~3.5%范围内。(颜荣)