在代换TC和被代换IC两者特性相差较大或IC外围电路没处理好等情况下,代换效果往往就不佳,轻者使音响整机原有的性能指标受到不良影响,重者会导致IC或其它元器件被烧坏。为此,本文拟对具体代换中需注意的要点、常见问题及其解决方法作些介绍。
1.增益太高或太低 增益太高或太低主要是对音频功放和前置放大IC或多功能IC中的音频放大电路而言的。对一台音响整机来讲,增益太高不仅会使输出信号产生畸变、音量调节不平滑,还可能引起电路自激;增益太低则会导致电路输出功率不足,音量电位器开到最大也达不到额定输出功率。对大多数IC来讲,都可通过改变外接负反馈电阻之比值使放大器的增益改变。

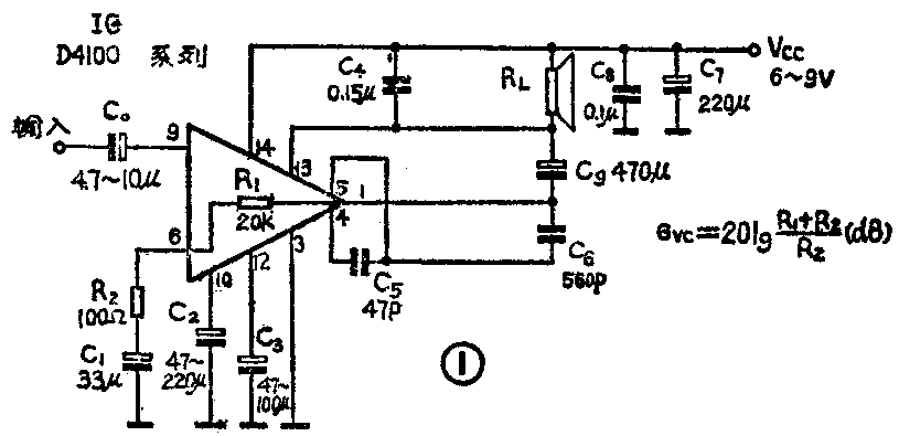
图1所示为常用D4100系列(相当于日产LA4100系列,含D4100、D4101、D4102、D4110、D 4112等)音频功放IC的典型应用电路。该系列中的几个品种都具有相似的结构,其开环增益也相近,典型值约为70dB;闭环增益G\(_{vc}\)由图1中的负反馈电阻R1和R\(_{2}\)之比值决定,比值越大,负反馈越强,Gvc便越小。由于R\(_{1}\)已集成在IC中,故调整Gvc通常用改变R\(_{2}\)阻值的方法来实现。以图1为例,因R2=100Ω,所以G\(_{vc}\)为:
G\(_{vc}\)=20lgR1+R\(_{2}\)R2=20lg20+0.1;0.1≈46dB
在D4100系列IC的有些应用电路中,由于前级电路的增益较高,降低了对功放IC的增益要求,因而R\(_{2}\)往往用330Ω左右,此时功放IC的Gvc约为36dB,比R\(_{2}\)为100Ω时降低了10dB左右。
有些音响IC的负反馈电阻已集成在芯片中,应用时一般不需外接负反馈电阻。如何在代换中调整这类IC的增益呢?下面以这类IC中两种较有代表性的品种来说明。
(1)图2所示为音频功放ICM51514AL的内电路框图,其负反馈电阻R\(_{1}\)、R2均集成在芯片上,应用时只要在⑤脚对地外接一个47~100μF的隔直电容器即可,G\(_{vc}\)约为54dB。对这种IC,若需调小Gvc,可在⑤脚中串入一个电阻,这样即相当于增大了R\(_{2}\),因而Gvc下降。如果需调大G\(_{vc}\),则可另设外接R'2,而不用芯片中的R\(_{2}\)。当然R'2应小于R\(_{2}\)(92Ω)才能使Gvc大于原典型值。外接R'\(_{2}\)应接在IC的负反馈备用脚(⑥)上,如图2中虚线所示,而⑤脚则空置不用。目前类似M51514AL的功放IC已有不少,如D4422(LA4422)、LA4137、LA4138等,选用时应予重视。

(2)LM386、LM388、LM389及LM390等音频功放IC的增益调整方法与一般音响IC有较大不同。图3示出了LM386的内部电路及典型应用电路,其①、⑧脚为增益调整端。当①、⑧脚悬置不用时,电路的电压增益G\(_{vc}\)为26dB(约20倍);当两脚接上10μF电容时,因1.35kΩ负反馈电阻被交流短路,故使负反馈减弱,Gvc便提高到约46dB(200倍);如果在10μF电容器上串接电位器或不同阻值的电阻,则G\(_{vc}\)就能在26dB到46dB的范围内任意调整或选定。LM388/389/390等IC的增益调整方法也相同。

尽管要调整音响IC的G\(_{vc}\)一般是比较方便的,但在IC代换中仍应避免Gvc偏离典型值较大。这是因为,调整G\(_{vc}\)实质是通过改变电路的负反馈量来实现的。
2.自激 自激是音响IC代换中最容易碰到的问题。下面仍以D4100系列功放IC为例来具体说明一般IC应用电路中的消振(自激)元件及其正确选用问题。
请看图4,与自激有关的元件均已作了注释。若电路产生高频自激,一般应先检查补偿电容器C\(_{5}\)、C6是否漏焊或失效。如没有问题,则看C\(_{4}\)及C8是否断路或失效。应该注意,C\(_{4}\)应选频率特性好的聚酯薄膜(CL型)等介质的电容器。如果出现低频自激,应重点检查C7是否脱焊或失效,其次是查C\(_{2}\)、C3有否脱焊或开路。

以上所述主要适用于改动较小的直接代换及原位代换。若在代换中对原电路及其连接线改动较大(如叠层、改位代换),则可能因分布电容增大等因素而使IC在消振元件均正常的情况下也产生自激。此时除了可尽量缩短连接线或改变电路元件及相关连线的位置外,对高频自激一般可试用适当增大补偿电容器C\(_{5}\)、C6的容量来消除。

上面所讲的内容对其它型号的音响IC一般也适用,只是有些IC应用电路少或多几个补偿或退耦元件罢了。但值得注意的是,有些IC因内电路结构上的特点(如采用内补偿、不用外接补偿电容等)。开环增益很大,或本身质量欠佳等因素而产生自激,用上述方法往往难以或无法克服,此时可试用以下办法予以解决:
(1)适当增大负反馈量、降低一些增益,方法见前述第1节。
(2)在IC两个输入端间或对地接一个200~1000pF的电容器。
(3)在IC的电源脚和地线脚间跨接一个0.1~0.47μF的无极性电容器(最好为聚酯电容器)。电容器的位置要靠近IC,并尽量剪短引线。
(4)在允许的范围内调整一下IC的电源电压,一般是降低电源电压。
(5)更换一块同型号IC。
3.输出功率不足 输出功率不足主要对音频功放IC而言。除了IC负载阻抗不合要求、IC质量太差(如静态漏电流大等)等几个很明显易查的因素会引起输出功率不足外,在IC代换中主要应防止电源电压太低而导致输出功率下降。有些爱好者在选用替换IC时往往只看其“额定输出功率”,而不注意或忽视了“电源电压”参数,这就可能造成输出功率不足。例如,一台立体声收录机的功放IC LA4555损坏,其电源电压V\(_{cc}\)=9V,输出功率典型值为2.3W×2。用输出功率等参数与它相近的D1263C2代换后,输出功率却只能达到1.5W×2左右。原因就在于D1263C\(_{2}\)要在VCC=12V时才能输出2W×2左右的功率。有些特性手册中往往仅注明输出功率,而无相应的V\(_{CC}\)参数,应该予以注意。若能在代换时找到并参考如图6所示的IC输出功率与VCC的关系曲线就能更好地避免出现输出功率不足的问题。

4.IC发烫及烧坏 造成IC发烫或烧坏的主要原因是使用条件超越IC极限参数。音响IC的极限参数有电源电压V\(_{CCM}\)、允许功耗PD、最大输出电流I\(_{OM}\)及工作、贮存温度等多项,在使用IC时均不能超越,否则IC即使不被烧坏,也会使特性变差或寿命缩短。对一般的IC代换来讲,与IC发烫或烧坏关系较大的是VCCM和P\(_{D}\)两项参数。当IC上实际施加的VCC大于或接近于V\(_{CCM}\)时,IC便极可能被烧坏。
在V\(_{CC}\)正常的情况下,IC发烫或被烧坏则基本上说明是器件功耗超过了PD。这大都是IC自激或过载引起的,可分别进行检查处理。应该说明,对需装散热器的IC来讲,其P\(_{D}\)与散热器密切相关,散热器面积太小、与IC接触不紧密(热阻大)或散热器质量不佳等均会使PD减小,这样IC就容易发烫或烧坏。因此代换时一定要按规定给IC配装合适的散热器。但是对功率IC来讲,若在工作中其管壳温度不超过70℃~80℃(约相当于普通人一个手指可接触3~6秒不离开的温度),一般还是允许的。

5.声音失真或出现爆裂杂声 在IC无自激、负反馈正常的情况下,这两种现象的出现大都系IC自身的毛病所引起,只需重换一块好的IC便可排除。值得注意的是,有些IC,如LA4200、LA4220、LA4230、LA4250、TBA820M等音响IC的输入级需外接偏置电阻,若漏接或电阻阻值不合适便会引起声音失真。例如有的TBA820M的应用电路中将偏置电阻R\(_{1}\)看成为输入电阻,用了10kΩ,结果就使输入管BG1、BG\(_{2}\)等工作于非线性区,信号难免产生失真。将R1改为100kΩ左右便可消除失真,如图7所示。若在代换中不能确定偏置电阻的阻值,应通过调试决定最佳值。(申沅)