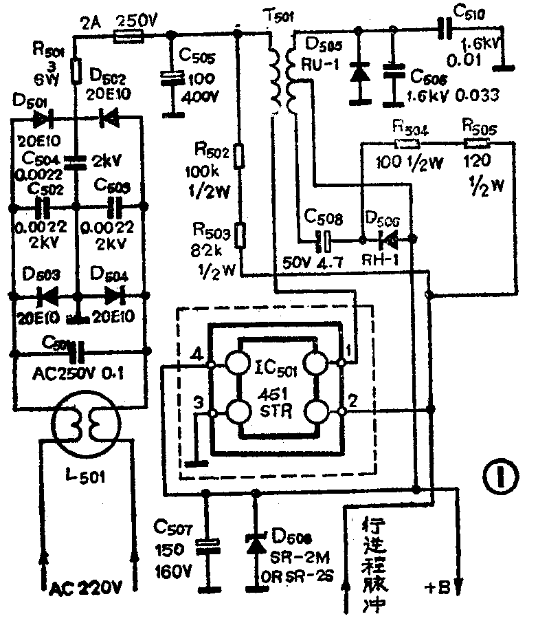
欧丽安(ORION)14英寸彩电的电源部分采用的是串联型开关稳压电源,电路原理如图1所示。

故障现象:开机后无光栅、无伴音,有吱吱声。开机检查电源电路,测量电源输出端+B电压为1.5V,正常时应为103V。焊下作过压保护用的稳压管SR-2M,发现已击穿,故判断输出端+B有过压现象。断开+B端的各路负载,再开机测量空载时的+B端对地电压,为103V,恢复到正常值,监测3小时未发生过压现象。接上各路负载电路,约2分钟后,光栅一会儿过亮,一会儿正常。当光栅亮度刺眼时,集成块LA7820中的X射线防护电路动作,光栅、伴音全无。此时+B端对地电压在102~220V之间摆动,若敲击机壳,故障偶尔又消失,但1~2小时后故障又出现。检查电源部分各元件及焊点均未发现有接触不良及虚焊现象。
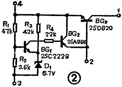
故障分析:从故障现象看,开关变压器、起动电阻R\(_{5}\)03、R502、续流二极管D\(_{5}\)05、激励电容器C508不可能损坏,否则+B端不会有103V电压输出。STR451是厚膜电路,其内部电路如图2所示。根据STR451内部电路分析,只有其中的取样电阻R\(_{1}\)与R2分压比不正常或损坏时,才可能出现过压现象。

检修:焊下厚膜电路STR451,用万用表电阻档测量,红表笔接③脚,黑表笔接④脚,测得③④脚间的阻值为50.5kΩ,用电烙铁加热管壳并敲击管壳,发现这两脚的阻值增大,有时增到无穷大,故判断STR451的③脚④脚之间元件有接触不良现象。因STR451内部的元件是封装在金属管内的一块瓷板上,故有修复的可能。用钢锯锯开管帽,如图3中的虚线所示,锯时注意不要损坏内部的元件,沿虚线锯开管帽整个周长的3/4。将管帽撬开,用放大镜检查,用针轻轻拨③脚和④脚的内部引线,发现③脚有一条引线脱焊,用25W尖头电烙铁将引线焊好,仔细检查确认管芯内无杂物后,把撬开的管帽重新复合,用环氧树脂封好锯缝。焊上厚膜电路STR451及稳压管SR-2M,开机后一切正常,再未出现过压现象。

检修此类过压故障,电源输出端最好接假负载,以免损坏行输出管及其它元器件。假负载可用40W、220V的白炽灯泡,根据灯泡的亮度变化可判断是否有过压现象。(吴庆远)