高频自激振荡电路
用两级CMOS反相器,外加一只电阻,一只电容构成的自激方波振荡器,想必各位读者都很熟悉。附图a、b所示是用74HC系列或74HCT系列CMOS反相器构成的高频自激方波振荡电路。当振荡频率高于10MHz时,需将R换为小电感,如图b。图a的频率为1/1.8RC,图b的频率可通过半可变的C调节。

车用保险丝指示电路
当汽车电路或其它电器设备发生故障时,首先应检查电路中的保险丝是否烧断。若电路中保险丝很多的话,这将是很费事的。采用图示电路,不用拆下查看即知哪只保险已烧断或接触不良。本电路正常工作时不耗电,通过调节R\(_{1}\)可使电路适合各种电压的设备及系统。

触摸门铃开关
要想将门铃开关改为触摸式的,既漂亮又合适的触片并不好找。若采用图示方式,只需一只TO—39型金属封装的NPN管,再加上一个金属垫圈,一段塑料管及一只电阻即可。


市电过零检测电路
如图所示的市电近零检测电路既安全又相当简单,该电路仅仅用了两只光电耦合器和两只电阻。两只光电耦合器中的LED(D\(_{1}\)、D2)反正并联并经R\(_{1}\)由市电供电,当市电为正或负半周时,D1或D\(_{2}\)导通发光,电流约2mA,使并联的T1或T\(_{2}\)导通,输出为低电平;当市电过零时,D1、D\(_{2}\)均不发光,T1、T\(_{2}\)不导通,输出为接近Ub的高电平。R\(_{1}\)、R2的值可依U\(_{b}\) 和光电耦合器的参数来选择,但R1的值不宜过小,以免LED过载损坏。

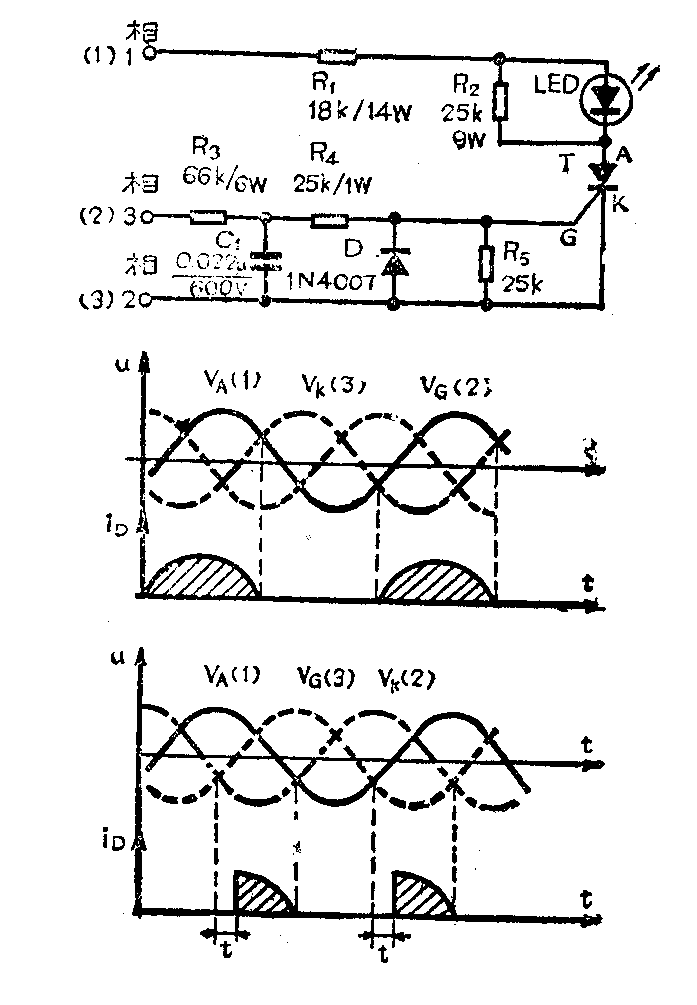
三相交流电检测电路
附图所示为一极简单的三相交流电检测电路,它只使用一只小电流单向可控硅为主要元件,用来检测接线时三相交流电是否缺相及相序是否正确,广泛用于工业电器设备的缺相、错相、报警等场合。本电路的独特之处是无需另备供电电源。当将相1、相3、相2线正确接至可控硅的A、G、K极时,由曲线图可知,可控硅的导通时间为半个单相周期,LED为普通亮度;若连线有误,例如图中括号所示的相1、相2、相3时,由另一曲线图可知,可控硅导通时间变短,LED亮度大减。图中的延时时间t由R\(_{3}\)、R4、C\(_{1}\)决定;当三相交流电中缺少任何一相或一相以上时,可控硅截止,LED熄灭。(以上均为赵九泷编译)
