本文介绍一种多路红外遥控电路,只需几个集成块,就可以实现编码和解码的功能。
该电路原理十分简单,其编码发送部分见图1。它实际上是一脉冲序列发生控制电路。每当键盘上有键按下时,该电路就将键盘状态转变为一串被调制了的脉冲束,由红外发光管输出。其重复频率为脉冲频率的1/32。每一串脉冲束中的脉冲数与当时按下的键相对应。若没键按下,则脉冲数最多,为16个。接收解码部分由光信号处理和脉冲计数、译码电路组成,见图2。每次脉冲束到来时,计数器都对光信号处理电路送来的脉冲进行计数,其每次计数后的状态由译码器解码后,输出至相应的输出端。


在编码发送电路中,来自脉冲发生器556的500Hz 的脉冲信号加到计数器4520的时钟输入端和二极管与门上。计数器在计数脉冲的下降沿被触发。每当计数器状态为10000时,由于译码器4515的Y\(_{0}\)输出端变低,R-S触发器被置位。由计数器第5位输出端和R-S触发器共同控制的二极管与门被打开。脉冲信号经二极管与门到达A点,同时,译码器的15个输出端的电平,根据计数器低四位的状态,依次由高变低,扫描键盘。若此时第I键已按下,则译码器上与第I号开关相接的输出端,在计数器计到第I个脉冲时变为低。该信号通过已连通的第I号开关,使R-S触发器复位为“0”,关闭二极管与门,阻止脉冲信号的通过。虽然计数器在计满16个脉冲时,其低四位成为0000状态,使译码器Y0输出为低,将R-S触发器又置位为“1”。此时计数器第5位状态已变为“0”,A点状态仍继续保持为“0”,脉冲信号还是被封锁。直至计数器状态再次变为10000时,二极管与门才能打开。这样,脉冲信号就在R-S触发器和计数器第5位共同控制下,变成了脉冲数与所按键相对应,以脉冲频率的1/32重复出现的脉冲束序列。该序列信号在两并接的与非门中经38kHz的载频信号调制后,被送往驱动三极管,由红外发光管输出。
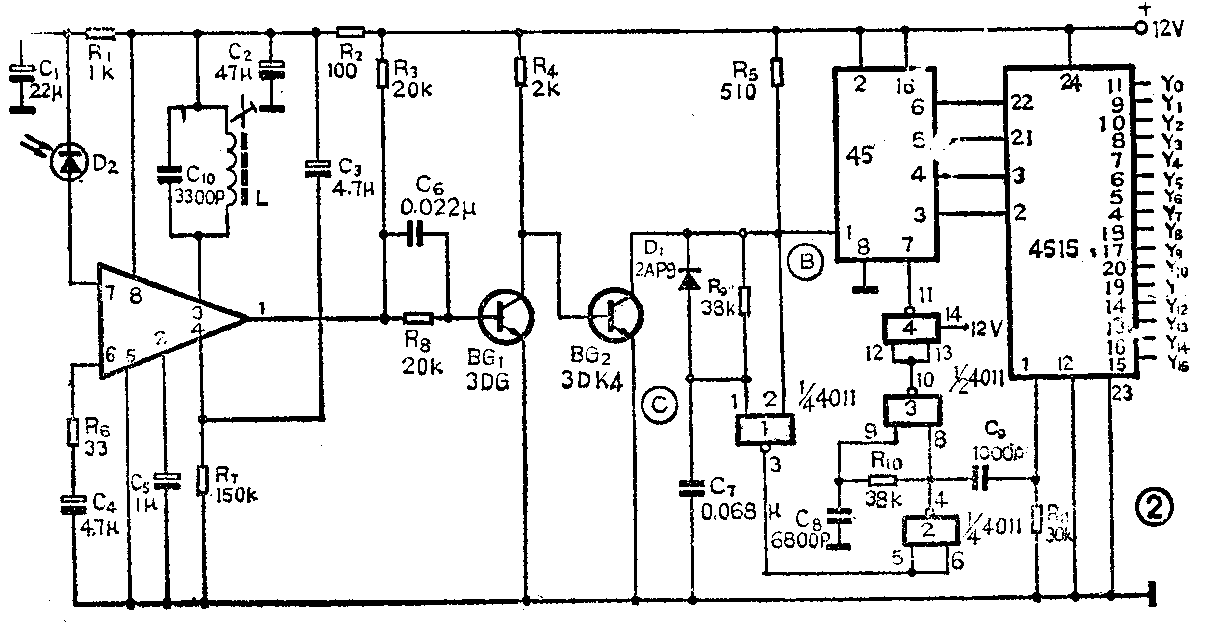
在接收解码电路中,调制光信号的接收处理部分,选用本刊1987年第9期介绍的前置放大电路。在B点当脉冲束没有到来时,一直维持高电平。C点为高电平,计数器输出为0000。当接收处理部分送来的频率为500Hz的脉冲束到达B点时,第一个脉冲产生的低电平首先通过四个与非门送至计数器清零端,使其处于等待计数态。同时,电容器C\(_{7}\)上的电荷通过二极管D1快速泄放掉,C点的高电平因此被拉至低电平。由于R\(_{9}\)、C7网络的时间常数对于频率为500Hz的脉冲来说太大,故在脉冲束到达B期间,C点电位始终不能被充至高电平,计数器保持计数状态。每一个脉冲的上升沿都使计数器触发加1,直到脉冲束结束。在脉冲束结束之后,B点将至少维持高电平达16个脉冲周期的时间。在这段时间里,C点电位将被充至高电平,使与非门2输出为高电平。该高电平信号通过C\(_{9}\)、R11组成的微分电路,加至译码器的锁存允许端,将计数器计得的脉冲数打入锁存器,经译码后输出。同时,与非门2输出的高电平信号经C\(_{8}\)、R10组成的积分电路稍加延迟后,将计数器清零,以等待下次脉冲束的到来。
在解码器的输出端,当编码器某一按键按下时,相应输出就由高变低,直到该键释放后才恢复为高电平。用这种输出方式,我们可以控制需要人工掌握控制时间的受控对象。比如在玩具小车上,可以选用1号键控制左转,用2号键控制右转,不按键则直行来完成小车的运行控制。如果我们要控制一个要求记忆控制状态的开关量,则需要在译码器的输出端加T触发器,每当按动一次控制键时,相应输出端产生的脉冲就使T触发器状态翻转一次,以实现开和关的功能。同样,我们还可以在解码器输出端接计数器和译码器,来实现一路通道依次控制多个受控对象的目的。该装置共有15路控制通道,每一路完都可以根据不同的受控对象选用不同的输出方式。(李龙)