现有的自行车速度计,有的采用机械式,有的采用磁电式。其共同的缺点一是模拟显示误差较大、不稳定;二是速度计本身靠自行车车轮机械摩擦传动,对轮胎寿命、行车速度都有一定影响。本文介绍一种数字式自行车用速度计,特点是采用非接触式红外光电检测,数字显示准确稳定。
工作原理
该速度计是利用透射式红外发射、接收对管对自行车后轮转速进行取样,从而测出自行车的行驶速度。国家标准规定普通自行车后轮辐条为40根,所以自行车每转一周,便由光电转换得到40个脉冲。自行车速度快,单位时间内的转数就多,单位时间内得到的脉冲数也多,这是一个线性关系。适当调整计数的时基闸门,使其在闸门时间内的计数脉冲在数量上正好与自行车的10倍公里数/小时相等,而在数码显示中将小数点定在第二位后面。这样就完成了辐条脉冲检测数与车速之间的转换。
下面以26"自行车为例介绍一下计数时基闸门的计算方法。26"自行车后轮车圈直径d=26×2.54=66.04(cm)。考虑到轮胎充气状态,取d=68cm。车轮周长C=π·d=2.136m。设车速为36km/小时,即10m/秒,相当于车轮转速为4.68转/秒。所以在1秒时间内可得到4.68×40=187个脉冲。要想让数码管显示36.0,则计数时基闸门T=360/187≈1.922秒。仿此可算出任意车型应该调定的计数时基闸门。
电路介绍
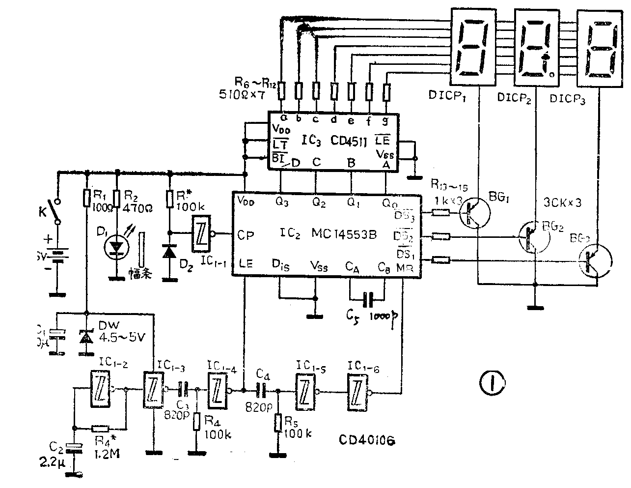
速度计电路见图1。电路的核心是一片MC14553B3位BCD计数器IC\(_{2}\)。其内部三个负沿触发的BCD计数器以同步工作方式级联在一起,每个BCD计数器输出端都有一个四位锁存器,通过闩锁使能(LE)控制,可以将任意时刻的计数值加以储存。锁存器与多路转换器配合,完成三组BCD计数器计数值的分时输出(Q0~Q\(_{3}\))。数字选择输出(DS1-~DS\(_{3}\)-)提供与分时输出同步的控制信号,形成动态显示方式,低电平有效。由于循环扫描周期远小于人眼视觉暂留时间,所以在输出端加译码、显示后可得到稳定的数字显示。

芯片内部设置了一个扫描振荡器产生扫描时钟脉冲,通过扫描器驱动多路转换器完成分时输出。扫描振荡频率可由芯片C\(_{A}\)、CB脚所接的电容C来设定。使用内时钟时,电容C容量可按下式选取。扫描频率f\(_{OSC}\)(Hz)=1.2/C(μF)。一般取C=1000PF。时钟输入端设置了脉冲整形电路。因此对输入计数脉冲的边沿无特殊要求。当Dis端为高电平时,将输入计数脉冲禁止,从而保留了原来的计数值。当MR为高时,扫描荡被禁止,扫描器被置位,数字选择输出DS\(_{1}\)-DS3-均输出高电平,以使显示器件消隐,同时还将3组BCD计数器全部清零。
采用MC14553B计数器,对于3位数字显示,只需用一位译码器。本装置译码器采用一片CD4511BCD一锁存/7段译码/驱动器。其输入来自IC\(_{2}\),输出驱动三位共阴LED数码管。R6~R\(_{12}\)是LED限流电阻。BG1~BG\(_{3}\)分别由IC2的DS\(_{1}\)-~DS3-控制实现3位数码管的分时显示。
自行车行驶时,后轮辐条不断遮断D\(_{1}\)射向D2的红外光线,经D\(_{2}\)进行光电转换,产生转速脉冲,再由IC1-1施密特门整形输出,做为IC\(_{2}\)的计数脉冲。IC1-2组成多谐振荡器,产生计数时基闸门。IC\(_{1}\)-3做缓冲放大。R4、C\(_{3}\)、IC1-4产生锁存脉冲。R\(_{5}\)、C4、IC\(_{1}\)-5、IC1-6产生清零脉冲。
计数时基闸门的精确与稳定的程度决定整个速度计的精度,因此为IC\(_{1}\)特别增加了由R1、C\(_{1}\)、Dw 组成的稳压电路,以使计数时基闸门不受电源电压变化影响。由于使用了3只数码管,尽管分时输出使耗电大大降低,但工作时总电流仍有几十毫安。所以加装了电源开关K。需要观察速度时,可将K合上,一般行驶时将K断开,以延长电池使用寿命。
元器件选择、调试及安装要点
D\(_{1}\)选用工作电流大于20mA的红外发光管。D2 选用型号为CQY37N的红外光敏二极管。该管为φ3平头黑蓝色封装,只透红外光,可有效避免杂散光干扰。采用国产光放管亦可,只是要注意调整R\(_{3}\)以及加装红外滤光片。DW稳压值为4.5~5V。IC1选用一片CMOS六施密特触发器CD40106;IC\(_{2}\)除采用MC14653B外,还可采用CD4553。IC3选用CD4511。BG\(_{1}\)~BG3选3CK型。3只数码管选红色共阴极的。电源采用4节5号电池。
电路中需要调试的元件只有两个。调R\(_{3}\)使辐条遮挡红外光时,IC1-1能稳定地工作。调R\(_{4}\)以得到精确的计数时基闸门。实际调试中可在IC2的C\(_{p}\)端送入500Hz脉冲信号,调R4使数码管显示962即可。当然,这是仅对26"车而言,对其它规格的自行车,需另行计算。或者直接从IC\(_{2}\)的CP端输入1kHz信号,此时数码管应显示925。这种状态已有一位溢出。注意实际焊接时,不要忘记将第2位数码管的小数点位通过一个510Ω电阻直接接至电源正端。
速度计的显示控制、电源部分的安装相当简单。可用单面敷铜板折焊成一长方体小盒,将除D\(_{1}\)、D2之外的所有其它元器件装在盒内,用卡箍将盒固定在自行车的车把等便于观察处。
红外传感部分的安装比较费事。首先要做一个与自行车锁形状类似的卡子,中间打眼,用以与车锁固定在同一螺钉上。两头弯成直角并互相平行对齐。D\(_{1}\)、D2装于管座之内再固定在卡子两头。这样做的好处是可以事先将管座对得很准。
图2是印制板图。考虑到读者手中数码管的型号、形状,引脚不一,故未将数码管设计安装在板上,可用引线方便地连接。(冀南蔚)
