今天,功放的种类已花样百出,形形色色,这些功放在做性能测试时,有的指标出色,有的性能价格比很高,有的体积小耗电省而功率大,然而几乎每个音响爱好者都发现,一旦以放音实际比较时,最古老、最低效率、最耗电而最笨重的纯甲类功放仍然拥有最吸引人的音质。
这里介绍的20W×2纯甲类功放,虽然只有20W功率输出,但其音质格外柔美圆润,起落有致,层次分明,声场稳定,与50W×2甲乙类功放相比绝不逊色。
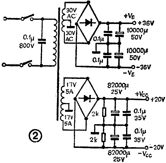
制做及调试方法如下。
应严格筛选元件,差分对管BG\(_{1}\)~BG4及输出管BG\(_{7}\)~BG10要对称,且V\(_{be}\)也应相近。元件越对称,电路越好调整。
整机接地要注意,应严格由输出到输入的次序,机壳应在输入端或输出端一点接地,输入与扬声器端子的地线不能与机壳相碰,否则会产生莫名其妙的交流声。
电源及喇叭线应选用截面足够的优质导线,注意末级的电源要取自滤波电容器而不应取自整流桥。
电源变压器可用自耦变压器改绕,原有绕组(220V)不必改动,在其上垫绝缘材料后再用φ1.5mm左右漆包线穿绕即成次级。每伏匝数可用一穿绕3匝左右的导线两端电压换算。变压器功率应不小于250W。滤波电容器不宜小于22000μF。
整机装配完成后可开始调试。先不装MOS功率管,将5kΩ电位器调至阻值为零(最小)。而后接通推动级电源±VE,此时5kΩ电位器任一端对地电压越接近零说明电路对称性越好。如果该电压绝对值超过6V,说明对称性差。这样的情况一是输出端电位会较高(几十至上百毫伏),更重要的是开环失真势必很大,对整机音质有不良影响。应更换管子和严格筛选晶体管、电阻。
一切无误后接上MOS功率管及电源,调整V\(_{R}\),使R8上压降为110mV左右,稍候几分钟管壳会发热,再测一下R\(_{8}\)上压降,调VR使之再次稳定在110mV,功率管发热是纯甲类的特点,只要温升不高于130℃便无需理会。调好后的功放,其静态中点零电位约十余毫伏。
接下来便可实际试听,用Technics XL-P5小型激光唱机作声源,推动一对倒相式4英寸低音、1英寸高音小型音箱,音色十分细腻,力度充足。播放香港试音天碟时,民乐《鸟语春雷》一段定位清晰准确,瞬变极佳。
《Co Co Jam》一段钹声余音缭绕,鼓声强劲。有轨电车一段冲击感很有力度,证明本功放确实不同凡响。
虽然功放音质已比较理想,但仍有进一步改善的余地,下面择其要点介绍几条,有兴趣的读者可以尝试。
① 前级±36V改用优质稳压电路供电。
② 当电路对称性足够好时(即不接MOS功放管对V\(_{R}\)两端对地电压接近零),可取消负反馈电容(100μF×2),使本机成为DC功放。
③ 在18V和4V稳压管两端并上100μF电容。
④ 在Q\(_{1}\)~Q4每个管发射极串入-200Ω电阻,可明显改善开环特性。(马宁)

