多功能显示器
NV-450型录象机前面板的右上角有一多功能显示器,录象机在工作时操作各种功能键,显示器上都相应地显示各种字符或数字。下面简要介绍多功能显示器的工作原理。
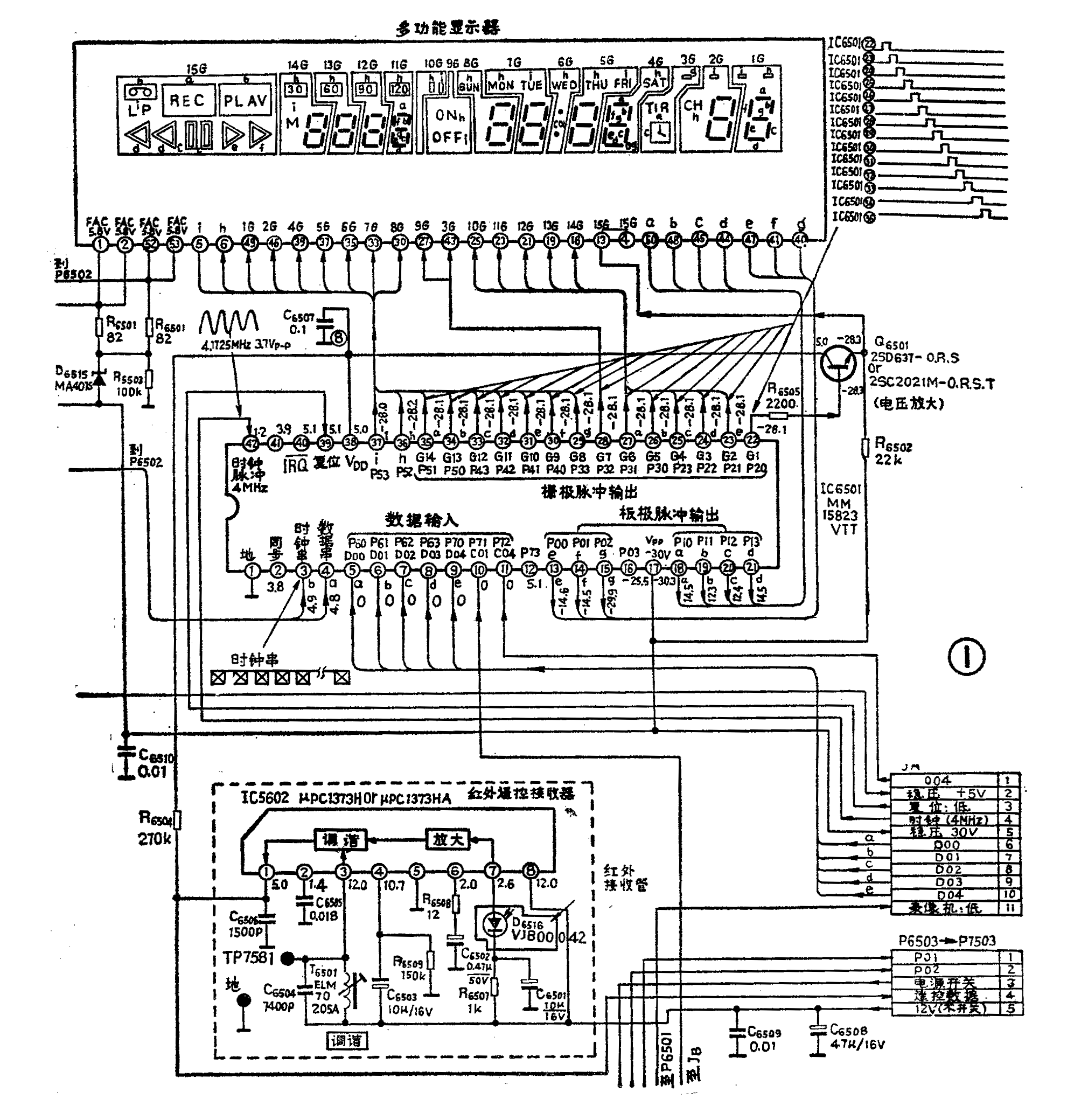
多功能显示器由显示管和驱动集成电路IC\(_{65}\)01组成,如图1所示。显示管由15个小显示屏组成。每个小显示屏都有相应的板极(其代号为a、b、c、d、e、f、g、h、i)和栅极。IC6501的22~35脚输出如图1右上角所示的正极性脉冲信号,分别加到15个小显示屏的栅极(1G~15G其中28脚与3G和9G相连)。IC\(_{65}\)01的22脚输出的脉冲信号要经Q6501电流放大后加到第15个小显示屏的栅极(15G),每个栅极的脉冲电压是顺序地加入,因此各显示小屏是间断发光的,由于脉冲信号频率选择合适而使人眼睛感觉出来是连续发光。

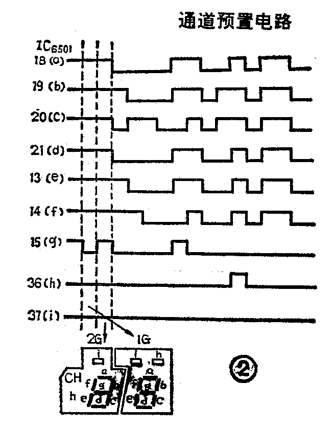
多功能显示管的15个小显示屏的栅极始终顺序地加入正极性脉冲电压,当某些板极上也加入正极性脉冲时,则小显示屏的相应部位就会发光闪亮。板极脉冲从IC\(_{65}\)01的13~15脚、18~21脚、36脚和37脚输出,分别从多功能显示管的50脚、48脚、40~45脚、5脚和6脚输入,分别加到各个板极。在实际工作中显示屏上板极所加的脉冲电压是随着录象机工作状态的变化而改变的。图2示出了录象机在某个工作状态时IC6501输出的板极脉冲电压波形。图中示出1G管在小显示屏上显示出的数字为“3,而2G管在小显示屏显示出的数字为“4。从IC\(_{65}\)01输出的板极脉冲电压受到机械控制电路中微处理机IC6001(本文图中未标出)及图3中微处理机IC\(_{75}\)01的控制。前者以数据串的型式经过插件P6502加到IC\(_{65}\)01的第3脚;从图3IC7501的17~21脚输出的数据信号经J\(_{A}\)插头的6脚~10脚加到IC6501的5~9脚,然后由IC\(_{65}\)01内部电路将这些数据信号变为相应的板极脉冲信号。

从图1看出多功能显示器的15个小显示屏中1G管和2G管作电视频道选择显示,3G管作定时录象(OTR)工作显示,4G~8G管和10G管做时钟的时、分、秒、星期和定时记录时所预置的时间显示,9G管作定时记录的开关(ON或OFF)显示,11G~14G管是记数器显示和等待记录的时间显示。15G管显示的内容最多,有磁带插入显示,快进、倒带、重放、记录和暂停/静象等显示。另外1G管还作潮湿告警显示,当录象机工作环境潮湿时,1G管显示出“5字样,同时整机停止工作。从电源供电电路来的交流5.8伏电压(图1左上端)经多功能显示器的1脚、2脚、52脚和53脚加到显示屏的直热式阳极。由微处理机IC\(_{75}\)01的37脚和25脚出的4MHz的时钟脉冲和复位脉冲(参看图3)经插座JA分别加到IC\(_{65}\)01的42脚和39脚,使IC7501和IC\(_{65}\)01两部分集成电路同步工作。从机械控制电路来的时钟串信号加到IC6501的3脚使IC\(_{65}\)01与机械控制部分的微机IC6001两部分电路同步工作。
通道预置电路
它由一只微处理机IC\(_{75}\)01、红外线遥控接收器和电视调谐器控制电路等组成,如图1图3所示。

(1)红外线遥控接收器:红外接收管D\(_{6516}\)安装在前面板上,它接收从红外遥控发射器发射出来的信号,送到IC6502的7脚,经放大和调谐之后从1脚送出数据串信号,经插件P\(_{65}\)03和P7503加到红外遥控信号处理电路IC\(_{75}\)04的11脚(见图3)。IC7504内电路将从红外线接收器收来的以时间为间隔的数据串信号变成适应录象机内部电路工作需要的数据信号,又从它的16~21脚送出。从IC\(_{75}\)04的16脚送出的信号分两路,一路经与IC7505的13脚和14脚之间相接的缓冲器及插头P\(_{75}\)04的3脚送到机械控制部分微处理机IC6001的27脚(输入口P\(_{21}\))做为遥控器的方式选择信号。另一路加到开关管QR7512的基极。从微处理机IC\(_{75}\)01的13脚来的负极性扫描脉冲经D7524始终加到QR\(_{7512}\)的发射极。当从IC7504来的信号加到QR\(_{7512}\)的基极时,该管导通将IC7504来的信号经QR\(_{7512}\)送到微处理机IC7501的6脚(输入口A\(_{13}\))。微处理机IC7501将根据遥控器的输入信号发出相应的指令信号指挥这部分工作。同样,IC\(_{75}\)01的13脚送出的负极性脉冲经D7519~D\(_{7523}\)分别加到Q7507~Q\(_{7511}\)的发射极,只要录象机工作,负极性扫描脉冲始终加入这些管子的发射极。当遥控器的信号从IC7504的17脚~21脚输出加到Q\(_{75}\)07~Q7511的某只晶体管的基极时,遥控器的信号能够通过这些晶体管加到微处理机IC\(_{75}\)01的某一个输入口。微处理机根据这些信号发出相应的指令去控制录象机工作。
(2)电视调谐器控制电路:NV-450型录象机具有电视接收系统,能够接收和录制电视节目。其中高频调谐器和中放电路与普通电视机相同,这里不再赘述。下边仅对电视调谐器控制电路作一介绍。
电视调谐器控制电路由电压合成器IC\(_{75}\)02和外围电路组成(见图3)。它产生的0~30伏的调谐电压从2脚输出经插件P7501到电视调谐器去。通常调谐电压(BT电压)经过IC\(_{75}\)02的内部电路和从5脚加入的预调电压相比较后,从IC7502的6脚送出CH信号(当5脚电压大于2脚电压时6脚为高电位),加到微处理机IC\(_{75}\)01的12脚;从IC7502的7脚送出CL信号(当5脚电压小于2脚电压时7脚为高电位),加到微处理机IC\(_{75}\)01的11脚。然后IC7501的内部电路将调谐电压以数码信号形式从13~16脚输出,又经IC\(_{75}\)03的13~16脚输入而存储起来。在接收电视节目录象时,由微处理机IC7501控制将已存储的数码信号读出,从IC\(_{75}\)01的2脚送出(调谐器数/模变换输出)正极性的脉冲信号(该脉冲的后沿可由预置电位器VR7505调节)。该脉冲加到IC\(_{75}\)02的19脚经内部放大后从20脚送出,经过低通滤波器变为直流电压又从它的1脚输入,该电压经IC7502内部放大从2脚输出BT直流电压送到电视调谐器中的变容二极管进行电调谐。
当录象机电源开关置“ON”位置时微处理机IC\(_{75}\)01就开始工作,始终从IC7501的13~16脚送出负极性的扫描脉冲,其中从15脚送出的脉冲到D\(_{75}\)05~D7507的负极。当将电视节目预置开关SW\(_{75}\)02打到“开(ON)”的位置,IC7501的15脚的负极性扫描脉冲通过SW\(_{75}\)02加到IC7501的8脚(数据输入口)和存储器IC\(_{75}\)03的1脚。微处理机IC7501收到从8脚来的脉冲信号后确认需要预置并允许进入预置方式。置波段开关到VL、VH或U的某一位置时,从IC\(_{75}\)01的15脚来的负极性扫描脉冲经D7505和SW\(_{75}\)01加到IC7501的9脚或10脚。当波段开关打到V\(_{R}\)位置时,IC7501的9脚和10脚没有负极性扫描脉冲。同时波段开关的选择的内容从IC\(_{75}\)03的2、3脚送入到存储器内。当按下存储/自动频率控制键(MEMORY/AFC)SW7503时,从微处理机IC\(_{75}\)0115脚来的负极性扫描脉冲加到IC7501的4脚(输入口A11),此时微处理机IC\(_{75}\)01确认电视节目已经调谐好,一方面让存储器将已调好的调谐电压以数码形式储存起来;另一方面命令调谐器进入自动频率控制状态。当录象机的高频接收部分进入自动频率控制工作状态之后,如对所调谐的电视接收节目不满意时,可按下开关SW7505或SW\(_{75}\)04,此时从微处理机IC7501的14脚来的负极性脉冲经D\(_{75}\)08和这两个开关加到IC7501的3脚或4脚,微处理机内部电路将对调谐电压(BT)微调,直至收到满意的电视节目为止。
其它电路
图3中Q\(_{75}\)01和Q7802组成+30伏稳压电路给电压合成器IC\(_{75}\)02提供工作电压。Q7502的基极和发射极之间接了一只发光二极管D\(_{75}\)01,当+30伏稳压电路正常工作时它始终发光 Q7519和Q\(_{752}\)0用来产生集成电路IC7501、IC\(_{75}\)04和IC6501所需要的正确复位电压。复位电压的高低可以由与IC\(_{75}\)02的9脚相连接的VR7502调节。从IC\(_{75}\)02的12脚输出复位低电平加到QR7519的基极,QR\(_{7519}\)的集电极送出复位高电平加到QR7520的基极,最后从QR\(_{752}\)0的集电极送出复位时低电平。由QR7518和Q\(_{75}\)03组成的稳压电路为IC7503提供近似-30伏电压。由QR\(_{75}\)01、QR7515和D\(_{75}\)04组成自动频率控制(AFC)指示电路。QR7515的基极经R\(_{7526}\)接+12伏电压而具备了导通条件,当从微处理机IC7501的30脚送出的AFC指示灯亮的低电平之后,QR\(_{75}\)01导通也使QR7515和D\(_{75}\)04导通,此时发光二极管D7504亮光说明整机AFC电路已经工作。开关管Q\(_{75}\)03~Q7506是开关管,4只晶体管的发射极分别经二极管D\(_{7515}\)~D7518接到IC\(_{75}\)01的14脚,即从IC7501的14脚送出的负极性扫描脉冲始终加到4只晶体管的发射极。当从机械控制电路的微处理机IC\(_{6}\)001来的“通道锁定”信号加到QR7503的基极使该管导通时,微处理机IC\(_{75}\)01的输入口B11(即IC\(_{75}\)01的8脚)接收到“通道锁定”的指令后,使录象机处于通道锁定状态。(葛慧英)